GM Service Manual Online
For 1990-2009 cars only
Makes
🢒
Cadillac
🢒
2004
🢒
DeVille
🢒 Steering Controls Schematics
Steering Controls Schematics
Master Electrical Component List
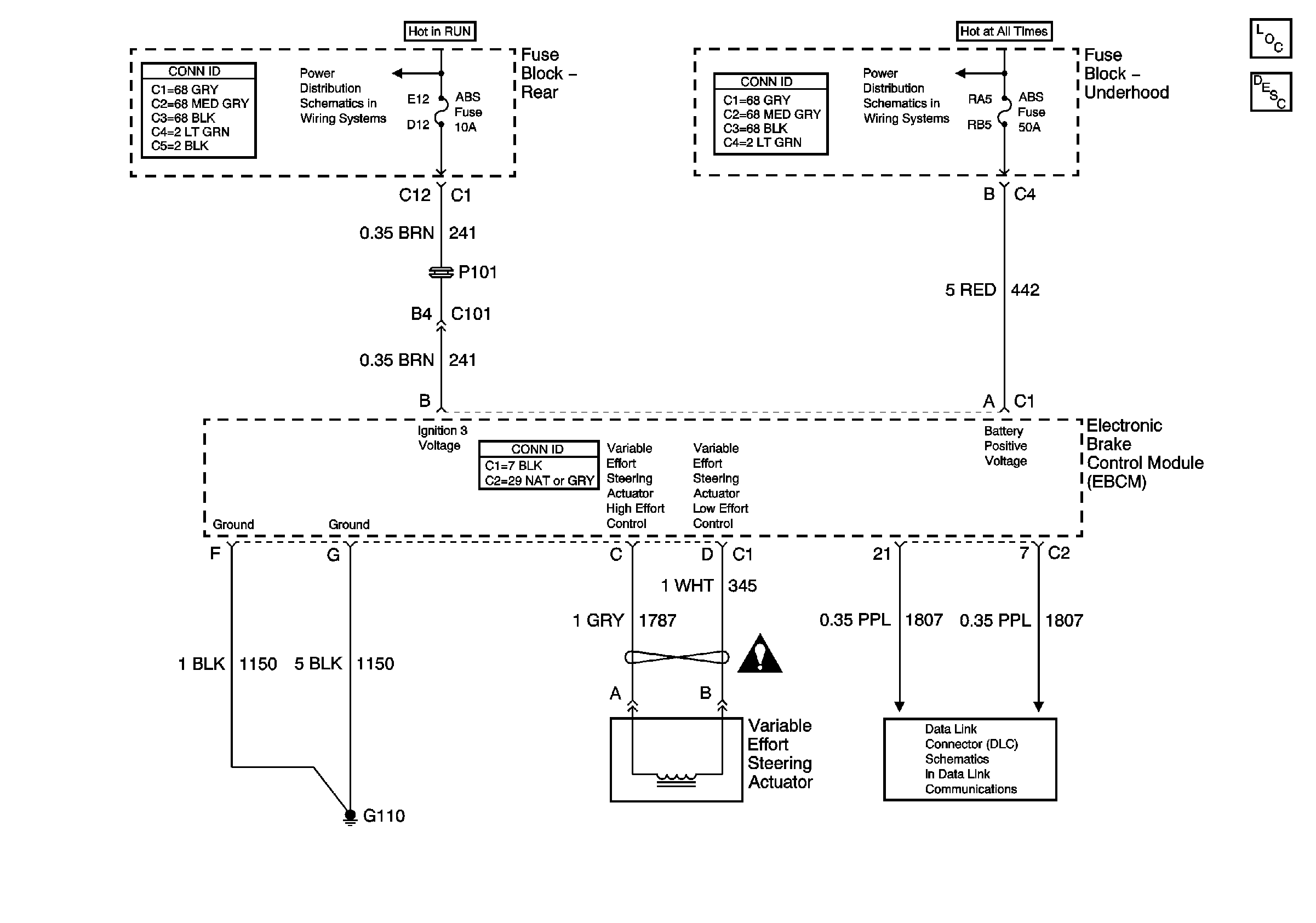
Variable Effort Steering System Description and Operation
Class 2 Serial Data (1 of 3)
Rear Fuse Block- ELC, NIGHT VISION, HVAC, ABS Fuses
Underhood Fuse Block- ABS, AIR PUMP, C/LTR 1, and C/LTR 2 Fuse
Steering Assist Schematic Icons