GM Service Manual Online
For 1990-2009 cars only
Makes
🢒
Cadillac
🢒
2004
🢒
DeVille
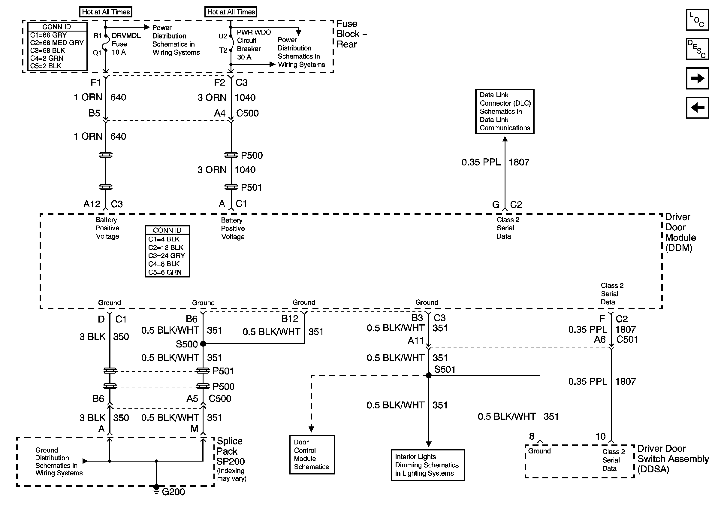
🢒 Driver Door Module (DDM) Power, Ground, Inputs and Outputs (1 of 2)
Driver Door Module (DDM) Power, Ground, Inputs and Outputs (1 of 2)
Driver Door Module (DDM) Power and Ground Input and Outputs 1 of 2
Master Electrical Component List
Power Door Locks Description and Operation
Driver Door Module (DDM) Inputs and Outputs (2 of 2)
Driver Door Switch Assembly (DDSA) Internal Details w/ Memory (A45)
Rear Fuse Block- HVAC BLO, DRV MDL, PASS MDL, PWR TT, HTDST LR, HTDST RR, HTDST RF, DIM Fuses
Rear Fuse Block- PWR WDO Circuit Breaker
Class 2 Serial Data (3 of 3)
G200
Driver Door Switch Assembly (DDSA) Power, Ground, Inputs and Outputs
Front Door Dimming