GM Service Manual Online
For 1990-2009 cars only
Makes
🢒
Cadillac
🢒
2004
🢒
DeVille
🢒 Right Power Window
Right Power Window
Right Power Windows
Master Electrical Component List
Power Windows Description and Operation
Driver Power Window
Left Power Window
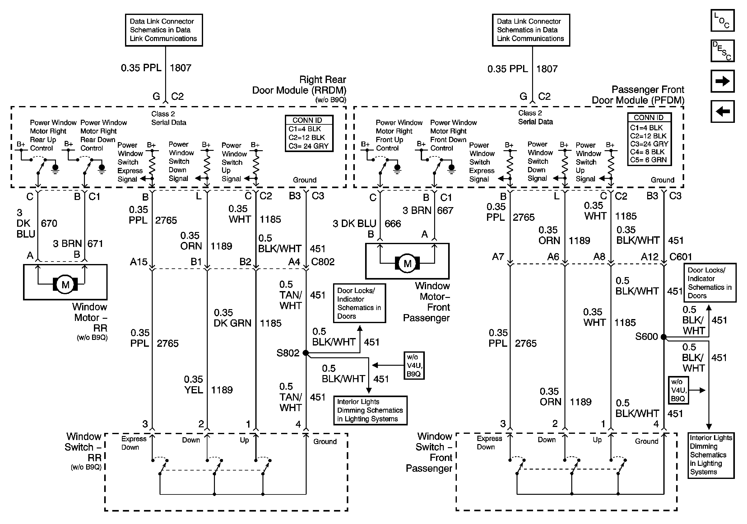
Class 2 Serial Data (2 of 3)
Class 2 Serial Data (2 of 3)
Right Front Door Power Door Lock
Front Door Dimming
Rear Door Dimming
Right Rear Door Power Door Lock (w/o B9Q)