GM Service Manual Online
For 1990-2009 cars only
Makes
🢒
Cadillac
🢒
2004
🢒
DeVille
🢒 Power Lumbar Seat
Power Lumbar Seat
Power Lumbar Seat
Master Electrical Component List
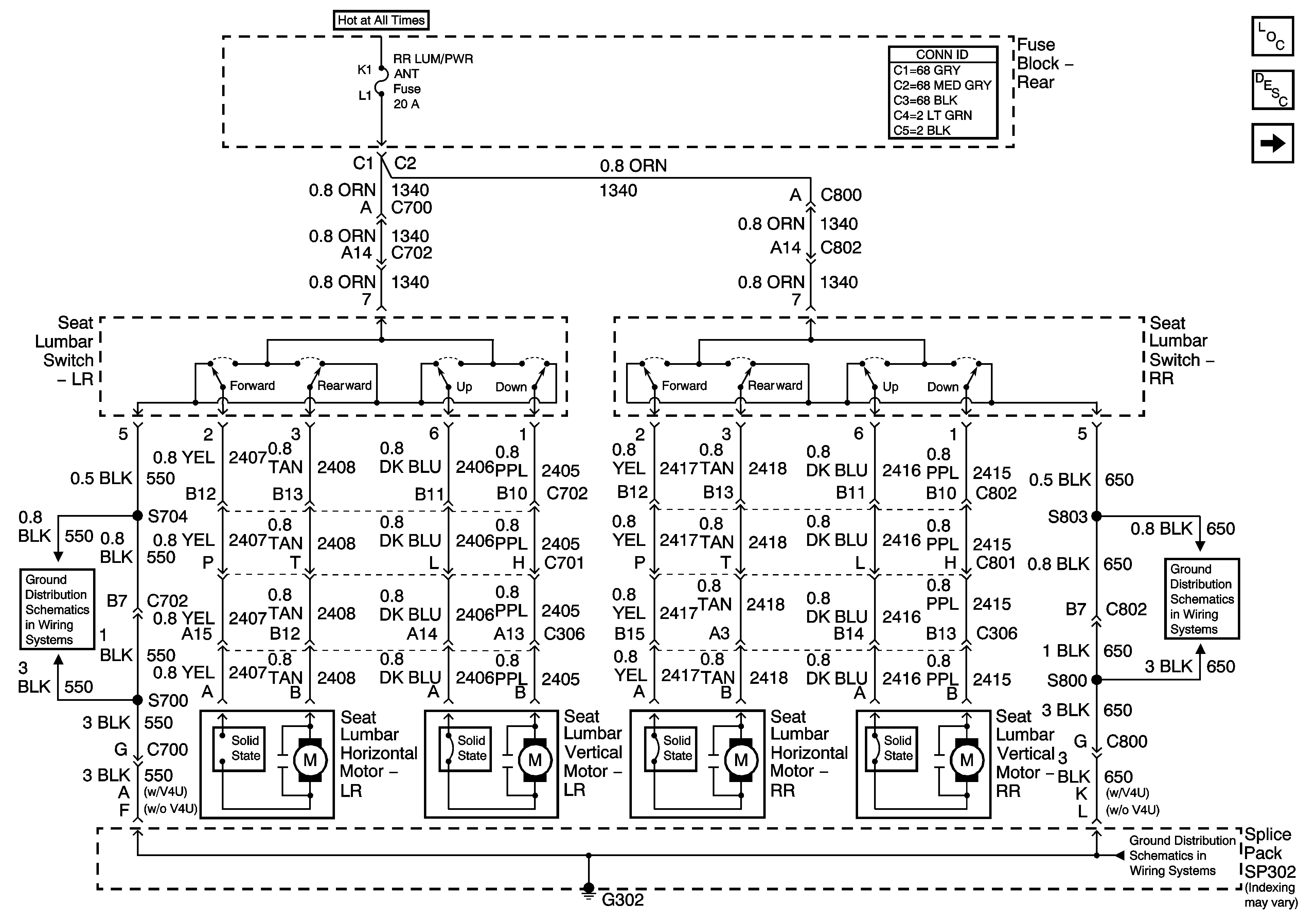
Lumbar Support Description and Operation w/o Memory-A45
Left Rear Heated Seat Switch (w/ KA1)
G302 (1 of 3)
G302 (1 of 3)
G302 (1 of 3)