GM Service Manual Online
For 1990-2009 cars only
Makes
🢒
Cadillac
🢒
2004
🢒
DeVille
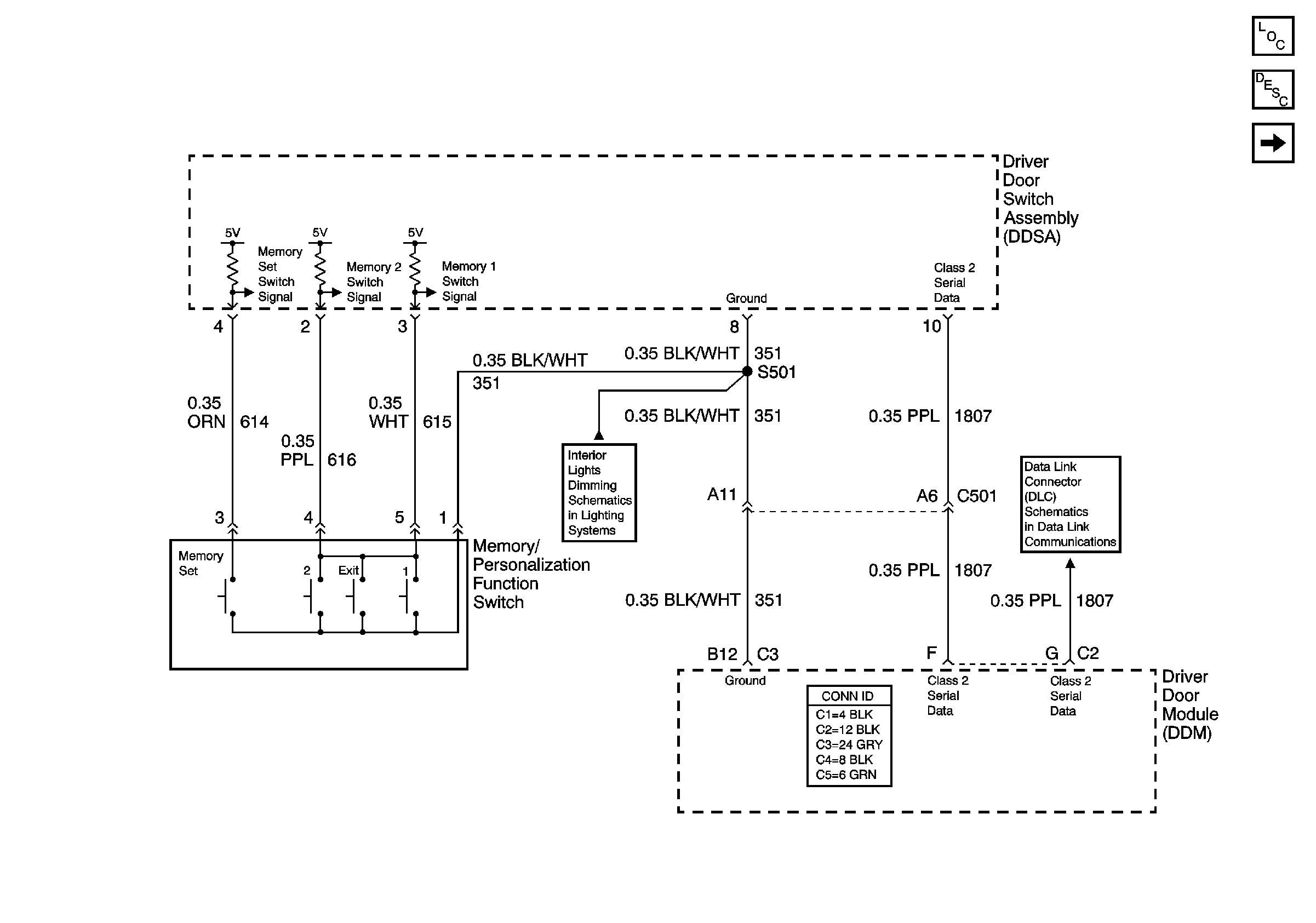
🢒 Memory Function Switch
Memory Function Switch
Memory/Personalization Function Switch
Master Electrical Component List
Memory Seats Description and Operation
Driver Seat Power and Ground (w/ A45/AL2)
Class 2 Serial Data (3 of 3)
Front Door Dimming