GM Service Manual Online
For 1990-2009 cars only
Makes
🢒
Cadillac
🢒
2004
🢒
DeVille
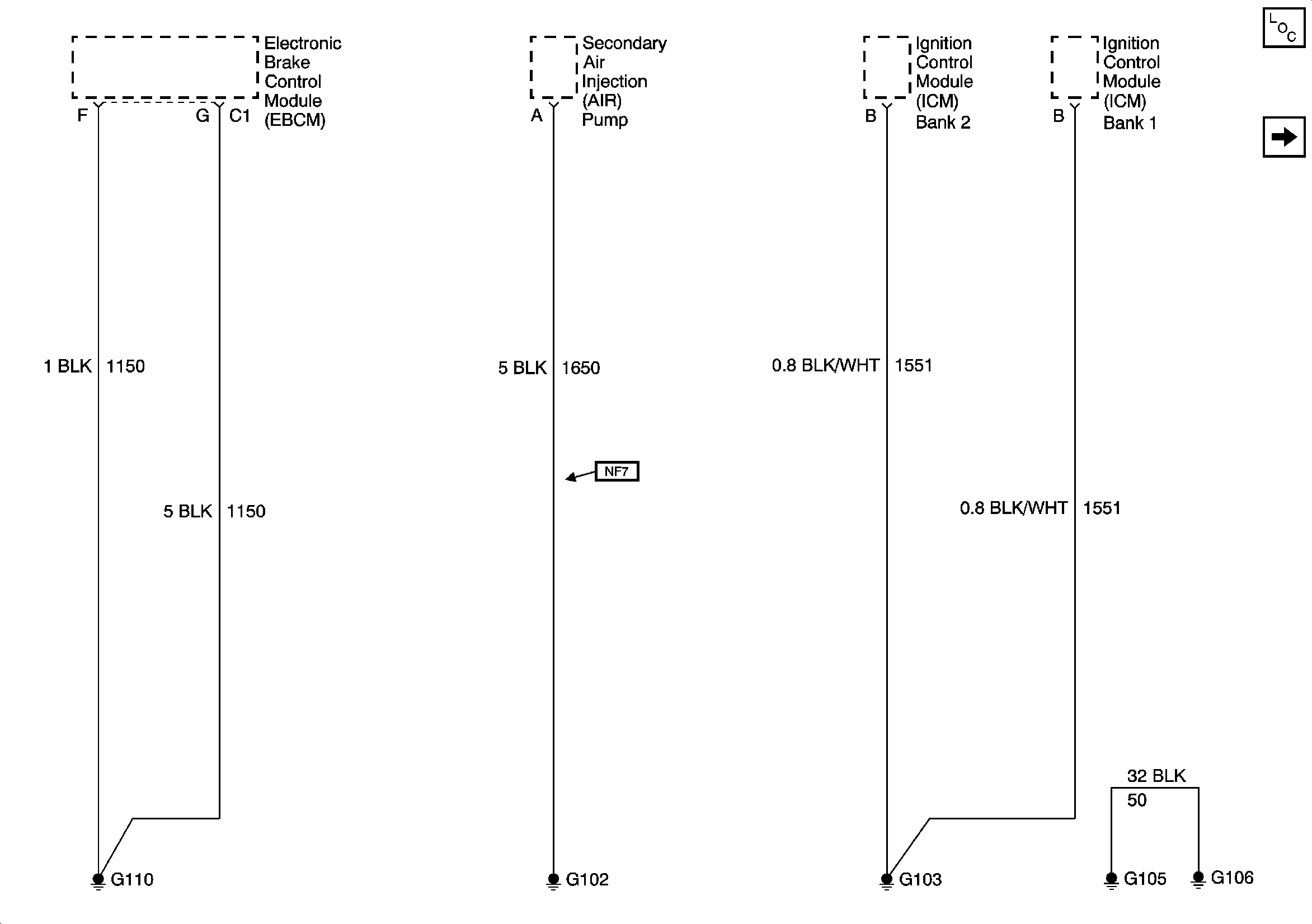
🢒 G102,G103,G105,G106,G110
G102,G103,G105,G106,G110
G102,G103,G105,G106,G110
Master Electrical Component List
G100