GM Service Manual Online
For 1990-2009 cars only
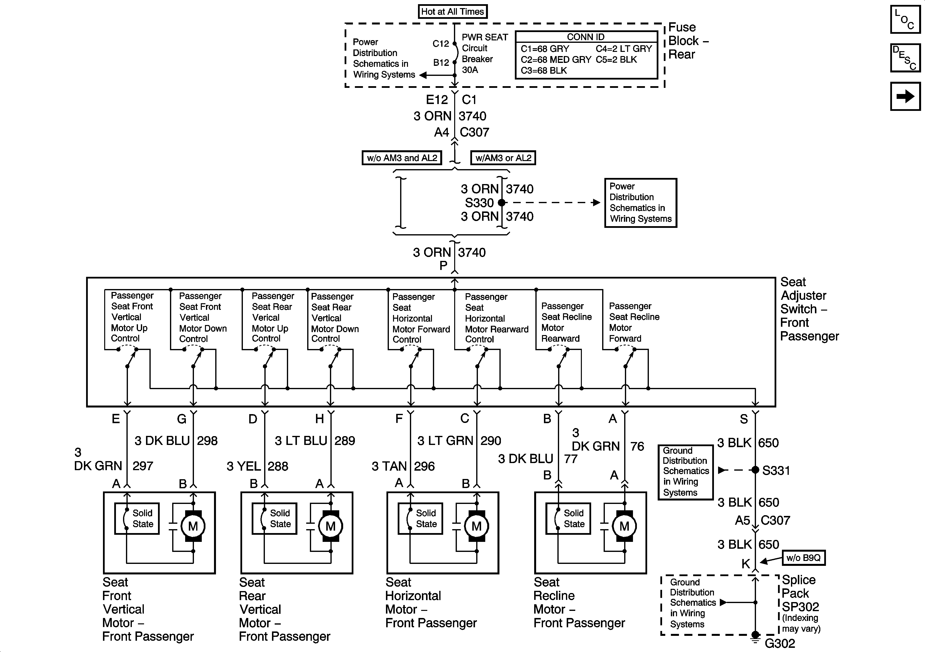
Figure 1:

Power Seat


Object Number: 1413029  Size: FS
Master Electrical Component List
Power Seats System Description and Operation
Power Lumbar Seat
NAV Fuse and PWR SEAT Circuit Breaker
NAV Fuse and PWR SEAT Circuit Breaker
G302 - 1 of 3
G302 - 1 of 3
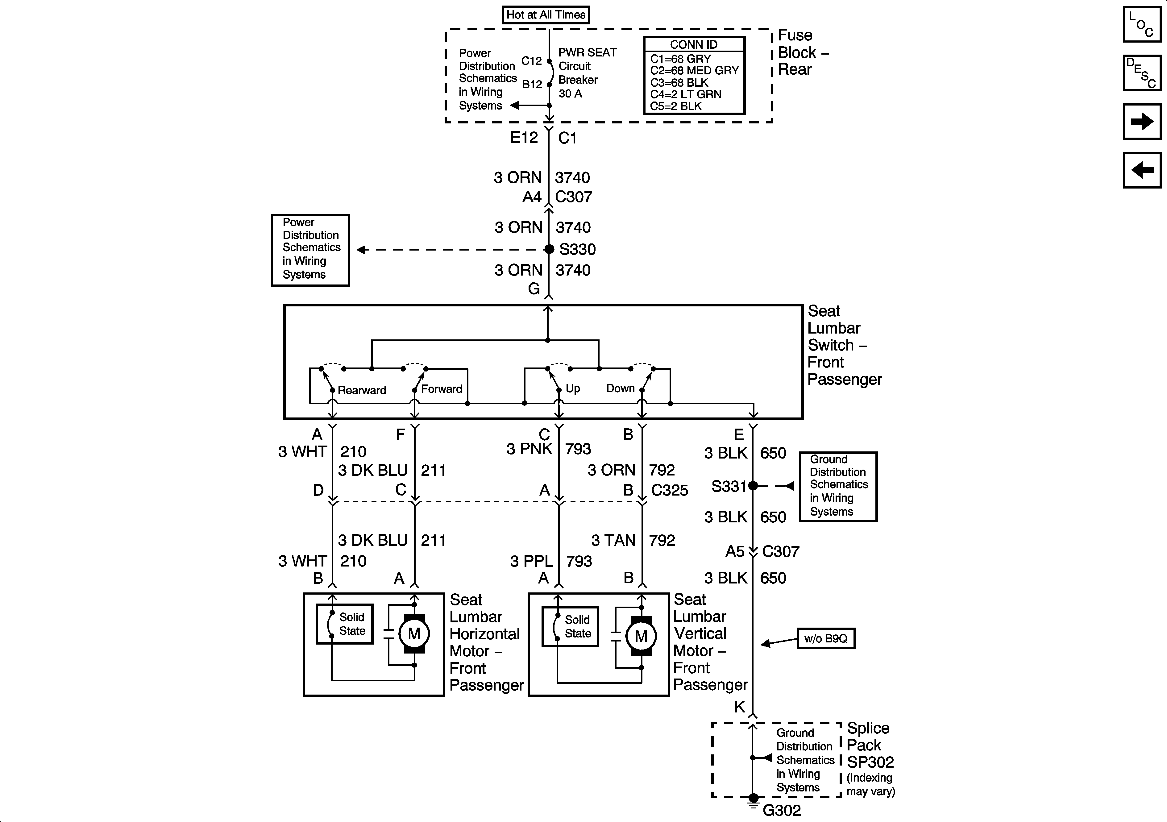
Figure 2:

Power Lumbar Seat


Object Number: 1413031  Size: FS
Master Electrical Component List
Lumbar Support Description and Operation w/o Memory-A45
Massaging Lumbar Seat (AM3)
Power Seat
NAV Fuse and PWR SEAT Circuit Breaker
NAV Fuse and PWR SEAT Circuit Breaker
G302 - 1 of 3
G302 - 1 of 3
Figure 3:

Massaging Lumbar Seat (AM3)


Object Number: 1413033  Size: FS
Master Electrical Component List
Lumbar Support Description and Operation Massaging Lumbar-AM3 w/o Memory-A45
Heated Seat Switch (KA1)
Power Lumbar Seat
NAV Fuse and PWR SEAT Circuit Breaker
NAV Fuse and PWR SEAT Circuit Breaker
G302 - 1 of 3
G302 - 1 of 3
Figure 4:

Heated Seat Switch (KA1)


Object Number: 1413035  Size: FS
Master Electrical Component List
Heated Seats Description and Operation
Climate Control Seat Module (KA1)
Massaging Lumbar Seat (AM3)
Figure 5:

Climate Control Seat Module /KA1)


Object Number: 1413037  Size: FS
Master Electrical Component List
Heated/Cooled Seats Description and Operation
Heated Seat Switch (KA1)
IGN 3 Relay and IGN 3 RR Fuse
IGN 3 Relay and IGN 3 RR Fuse
G302 - 1 of 3
G302 - 1 of 3