GM Service Manual Online
For 1990-2009 cars only

Radio/Audio System Schematics w/ UX8

Figure 1:

Power and Ground


Object Number: 1412063  Size: FS
Master Electrical Component List
Radio/Audio System Description and Operation
Digital Radio Receiver
DIMR, S-DAR,,and AUDIO Fuses
Vehicle Communication Interface Module, Microphone and Audio Amplifier
Remote Playback Device - CD Changer
Instrument Panel Dimming
G201 - 2 of 3
G201 - 2 of 3
Class 2 Serial Data (1 of 3)
Class 2 Serial Data (3 of 3)
G301
G301
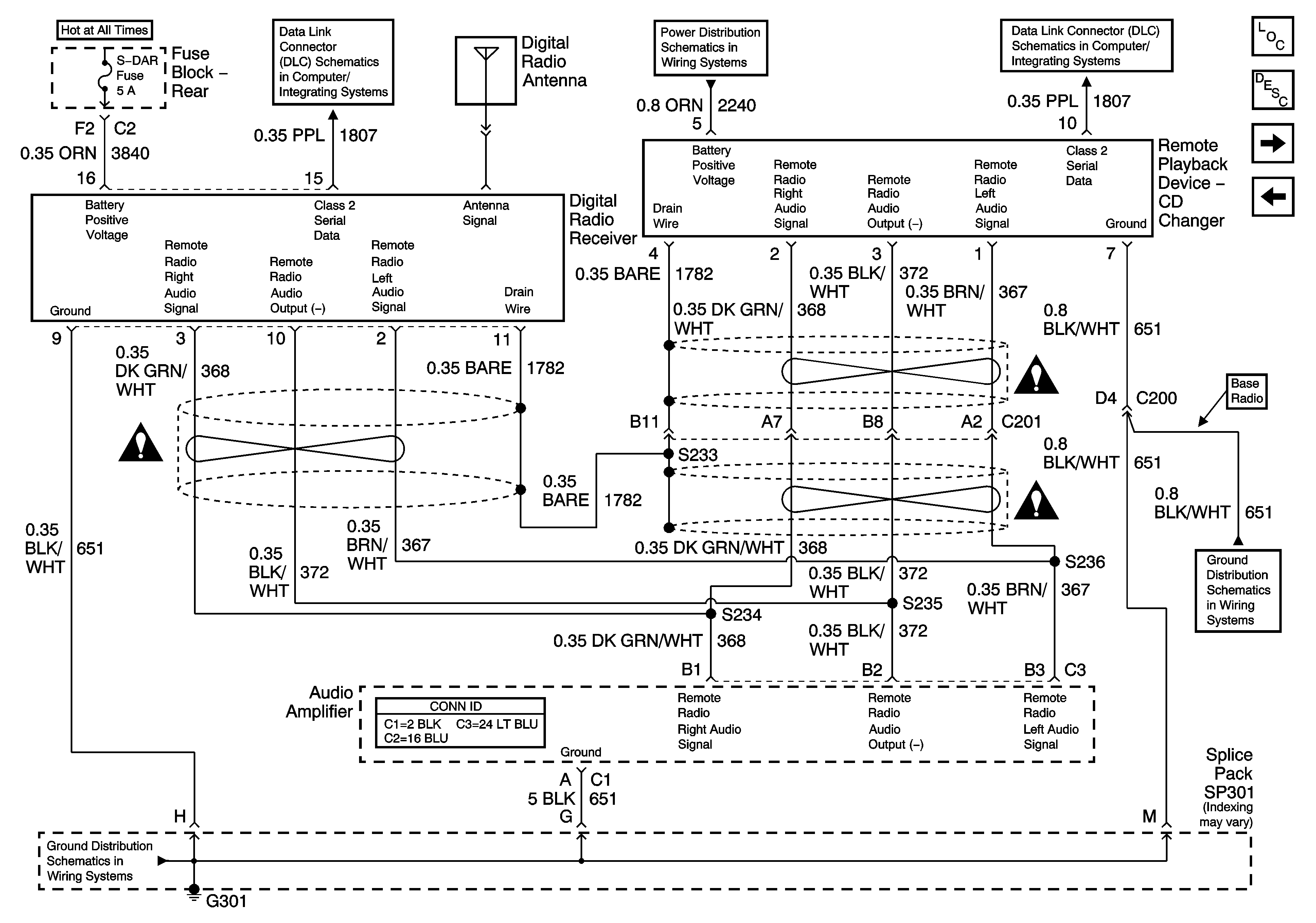
Figure 2:

Digital Radio Receiver


Object Number: 1412065  Size: FS
Master Electrical Component List
Radio/Audio System Description and Operation
Remote Playback Device - CD Changer
Power and Ground
Class 2 Serial Data (3 of 3)
DIMR, S-DAR,,and AUDIO Fuses
Class 2 Serial Data (1 of 3)
Entertainment Schematic Icons
Entertainment Schematic Icons
Entertainment Schematic Icons
G301
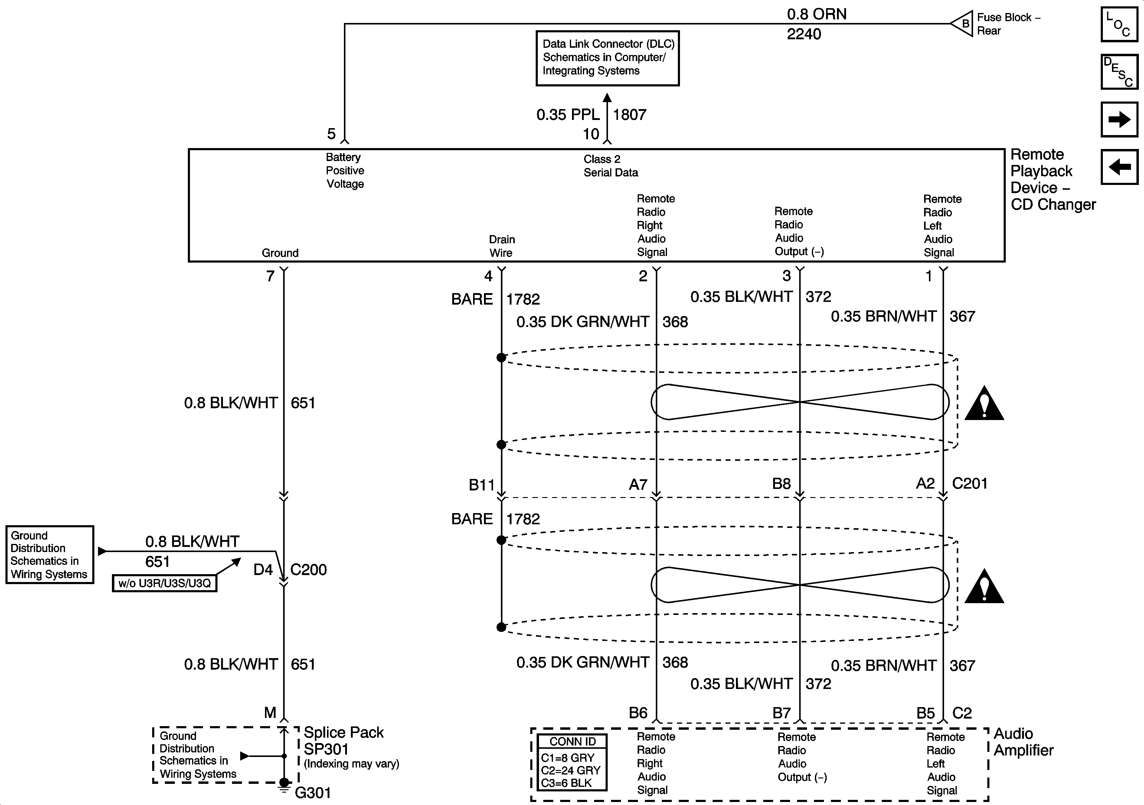
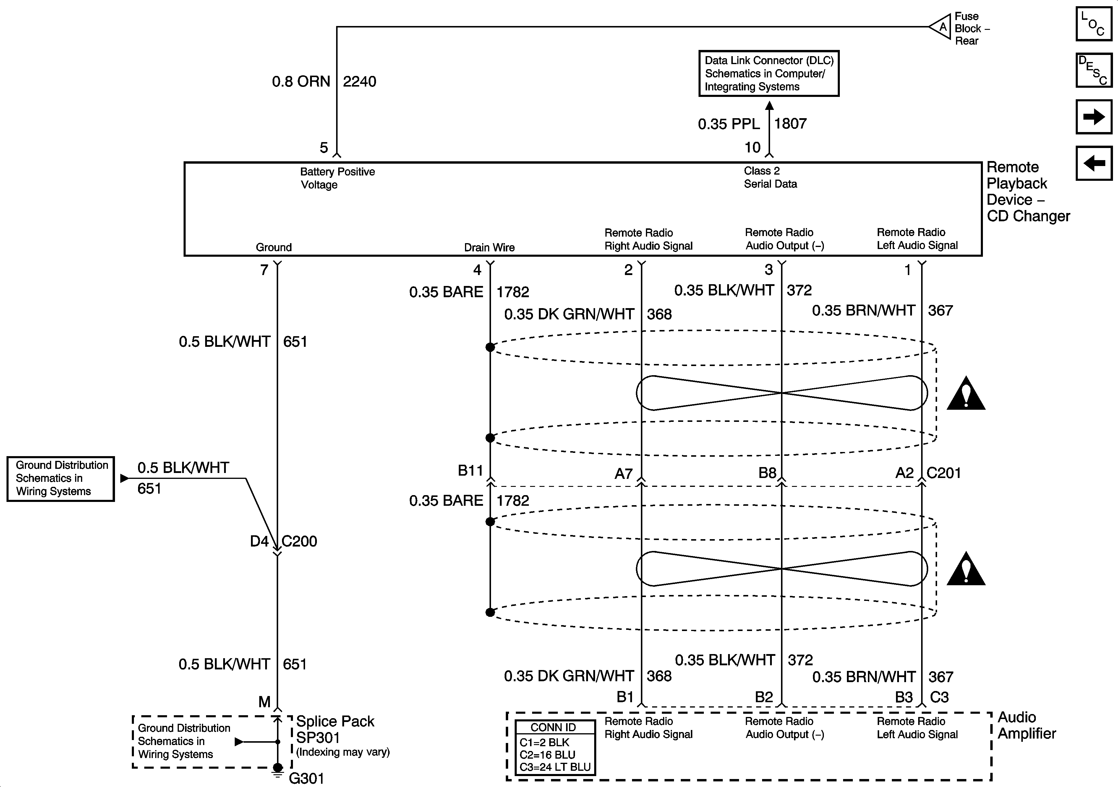
Figure 3:

Remote Playback Device CD Changer


Object Number: 1412066  Size: FS
Master Electrical Component List
Radio/Audio System Description and Operation
Audio Amplifier
Digital Radio Receiver
Class 2 Serial Data (1 of 3)
Power and Ground
G301
Entertainment Schematic Icons
Entertainment Schematic Icons
G301
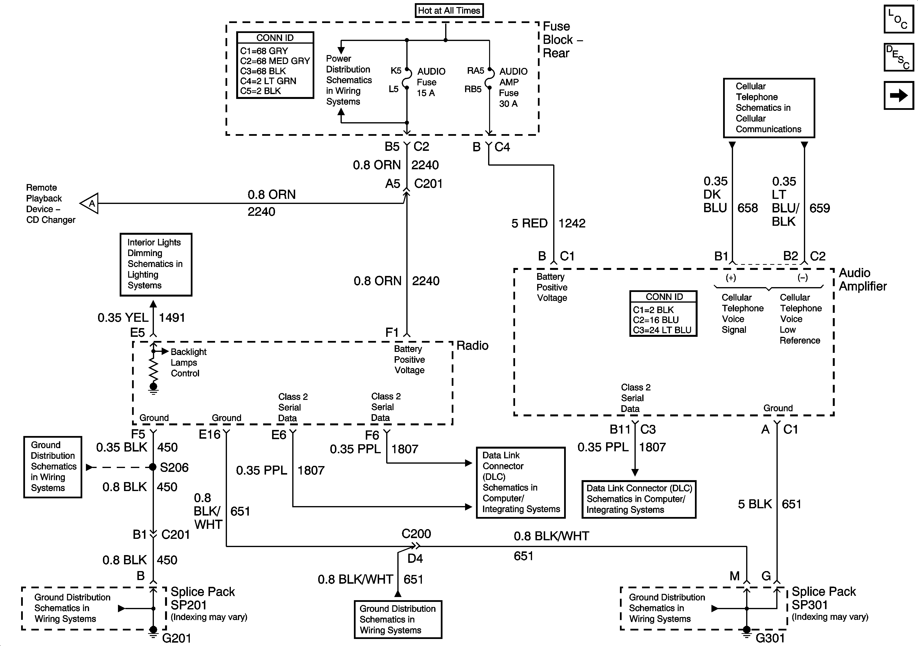
Figure 4:

Audio Amplifier


Object Number: 1412067  Size: FS
Master Electrical Component List
Radio/Audio System Description and Operation
Front Speakers
Remote Playback Device - CD Changer
Entertainment Schematic Icons
Entertainment Schematic Icons
Entertainment Schematic Icons
Entertainment Schematic Icons
Entertainment Schematic Icons
Entertainment Schematic Icons
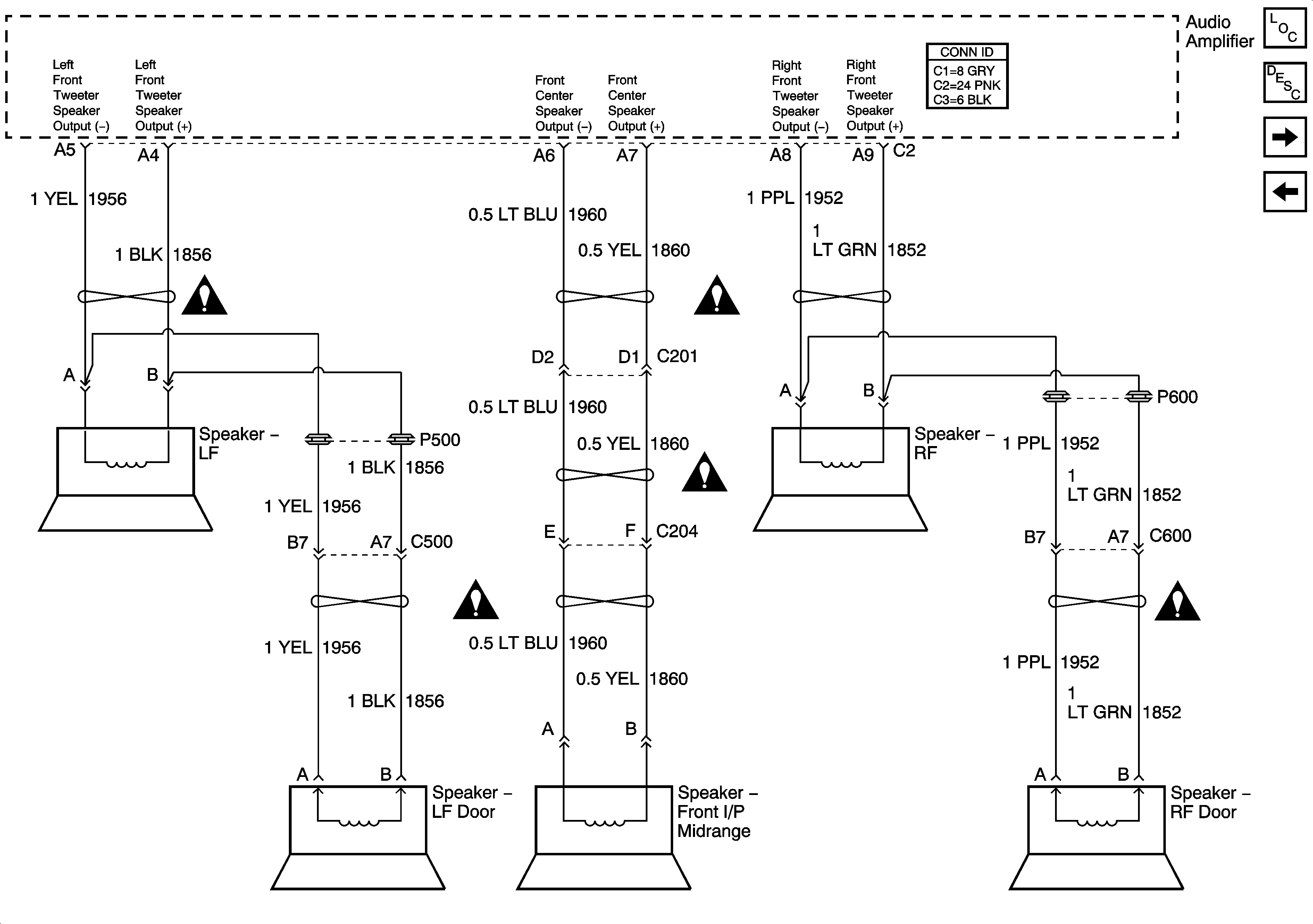
Figure 5:

Front Speakers


Object Number: 1412068  Size: FS
Master Electrical Component List
Radio/Audio System Description and Operation
Rear Speakers
Audio Amplifier
Entertainment Schematic Icons
Entertainment Schematic Icons
Entertainment Schematic Icons
Entertainment Schematic Icons
Entertainment Schematic Icons
Entertainment Schematic Icons
Entertainment Schematic Icons
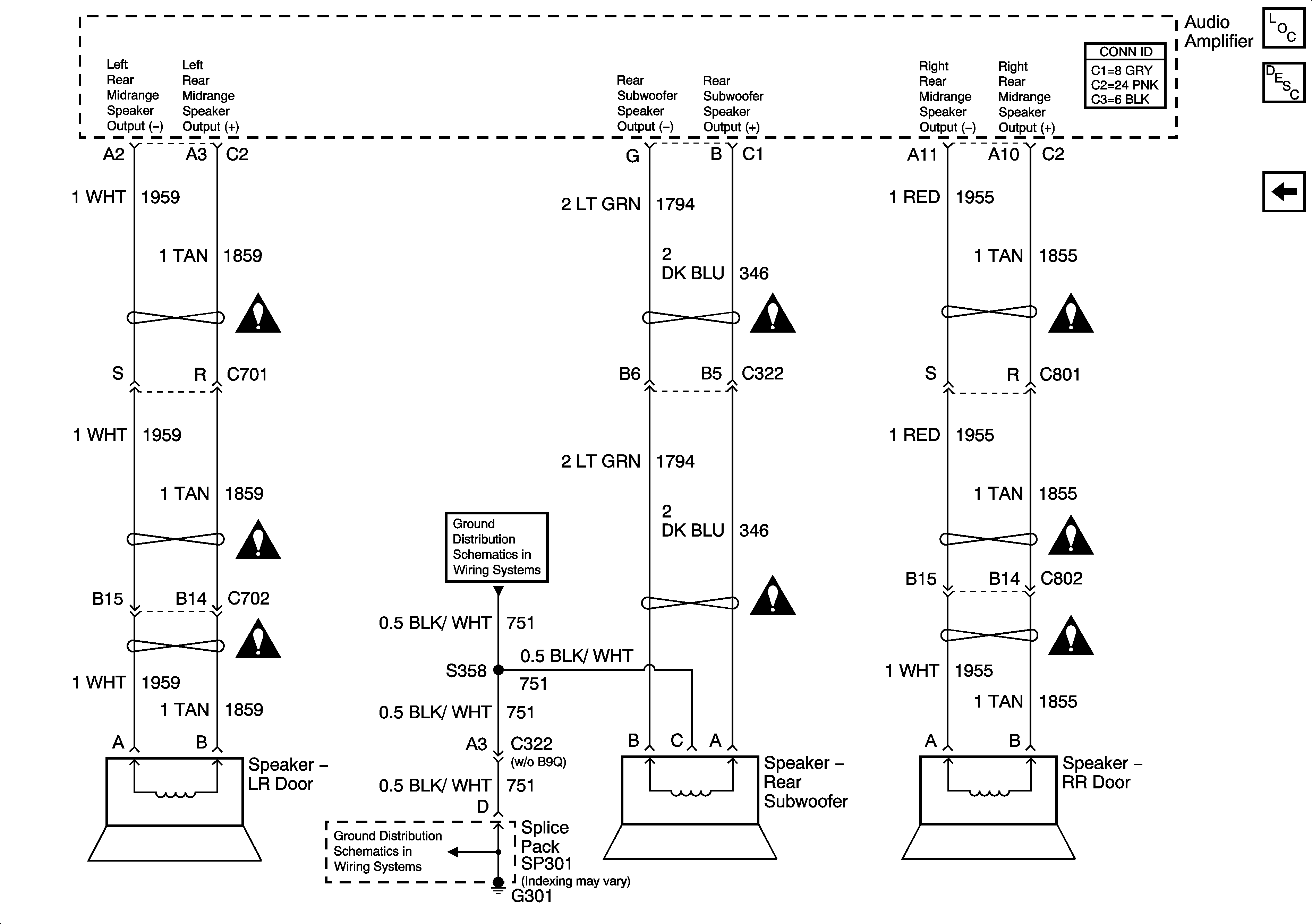
Figure 6:

Rear Speakers


Object Number: 1412071  Size: FS
Master Electrical Component List
Radio/Audio System Description and Operation
Front Speakers
Entertainment Schematic Icons
Entertainment Schematic Icons
Entertainment Schematic Icons
Entertainment Schematic Icons
Entertainment Schematic Icons
Entertainment Schematic Icons
Entertainment Schematic Icons
Entertainment Schematic Icons

Radio/Audio System Schematics w/ U57

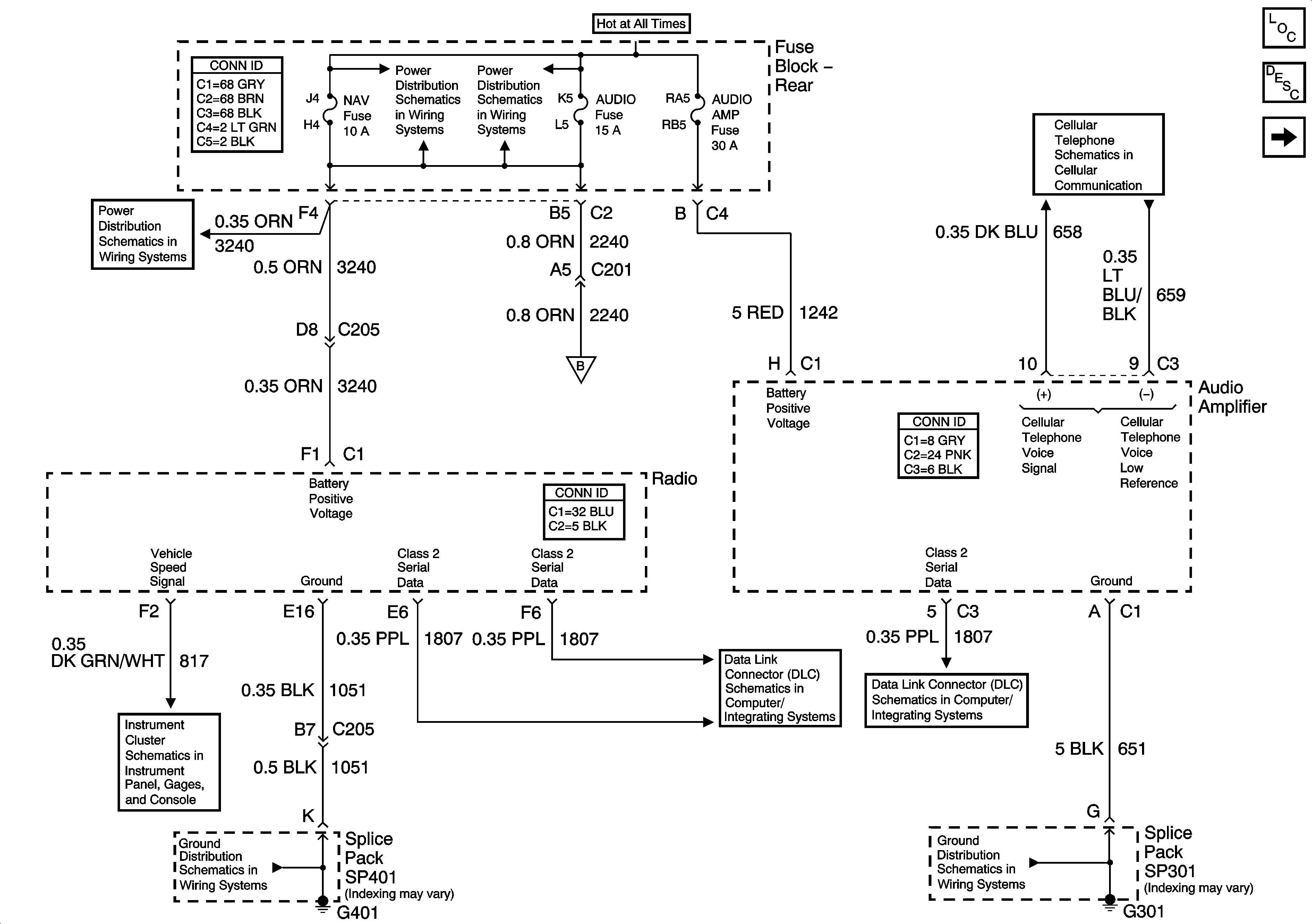
Figure 1:

Power and Ground (w/ U3R)


Object Number: 1412074  Size: FS
Master Electrical Component List
Radio/Audio System Description and Operation
Digital Radio Receiver (w/U2K)
NAV Fuse and PWR SEAT Circuit Breaker
NAV Fuse and PWR SEAT Circuit Breaker
DIMR, S-DAR,,and AUDIO Fuses
Remote Playback Device- CD Changer (w/o U2K)
Vehicle Communication Interface Module, Microphone and Audio Amplifier
Gages
G401
Class 2 Serial Data (1 of 3)
Class 2 Serial Data (3 of 3)
G301
Figure 2:

Digital Radio Receiver /U2K)


Object Number: 1412081  Size: FS
Master Electrical Component List
Radio/Audio System Description and Operation
Remote Playback Device- CD Changer (w/o U2K)
Power and Ground (w/U3R)
Class 2 Serial Data (3 of 3)
DIMR, S-DAR,,and AUDIO Fuses
Class 2 Serial Data (1 of 3)
Entertainment Schematic Icons
Entertainment Schematic Icons
Entertainment Schematic Icons
G301
G301
Figure 3:

Remote Playback Device - CD Changer (w/o U2K)


Object Number: 1412083  Size: FS
Master Electrical Component List
Radio/Audio System Description and Operation
Audio Amplifier
Digital Radio Receiver (w/U2K)
Class 2 Serial Data (1 of 3)
Power and Ground (w/U3R)
Entertainment Schematic Icons
Entertainment Schematic Icons
G301
G301
Figure 4:

Audio Amplifier


Object Number: 1412084  Size: FS
Master Electrical Component List
Radio/Audio System Description and Operation
Front Speakers
Remote Playback Device- CD Changer (w/o U2K)
Entertainment Schematic Icons
Entertainment Schematic Icons
Entertainment Schematic Icons
Entertainment Schematic Icons
Entertainment Schematic Icons
Entertainment Schematic Icons
Figure 5:

Front Speakers


Object Number: 1412085  Size: FS
Master Electrical Component List
Radio/Audio System Description and Operation
Rear Speakers
Audio Amplifier
Entertainment Schematic Icons
Entertainment Schematic Icons
Entertainment Schematic Icons
Entertainment Schematic Icons
Entertainment Schematic Icons
Figure 6:

Rear Speakers


Object Number: 1412087  Size: FS
Master Electrical Component List
Radio/Audio System Description and Operation
Front Speakers
Entertainment Schematic Icons
Entertainment Schematic Icons
Entertainment Schematic Icons
Entertainment Schematic Icons
Entertainment Schematic Icons
Entertainment Schematic Icons
Entertainment Schematic Icons
Entertainment Schematic Icons
G301
G301