GM Service Manual Online
For 1990-2009 cars only

Removal Procedure


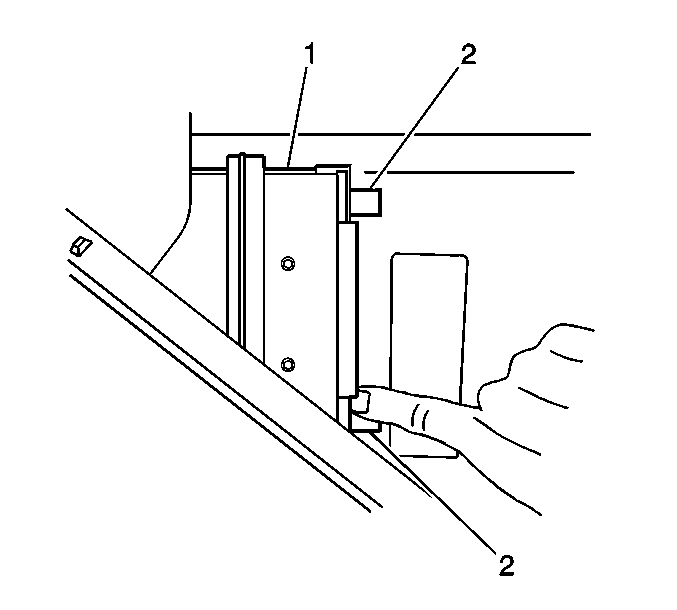
    Object Number: 130882  Size: SH
  1. Remove the rear seat back. Refer to Rear Seat Back Replacement.
  2. Move the rear seat back insulator aside.
  3. Disconnect the electrical connectors from the ESC module (2).

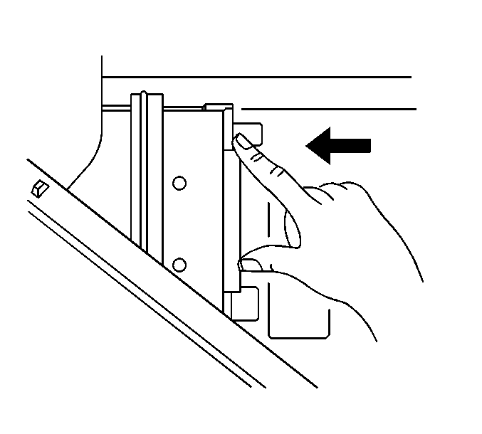
  4. Object Number: 488360  Size: SH
  5. Depress inward on the locking tabs (2).
  6. With the locking tabs (2) depressed, slide the ESC module (1) towards the center of the vehicle.
  7. Remove the ESC module (1) from the bracket.

Installation Procedure


    Object Number: 509434  Size: SH
  1. Install the ESC module (1) to the bracket.
  2. Slide the ESC module (1) away from the center of the vehicle until it is fully engaged.

  3. Object Number: 130882  Size: SH
  4. Connect the ESC module electrical connector (2).
  5. Reposition the rear seat back insulator.
  6. Install the rear seat back. Refer to Rear Seat Back Replacement.

ESC Module Programing

    Important: 

       • New ECM modules must be calibrated after installation. DTC C0563 is stored in the memory of ESC modules and will not clear until the module is calibrated.
       • The scan tool must have the latest chassis application program.

  1. Connect the scan tool to the data link connector DLC.
  2. Turn ON the ignition, with the engine OFF.
  3. Proceed per the instructions on the scan tool readout.
  4. Refer to Control Module References for programming and setup information.