GM Service Manual Online
For 1990-2009 cars only

Side Door Opening Frame Replacement Outer A-Pillar

Removal Procedure


Object Number: 618876  Size: SH

The full body-side outer panel comes as a one-piece assembly and can be replaced at factory seams after removal of glass and roof. Any one of these procedures can be performed separately, or in any combination, dependent upon the extent of damage to the vehicle. Sectioning must take place in specified areas only. Remove front glass when sectioning A-pillar and rear glass for quarter panel repair.

Important: When replacing panels that involve servicing stationary glass, refer to GM Service Bulletin 43-10-48 before performing any priming or refinishing.

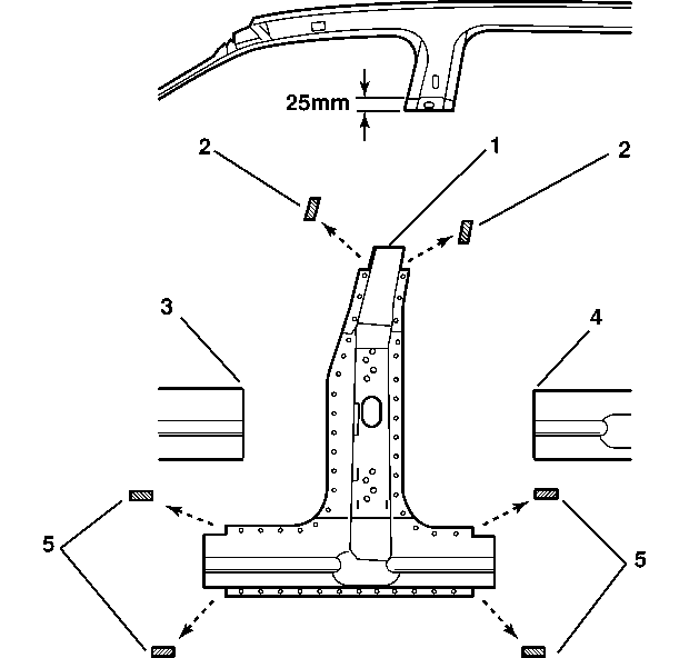
Outer A-Pillar

  1. Visually inspect and restore as much of the damage as possible to the factory specifications.
  2. Remove the following:
  3. • fender
    • door
    • upper rail
    • windshield
  4. Determine sectioning locations. Section in approved areas only.
  5. Mark locations and cut in approved sectioning areas. Cut through outer panel only.
  6. Locate factory welds and drill out, noting the number and the locations of welds.

  7. Object Number: 618878  Size: SH
  8. Locate and drill out spot welds on weatherstrip retainer as necessary to service part. It is not necessary to remove complete retainer.
  9. • Remove all foam prior to welding this section of service panel.
    • Hinge pillar blocks must be replaced if damaged.
  10. Note placement and number of foam baffles for new installation. If baffles are damaged, replacement service parts are available.
  11. Remove outer panel.
  12. Clean adhesive and sealer from hydroformed reinforcement tube as necessary. Note location for reinstallation.

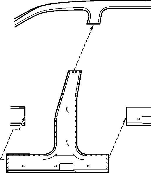
Installation Procedure


    Object Number: 618882  Size: SH
  1. Cut service part in corresponding locations to fit original cut lines. Leave a gap of one-and-one-half times the metal thickness of sectioning joint.
  2. Create 100 mm (4 in) backing plate on rocker panel from unused portion of the service part.
  3. In windshield pillar area, use the hydroformed inner rail for backing plate.
  4. Drill 8 mm (5/16 in) plug weld holes in the service part according to original locations as noted, and in original panel where backing plate overlaps.
  5. Apply weld-through primer to mating surfaces prior to assembly.
  6. Weld backing plates to vehicle at rocker.
  7. Important: Replace hinge pillar blocks prior to welding outer panel.

  8. Apply windshield bonding adhesive to the hydroformed reinforcement as noted from removal procedure.
  9. Position service part on vehicle.
  10. Clamp in place and check for proper fit.
  11. Plug weld accordingly, stitch weld along the entire sectioning mount. Make 25 mm (1 in) welds along the seam with 25 mm (1 in) gaps between.
  12. Go back and complete the stitch weld to ensure structural integrity of the vehicle.
  13. Dress welds as necessary along seams. Finish surface as necessary.
  14. Install insulating foam as necessary in areas noted from original baffle locations.
  15. Important: Prior to refinishing, refer to GM 4901MD-99 Refinish Manual for recommended products. Do not combine paint systems. Refer to paint manufacturer's recommendations.

  16. Prepare mating surfaces.
  17. Refinish as necessary.
  18. Install all related panels and components.

Side Door Opening Frame Replacement Outer B-Pillar

Removal Procedure

    Important: Sectioning should be performed only in the recommended areas. Failure to do so may compromise the structural integrity of the vehicle.

  1. Locate an approved sectioning area in the B-Pillar.

  2. Object Number: 618886  Size: SH
  3. Mark and scribe a line. This is the cut location.
  4. Cut B-Pillar at cut line. Use caution to not cut inner reinforcement.
  5. Create cut lines on rocker within approved sectioning locations. Cut the rocker vertically along cut lines.
  6. Drill out factory welds. Note the number and location of the welds.
  7. Note placement and number of foam baffles for new installation. If baffles are damaged, replacement service parts are available.
  8. Remove the damaged part.

Service Part Preparation


    Object Number: 618887  Size: SH
  1. On the service part, at B-Pillar, mark a horizontal line in corresponding locations to original sectioning cut. Leave a gap of one-and-one-half times the metal thickness (1).
  2. Mark vertical cut lines in rocker areas to correspond with original section lines. Leave a gap of one-and-one-half times the metal thickness (1).
  3. Cut the outer door frame opening service part along these three section lines.
  4. Cut two 100 mm (4 in) pieces from the unused portion of the service part for backing plates in rocker.
  5. Cut one 50 mm (2 in) backing plate for pillar. Remove the flange on each side of the backing plates so that they will fit behind the sectioning joint.
  6. Drill 8 mm (5/16 in) holes for plug welding in the service part in the locations noted from the original panel.
  7. Drill holes for plug welding along the sectioning cuts on both the service part and the original panel. Locate these holes approximately 25 mm (1 in) from the edge of the sectioning cuts.

Installation Procedure


    Object Number: 618888  Size: SH
  1. Install sleeves on vehicle at rocker and B-Pillar areas using plug welds.
  2. Replace hinge blocks and bolts.
  3. Prepare mating surfaces.
  4. Important: Prior to refinishing, refer to GM 4901MD-99 Refinish Manual for recommended products. Do not combine paint systems. Refer to paint manufacturer's recommendations.

  5. Apply weld-through primer to mating surfaces prior to assembly.
  6. Align part and clamp in place. Check fit.
  7. Spot blast plug weld areas.
  8. Plug weld as necessary in original spot weld locations and at backing plates.
  9. Stitch weld at section joints, one inch on and one inch off, as necessary.
  10. Go back and complete the stitch weld. This will create a solid joint with minimum heat distortion.
  11. Dress welds and finish seams as necessary.
  12. Refinish as necessary.

Side Door Opening Frame Replacement Inner A-Pillar

Inner A-Pillar

Caution: Refer to SIR Caution in the Preface section.

Important: When replacing panels that involve servicing stationary glass, refer to GM Service Bulletin 43-10-48 before performing any priming or refinishing.

The full bodyside inner panel comes as a one piece assembly and can be replaced at factory seems after removal of outer panel, roof and glass. Any one of these procedures can be performed separately, or in any combination dependent upon the extent of damage to the vehicle. Remove front glass when sectioning A-Pillar and rear glass for quarter panel repair.


Object Number: 723427  Size: SH

Removal Procedure


    Object Number: 723435  Size: SH

    Important: Sectioning should be performed only in the recommended areas. Failure to do so may compromise the structural integrity of the vehicle.

  1. Visually inspect and restore as much of the damage as possible to factory specifications.
  2. Remove the outer panel according to specified directions in the Outer Panel Removal procedure.
  3. Remove all the necessary components to allow access to the repair area.
  4. Locate and mark a horizontal line 50 mm (2 in) down from the raised, square portion of the hinge pillar. This will be your cut location.
  5. At the rocker panel, locate and mark a vertical cut line in the approved sectioning location.
  6. Cut at the two marked locations. Use caution to cut through one layer of metal only.
  7. Locate and drill out the factory welds noting the number and location of welds.
  8. Remove the damaged section from the vehicle.

Service Part Preparation


    Object Number: 723438  Size: SH
  1. On the hinge pillar, scribe a cut line 25 mm (1 in) below the raised, square portion of the hinge pillar. This will create a 25 mm (1 in) overlap on the service part.
  2. Notch the panel on the door weather-strip flange to prevent excessive metal thickness in this area.
  3. In the rocker area, locate and mark a cut line in the recommended sectioning area. Allow for a 50 mm (2 in) overlap to the vehicle sectioning areas.
  4. Cut along the marked sectioning lines to create the service part.
  5. Notch the upper and lower edges of the service part to prevent excessive metal thickness in this area.
  6. Drill the plug weld holes spaced 40 mm (1 5/8 in) apart along the overlap flanges. Place holes 25 mm (1 in) from the edge on the rocker panel and 10 mm (7/16 in) from the edge on the hinge pillar.

Installation Procedure


    Object Number: 723441  Size: SH

    Important: Prior to refinishing, refer to publication GM4901M-2000 "GM Approved Refinish Materials" for recommended products. Do not combine paint systems. Refer to paint manufacturer's recommendations.

  1. Prepare mating surfaces.
  2. Prime service part with a two-part catalyzed primer
  3. Position the part on the vehicle and clamp in place. Measure and check for fit.
  4. Spot blast the plug weld areas.
  5. Plug weld accordingly.
  6. Stitch weld at the hinge pillar and the rocker panel.
  7. Dress and finish the weld seam as necessary.
  8. Refinish as necessary.
  9. Install all the related panels and components as necessary.

Side Door Opening Frame Replacement Inner B-Pillar

Removal Procedure


    Object Number: 723446  Size: SH
  1. Remove the necessary trim and outer panels.
  2. Secure the wiring harness away from the repair area.
  3. Locate the laser weld in the B-pillar upper area.
  4. Measure down 25 mm (1 in) from the laser weld line and scribe a horizontal line. This is the cut location.
  5. At the front door rocker area, scribe a vertical cut line within the preferred sectioning area.
  6. At the rear door rocker area, scribe a vertical cut line within the preferred sectioning location.
  7. Cut on the three scribed lines.
  8. Drill out the factory spot welds noting their location for installation of the service part.
  9. Remove the damaged panel.

Service Part Preparation


    Object Number: 723450  Size: SH
  1. Cut the B-pillar at the laser weld location. This will allow a 25 mm (1 in) overlap to the vehicle for welding.
  2. Notch the weather-strip flange to prevent excessive metal thickness in these areas.
  3. In the front and rear door rocker areas of service part, scribe vertical cut lines to allow 50 mm (2 in) overlap of original cut lines on the vehicle.
  4. Drill 8 mm (5/16 in) plug weld holes every 40 mm (1 5/8 in) along the rocker overlaps, 25 mm (1 in) from the edge of the overlap. On the B-pillar, drill weld holes 10 mm (7/16 in) from the edge.
  5. Drill 8 mm (5/16 in) plug weld holes on the weld flanges as noted from original panel.

Installation Procedure


    Object Number: 723451  Size: SH

    Important: Prior to refinishing, refer to publication GM4901M-2000 "GM Approved Refinish Materials" for recommended products. Do not combine paint systems. Refer to paint manufacturer's recommendations

  1. Prepare mating surfaces.
  2. Prime the repair areas with two-part catalyzed primer.
  3. Clamp the part in position. Check for proper fit.
  4. Spot blast plug weld areas.
  5. Plug the weld as necessary.
  6. Stitch the weld along the sectioned areas.
  7. Finish the seams as necessary.
  8. Refinish as necessary.
  9. Install all related panels and components.