GM Service Manual Online
For 1990-2009 cars only

Tools Required

J 38778 Door Trim Pad and Garnish Clip Remover

Removal Procedure

  1. Position the window fully downward.
  2. Remove the trim panel. Refer to Front Side Door Trim Panel Replacement .
  3. Remove the garnish molding. Refer to Front Side Door Opening Frame Garnish Molding Replacement .
  4. Remove the mirror. Refer to Power Mirror Replacement .

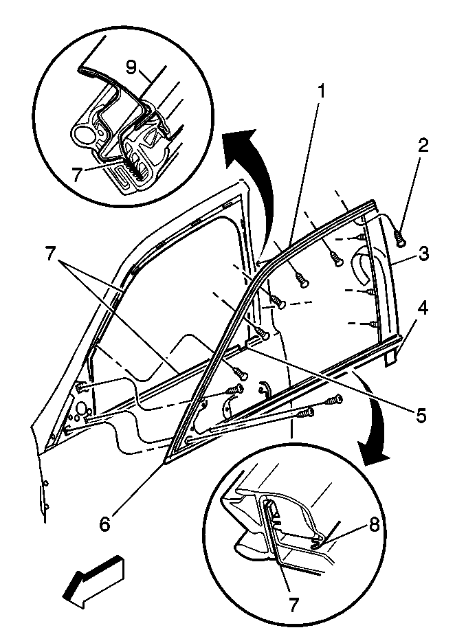
  5. Object Number: 630071  Size: MH
  6. Partially remove the window run channel in the following order:
  7. 5.1. Grasp the run channel at the center.

            Important: Ensure that the run channel is not released beyond the belt area.

    5.2. Pull down and inward to release the run channel from the door flange.

    Object Number: 524162  Size: MH
  8. Remove the nine screws attaching the reveal molding to the door.
  9. Insert a thin, flat-bladed tool between the applique (3) and the door pillar and cut the foam tape. Work from the top downward until the tape is separated.
  10. Use the J 38778 to release the push pins securing the reveal molding to the door.
  11. Perform the following in order to remove the reveal molding:
  12. 9.1. Pull outward on the scalp section (1), away from the door header.
    9.2. Grip the inner and outer sides of the belt section (6), and pull upward to release the molding from the door flange (7).

Installation Procedure

    Important: If the old molding is to be reused, the foam tape must be replaced as outlined in steps 1 through 4. A new molding from GMSPO will have new tape installed.


    Object Number: 606701  Size: SH
  1. Mark the location of the old tape strip on the molding applique with a scribe.
  2. Remove all of the tape residue from the door pillar and the molding applique (1).
  3. Use a isopropyl alcohol dampened cloth in order to remove the old tape residue.

  4. Install new foam tape to the molding applique (1). Align the new tape with the scribe marks made previously.
  5. Wrap the clear plastic release liner tab to the outside of the molding applique (1).
  6. Secure the release liner tab in place with a small piece of masking tape (2).
  7. Ensure the door is properly aligned prior to installing the reveal molding. Refer to Door Adjustment .

  8. Object Number: 524162  Size: MH

    Important: The following must be maintained when the belt section is positioned to the flange:

       • The plastic glass guide (4) is outboard of the glass.
       • The belt molding blade is engaged into the flange notch (5).
       • The lace (8) is compressed inboard and constant.
       • The mirror patch screw slots are aligned with the nylon nuts.

  9. Position the rear edge of the belt section (6) to the rear edge of the door.
  10. Work the reveal moldings belt section (6) into the door flange (7) by pushing downward from rear to front.
  11. Press the push pins into the door pillar.
  12. Install the alignment screw (2) to the door header.
  13. Notice: Use the correct fastener in the correct location. Replacement fasteners must be the correct part number for that application. Fasteners requiring replacement or fasteners requiring the use of thread locking compound or sealant are identified in the service procedure. Do not use paints, lubricants, or corrosion inhibitors on fasteners or fastener joint surfaces unless specified. These coatings affect fastener torque and joint clamping force and may damage the fastener. Use the correct tightening sequence and specifications when installing fasteners in order to avoid damage to parts and systems.

  14. Working forward, install the remaining screws.
  15. Tighten
    Tighten the screws to 1.3 N·m (12 lb in).


    Object Number: 606701  Size: SH
  16. Remove the release liner from the tape.
  17. Press firmly onto the applique (1) to adhere the tape to the door pillar.

  18. Object Number: 630071  Size: MH
  19. Insert the window run channel over the door flange.
  20. Seat the run channel at the top corner of the center pillar, ensuring the rear notch in the door flange is aligned with the run channel rubber block.
  21. Working forward and down, seat the remaining window run over the flange, ensuring the front notch in the door flange is aligned with the run channel rubber block.
  22. Install the mirror. Refer to Power Mirror Replacement .
  23. Install the garnish molding. Refer to Front Side Door Opening Frame Garnish Molding Replacement .
  24. Install the trim panel. Refer to Front Side Door Trim Panel Replacement .