GM Service Manual Online
For 1990-2009 cars only

Rear Seat Back Cushion Heater Replacement DeVille

Repair Procedure

Important: Before installing the new heat element to the seat trim cover, verify that the seat assembly heat function operates properly with the new heat element connected.

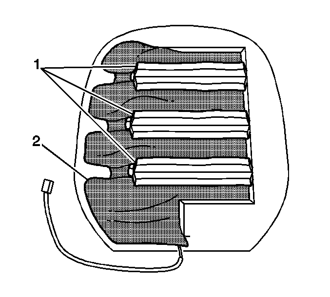
  1. Remove the rear seat back cover (1). Refer to Rear Seat Back Cushion Cover and Pad Replacement .
  2. Place the seat trim cover on a clean flat surface with the inside facing out.

  3. Object Number: 868064  Size: SH
  4. Use a marker to draw in the cut-lines (2) on the seat cover (1).
  5. Important: DO NOT attempt to remove the factory heat elements from the seat trim cover. The new heat element is to be installed between the factory heat element and the seat trim cover.

  6. Remove the heat element wiring harness.
  7. 4.1. At the location (3), pull back the tape covering the harness wires.
    4.2. Use a pair of diagonal side cutters to cut the harness wires as close to the factory heat element material as possible.

    Object Number: 863217  Size: SH

    Important: DO NOT start the cut with a jab or poke.

  8. At the trim cover edge (2) using a razor blade or an equivalent sharp tool, slice through the factory heat element material along the cut-line until a hole is created.
  9. Insert your fingers through the hole and lift the factory heat element material (1) away from the trim cover material.
  10. Important: DO NOT cut through seams.

  11. Using scissors and/or a razor blade, continue to cut the material along the cut-lines.

Installation Procedure


    Object Number: 863219  Size: SH
  1. Fold back the centers (1) of the factory heat element material. Insert the service heat element (2), with the backing paper side up, between the trim cover material and the factory heat element material.
  2. Carefully remove the backing paper from the new heat element. Ensure the new heat element is laying flat.
  3. Unfold the centers (1) of the factory heat element material.

  4. Object Number: 863222  Size: SH
  5. Match the edges of the factory heat element material and cover the cut-lines with 3M Highland Cloth Duct Tape, P/N 6969, or equivalent. Ensure the new and factory heat elements are laying flat.
  6. Install the rear seat back trim cover. Refer to Rear Seat Back Cushion Cover and Pad Replacement .

Rear Seat Back Cushion Heater Replacement DHS/DTS

Repair Procedure

Important: Before installing the new heat element to the seat trim cover, verify that the seat assembly heat function operates properly with the new heat element connected.

  1. Remove the rear seat back trim cover (1). Refer to Rear Seat Back Cushion Cover and Pad Replacement .
  2. Place the seat trim cover on a clean flat surface with the inside facing out.

  3. Object Number: 868055  Size: SH
  4. Use a marker to draw in the cut-lines (2) on the seat cover (1).
  5. Important: DO NOT attempt to remove the factory heat elements from the seat trim cover. The new heat element is to be installed between the factory heat element and the seat trim cover.

  6. Remove the wiring harness from the non-functioning factory heat element.
  7. 4.1. At the location (3), pull back the tape covering the harness wires.
    4.2. Use a pair of diagonal side cutters to cut the harness wires as close to the factory heat element material as possible.

    Object Number: 863216  Size: SH

    Important: DO NOT start the cut with a jab or poke.

  8. At the trim cover edge (2) using a razor blade or an equivalent sharp tool, slice through the factory heat element material along the cut-line until a hole is created.
  9. Insert your fingers through the hole and lift the factory heat element material (1) away from the trim cover material.
  10. Important: DO NOT cut through seams.

  11. Using scissors and/or a razor blade, continue to cut the material along the cut-lines.

Installation Procedure


    Object Number: 863218  Size: SH
  1. Fold back the centers (1) of the factory heat element material. Insert the service heat element (2), with the backing paper side up, between the trim cover material and the factory heat element material.
  2. Carefully remove the backing paper from the new heat element. Ensure the new heat element is laying flat.
  3. Unfold the centers (1) of the factory heat element material.

  4. Object Number: 863223  Size: SH
  5. Match the edges of the factory heat element material and cover the cut-lines with 3M Highland Cloth Duct Tape, P/N 6969, or equivalent. Ensure the new and factory heat elements are laying flat
  6. Install the rear seat back trim cover. Refer to Rear Seat Back Cushion Cover and Pad Replacement .