GM Service Manual Online
For 1990-2009 cars only
Table 1: Auxiliary RCA Video Jacks
Table 2: Traffic Information Receiver (VICS)
Table 3: TV Antenna Module

Auxiliary RCA Video Jacks


Object Number: 258248  Size: CH

Connector Part Information

    • 12065398
    • 8-Way F Metri-Pack 150 Series (NAT)

Pin

Wire Color

Circuit No.

Function

A

TAN

2057

Auxiliary Video Low Signal

B

WHT

2058

Auxiliary Audio Right Signal

C

PPL

2056

Auxiliary Video High Signal

D

PNK

2060

Auxiliary Detection Signal

E

YEL

2059

Auxiliary Audio Left Signal

F

BARE

814

Drain Wire

G-H

--

--

Not Used

Traffic Information Receiver (VICS)


Object Number: 820098  Size: CH

Connector Part Information

    • 15393848
    • 10-Way F 050 Unsealed Series (BLK)

Pin

Wire Color

Circuit No.

Function

1

GRY

5383

Traffic Information Signal (+)

2

BRN

5384

Traffic Information Signal (-)

3

ORN

3240

Battery Positive Voltage

4

YEL

43

Accessory Voltage

5

BLK/WHT

851

Ground

6

YEL

5385

Traffic Information Request Signal

7

BARE

814

Drain Wire

8-10

--

--

Not Used

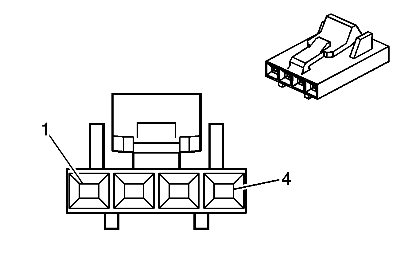
TV Antenna Module


Object Number: 603095  Size: CH

Connector Part Information

    • 16198556
    • 4-Way F MODU Series IV (BLK)

Pin

Wire Color

Circuit No.

Function

1

LT GRN/WHT

2707

Antenna Select Signal (-)

2

GRY

1698

Antenna Select Supply Voltage

3

DK BLU/WHT

1849

Antenna Select Baud 2 Signal (+)

4

BLU/WHT

1801

Antenna Select Baud 1 Signal (+)