GM Service Manual Online
For 1990-2009 cars only

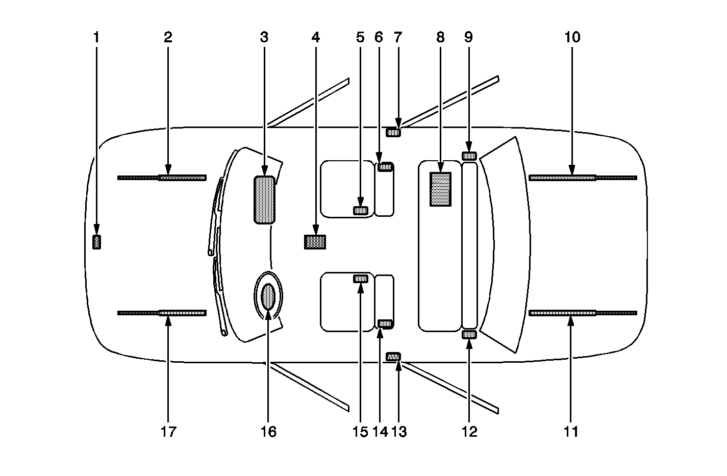
The SIR Identification Views shown below illustrate the approximate location of all SIR components available for the vehicle. This will assist in determining the appropriate SIR Disabling and Enabling for a given service procedure, refer to SIR Disabling and Enabling .

Cadillac DeVille


Object Number: 839774  Size: MF
(1)Front End Sensor--Located on the front of the vehicle in the engine compartment
(2)Front Hood Assist Rod--A gas shock located under the front hood on the passenger side
(3)I/P Air Bag--Located at the top right under the instrument panel
(4)Sensing and Diagnostic Module (SDM)--Located underneath the vehicle carpet under the center console
(5)Seat Belt Pretensioner--Located on the inboard side of the passenger seat
(6)RF Side Impact Air Bag--Located on the seat back of passenger seat
(7)Side Impact Sensor (SIS)--Located under the center pillar trim near the bottom
(8)Vehicle Battery--Located under the rear seat bottom on passenger side
(9)RR Side Impact Air Bag--Located behind rear seat back on passenger side if equipped
(10)Rear Compartment Lid Assist Rod--A gas shock is located under the rear trunk lid on the passenger side
(11)Rear Compartment Lid Assist Rod--A gas shock is located under the rear trunk lid on the driver side
(12)LR Side Impact Air Bag--Located behind rear seat back on driver side if equipped
(13)Side Impact Sensor (SIS)--Located under the center pillar trim near the bottom
(14)LF Side Impact Air Bag--Located on the seat back of driver seat
(15)Seat Belt Pretensioner--Located on the inboard side of the driver seat
(16)Steering Wheel Air Bag--Located on the steering wheel
(17)Front Hood Assist Rod--A gas shock located under the front hood on the driver side