GM Service Manual Online
For 1990-2009 cars only
Makes
🢒
Cadillac
🢒
2005
🢒
DeVille
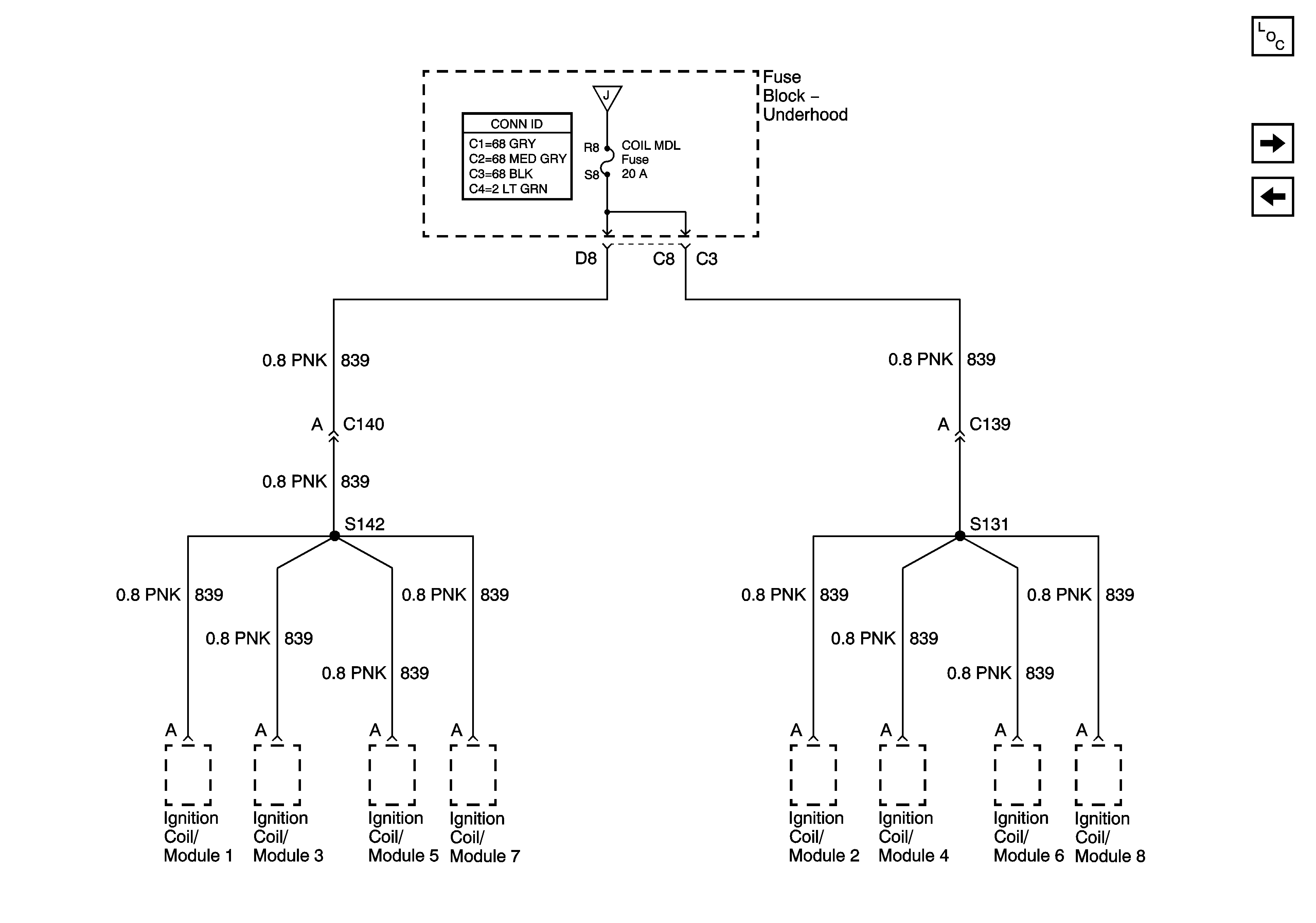
🢒 Underhood Fuse Block- COIL/MDL Fuse
Underhood Fuse Block- COIL/MDL Fuse
Underhood Fuse Block- COIL/MDL Fuse
Master Electrical Component List
Underhood Fuse Block- INJR 1 and INJR 2 Fuses
Underhood Fuse Block- OXY SEN, CR CONT, MDL COIL, TRANS Fuses
Underhood Fuse Block- OXY SEN, CR CONT, MDL COIL, TRANS Fuses