GM Service Manual Online
For 1990-2009 cars only
Makes
🢒
Cadillac
🢒
2005
🢒
DeVille
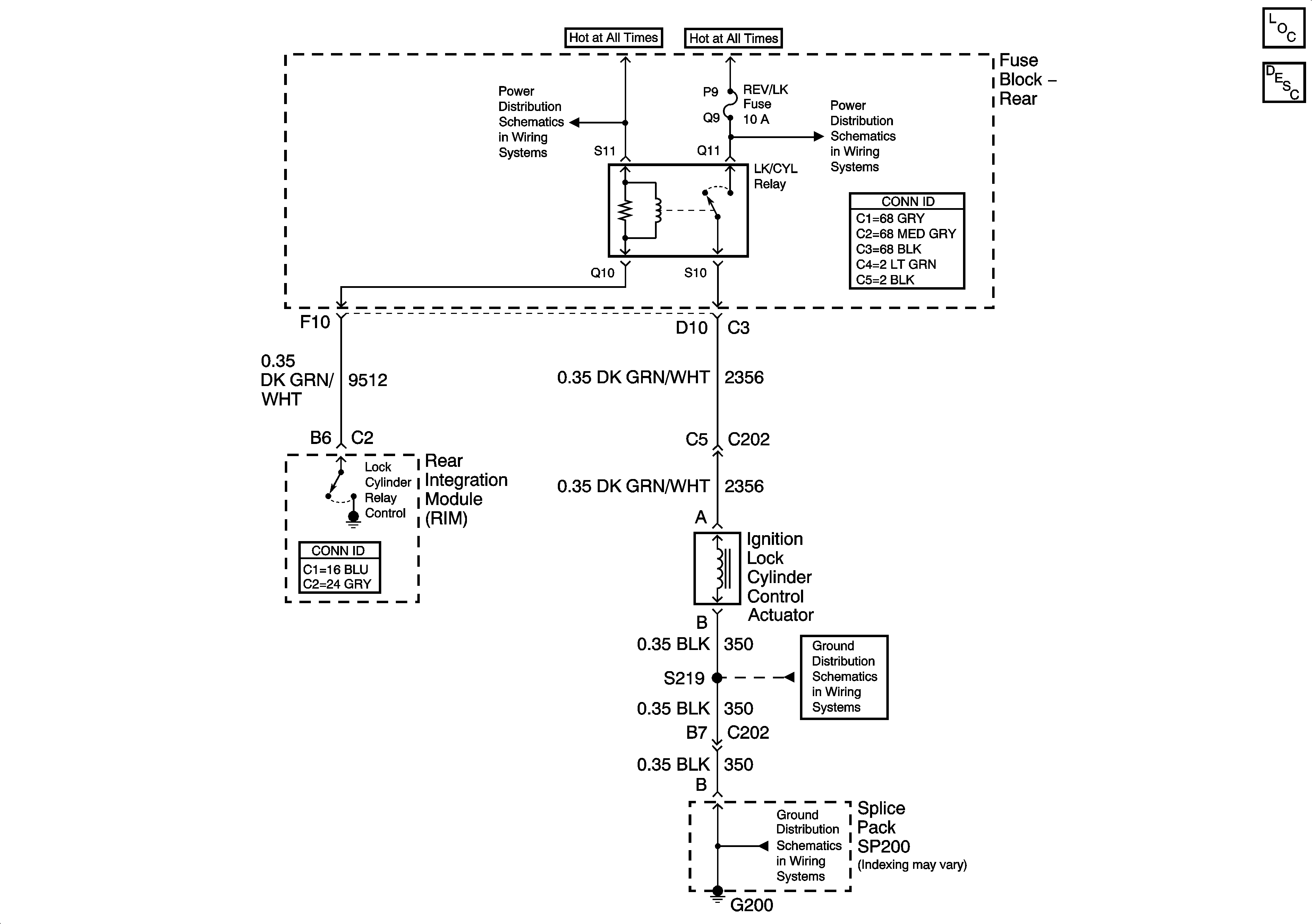
🢒 Column/Ignition Lock Schematics
Column/Ignition Lock Schematics
Master Electrical Component List
Steering Wheel and Column Description and Operation
Rear Fuse Block Battery Voltage
Rear Fuse Block Battery Voltage
G200
G200