GM Service Manual Online
For 1990-2009 cars only
Makes
🢒
Cadillac
🢒
2005
🢒
DeVille
🢒 Steering Controls Schematics
Steering Controls Schematics
Master Electrical Component List
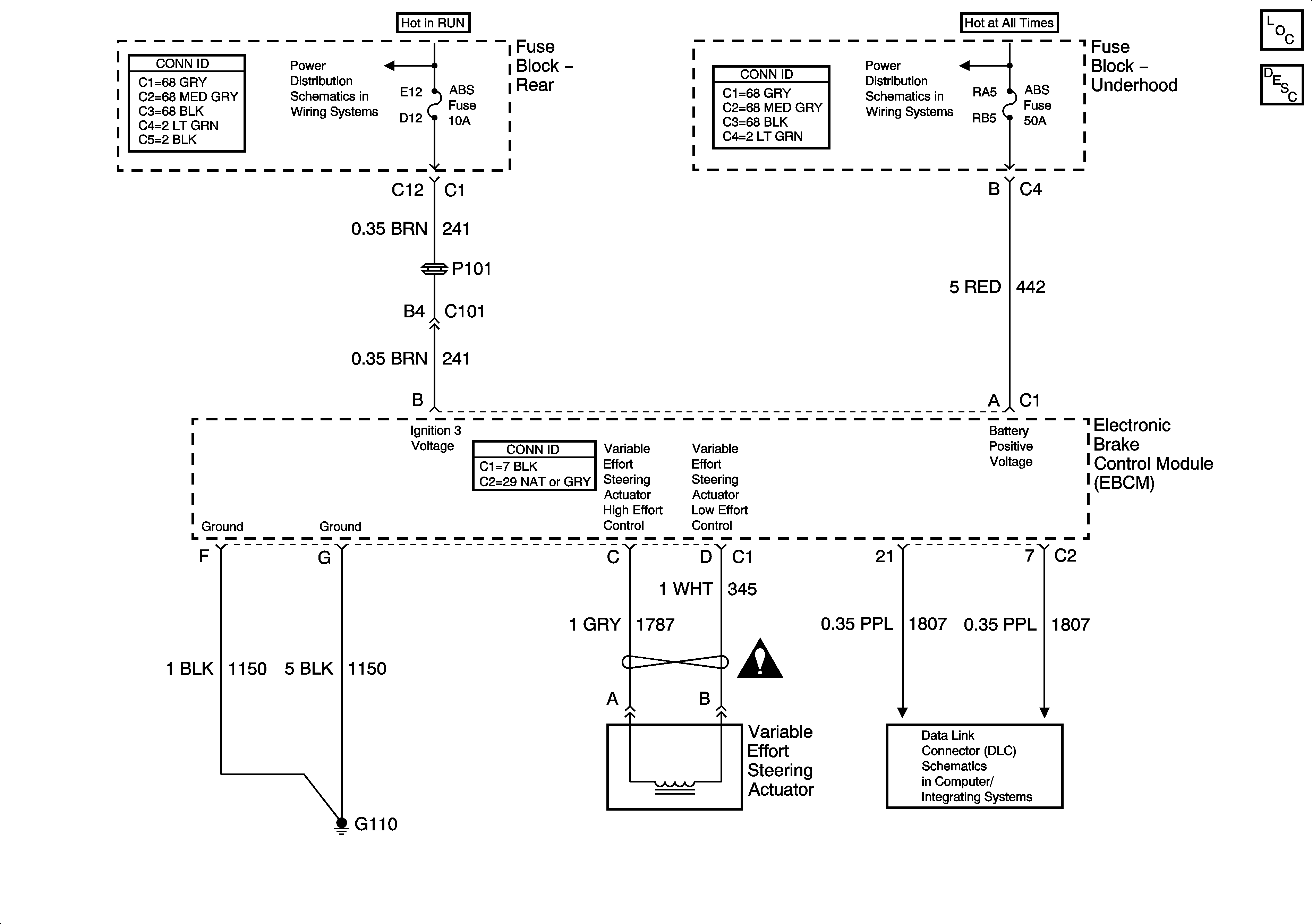
Variable Effort Steering System Description and Operation
ELC, NIGHT VISION, HVAC, and ABS Fuses and ELC Relay
ABS, AIR PUMP, C/LTR 1, and C/LTR 2 Fuses
Steering Assist Schematic Icons
Class 2 Serial Data (1 of 3)