GM Service Manual Online
For 1990-2009 cars only
Makes
🢒
Cadillac
🢒
2005
🢒
DeVille
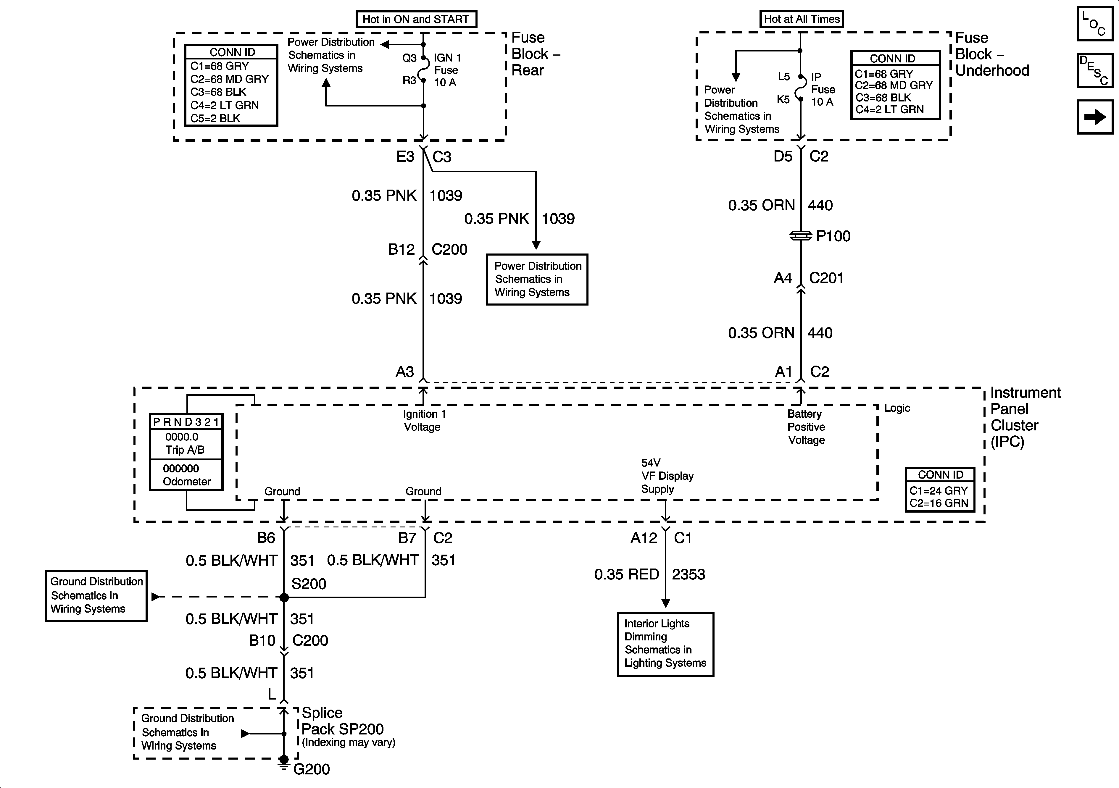
🢒 Power, Ground, Class 2 and 54 V, and VF Display Supply
Power, Ground, Class 2 and 54 V, and VF Display Supply
Power, Ground, and 54V VF Display Supply
Master Electrical Component List
Instrument Cluster Description and Operation
Gages
Rear Fuse Block Battery Voltage
ALDL, PCM BATT, and I/P Fuses
SIR, VENT SOL, and IGN 1 Fuse and IGN 1 Relay
G200
G200
Class 2 Dimming Communication