GM Service Manual Online
For 1990-2009 cars only
Makes
🢒
Cadillac
🢒
2005
🢒
DeVille
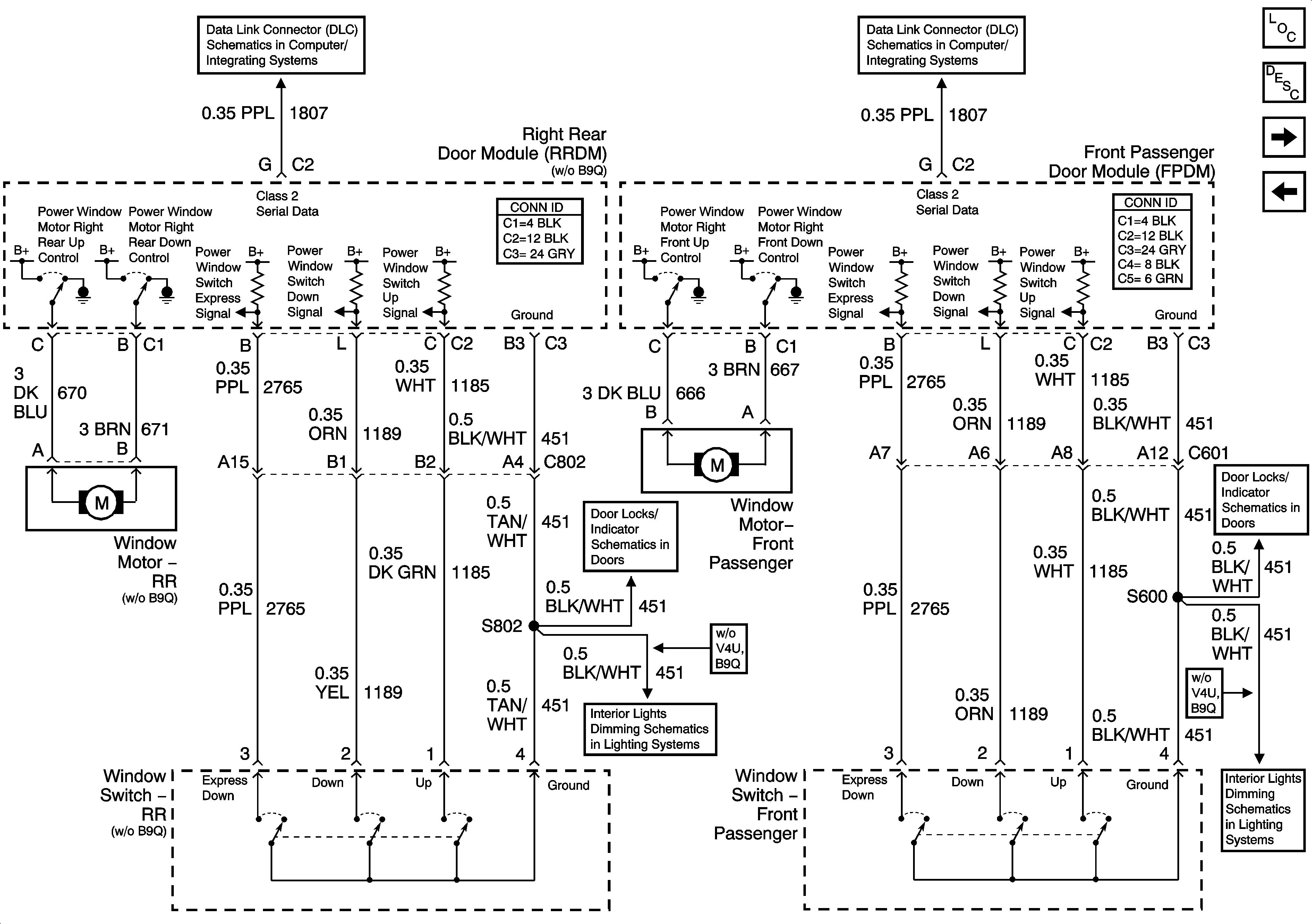
🢒 Right Power Windows
Right Power Windows
Right Power Windows
Master Electrical Component List
Power Windows Description and Operation
Driver Power Window w/Express
Left Power Windows
Class 2 Serial Data (2 of 3)
Class 2 Serial Data (2 of 3)
Right Rear Door Power Door Lock (w/o B9Q)
Right Front Door Power Door Lock
Rear Door Dimming
Front Door Dimming