GM Service Manual Online
For 1990-2009 cars only
Makes
🢒
Cadillac
🢒
2005
🢒
DeVille
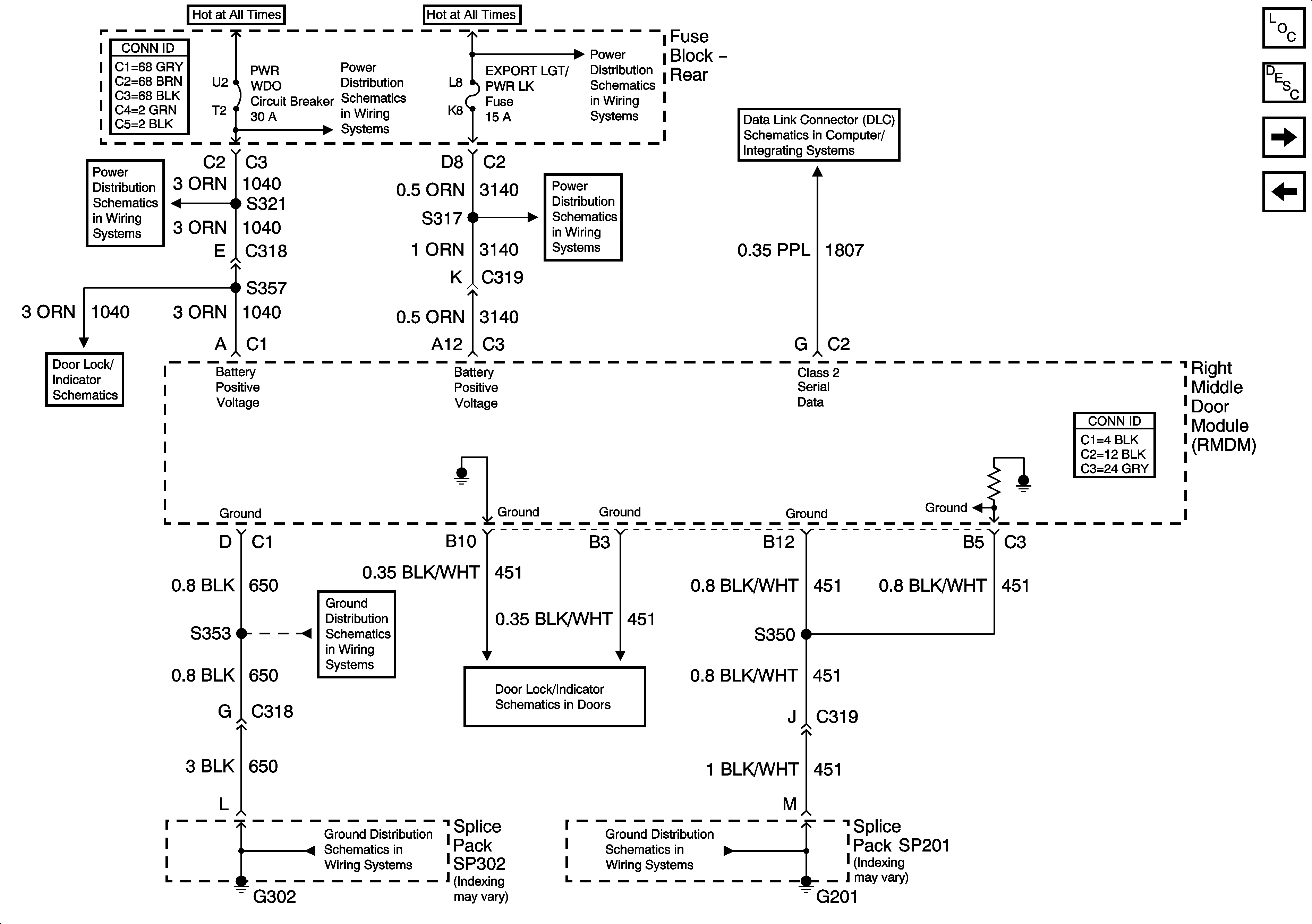
🢒 Right Middle Door Module (RMDM) Power and Grounds Inputs and Outputs (V4U)
Right Middle Door Module (RMDM) Power and Grounds Inputs and Outputs (V4U)
Right Middle Door Module (RMDM) Power, Ground Inputs and Outputs (V4U)
Master Electrical Component List
Power Door Locks Description and Operation
Left Rear Door Module (LRDM) Power and Ground Inputs and Outputs
Left Middle Door Module (LMDM) Power and Ground Inputs and Outputs (V4U)
Power Door Locks Middle Door Release (V4U) - 2 of 2
PWR WDO Circuit Breaker
PWR WDO Circuit Breaker
AUDIO AMP and EXPORT LTG/PWR LK Fuses
Rear Fuse Block Battery Voltage
Class 2 Serial Data (2 of 3)
G302 - 3 of 3
Right Middle Door Power Door Lock (V4U)
G302 - 3 of 3
G201 - 3 of 3