GM Service Manual Online
For 1990-2009 cars only
Makes
🢒
Cadillac
🢒
2005
🢒
DeVille
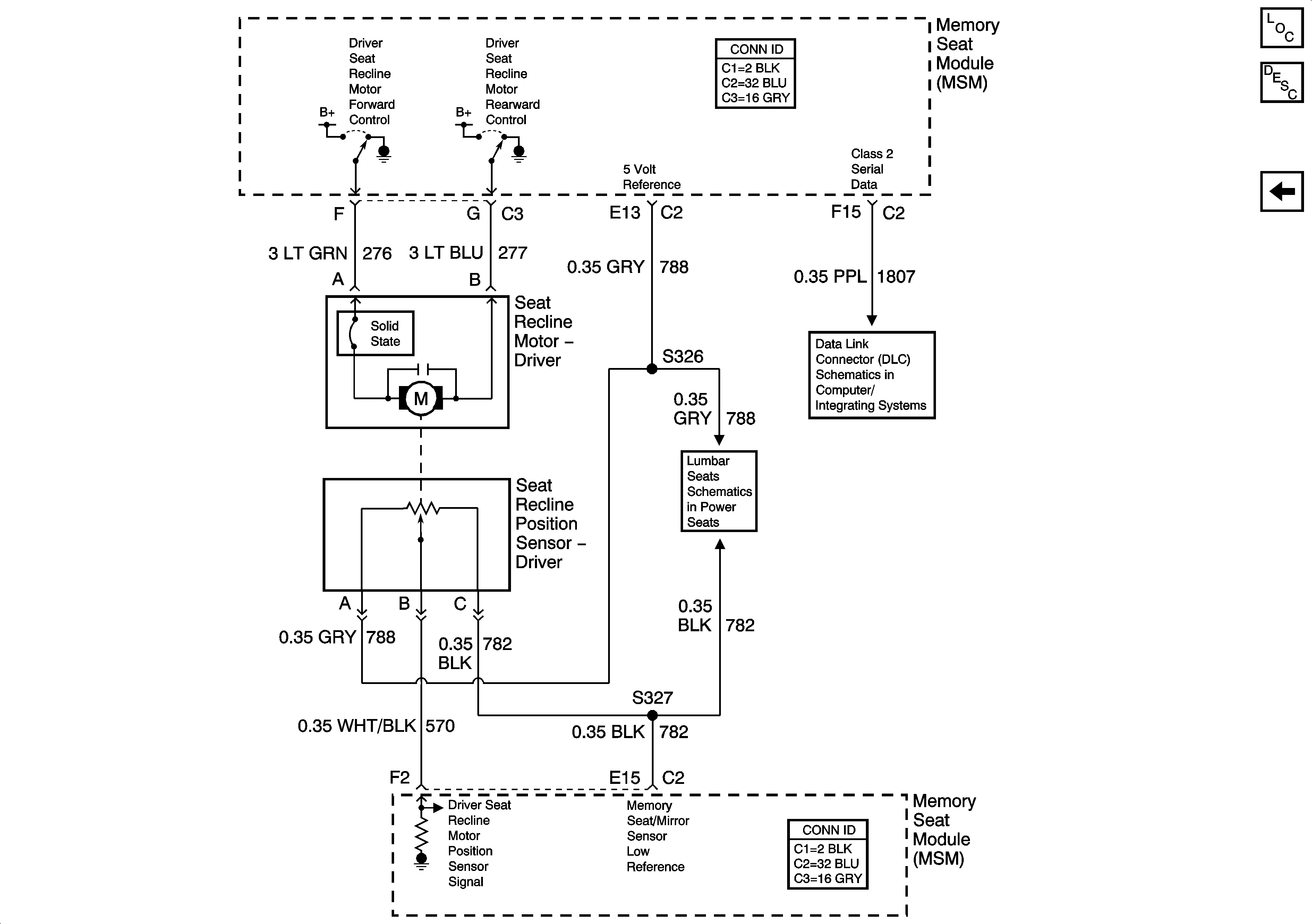
🢒 Recline Position Sensors and Class 2 (A45)
Recline Position Sensors and Class 2 (A45)
Recline Position Sensors and Class 2 (A45)
Master Electrical Component List
Memory Seats Description and Operation
Vertical and Horizontal Position Sensors (A45)
Memory Lumbar Seat (A45/AL2)
Class 2 Serial Data (3 of 3)