GM Service Manual Online
For 1990-2009 cars only

DOOR GLASS SLAP OR RATTLE WHEN CLOSING DOOR

SUBJECT: DOOR GLASS SLAP OR RATTLE WHEN CLOSING DOOR WITH WINDOW DOWN (INSTALL SPACER)

MODELS: 1992-95 CADILLAC ELDORADO - 1995 MODELS BUILT PRIOR TO VIN BREAKPOINT SU618754

CONDITION:

SOME OWNERS MAY COMMENT ON A SLAP OR RATTLE NOISE IN THE DOOR WHEN CLOSING WITH THE WINDOW DOWN.

CAUSE:

THE DOOR GLASS MAY BE TOO CLOSE TO THE REAR GLASS RUN CHANNEL WHEN IN THE DOWN POSITION CAUSING IT TO HIT THE CHANNEL WHEN THE DOOR IS SLAMMED OR DRIVING OVER BUMPS.

CORRECTION:

INSTALL SPACER, P/N 10127825, USING THE FOLLOWING PROCEDURE.

1. LOWER WINDOW TO FULL DOWN POSITION.

2. REMOVE DOOR TRIM PANEL. REFER TO SECTION 10-6 IN THE SERVICE MANUAL.

3. REMOVE INNER BELT SEALING STRIP.

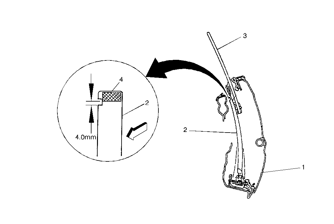
4. CLEAN UPPER END OF REAR GLASS CHANNEL (SEE FIGURE 1), WITH AN APPROPRIATE METAL CLEANER.

IMPORTANT: IT IS NOT NECESSARY TO LOOSEN GLASS RUN CHANNEL BOLT.

5. ATTACH SPACER, P/N 10127825, TO AREA SHOWN IN FIGURE 1.

6. REINSTALL INNER BELT SEALING STRIP.

7. REINSTALL DOOR TRIM PANEL.

PARTS INFORMATION:

PARTS ARE CURRENTLY AVAILABLE FROM GMSPO.

WARRANTY INFORMATION:

FOR VEHICLES REPAIRED UNDER WARRANTY, USE:

LABOR OPERATION NUMBER: C0120 (RH) C0121 (LH) LABOR TIME: 0.3 HR

FIGURES: 01 ATTACHMENTS: 00

FIGURE 1: 1. DOOR ASSEMBLY 2. REAR RUN CHANNEL 3. DOOR GLASS 4. SPACER LOCATION


Object Number: 82704  Size: FS

GENERAL MOTORS BULLETINS ARE INTENDED FOR USE BY PROFESSIONAL TECHNICIANS, NOT A "DO-IT-YOURSELFER". THEY ARE WRITTEN TO INFORM THOSE TECHNICIANS OF CONDITIONS THAT MAY OCCUR ON SOME VEHICLES, OR TO PROVIDE INFORMATION THAT COULD ASSIST IN THE PROPER SERVICE OF A VEHICLE. PROPERLY TRAINED TECHNICIANS HAVE THE EQUIPMENT, TOOLS, SAFETY INSTRUCTIONS AND KNOW-HOW TO DO A JOB PROPERLY AND SAFELY. IF A CONDITION IS DESCRIBED, DO NOT ASSUME THAT THE BULLETIN APPLIES TO YOUR VEHICLE, OR THAT YOUR VEHICLE WILL HAVE THAT CONDITION. SEE A GENERAL MOTORS DEALER SERVICING YOUR BRAND OF GENERAL MOTORS VEHICLE FOR INFORMATION ON WHETHER YOUR VEHICLE MAY BENEFIT FROM THE INFORMATION.

COPYRIGHT 1995 GENERAL MOTORS CORPORATION. ALL RIGHTS RESERVED.