GM Service Manual Online
For 1990-2009 cars only

Instrument Panel Assembly Removal DeVille

Removal Procedure

    Caution: Unless directed otherwise, the ignition and start switch must be in the OFF or LOCK position, and all electrical loads must be OFF before servicing any electrical component. Disconnect the negative battery cable to prevent an electrical spark should a tool or equipment come in contact with an exposed electrical terminal. Failure to follow these precautions may result in personal injury and/or damage to the vehicle or its components.

  1. Disconnect the negative battery cable.
  2. Caution: This vehicle is equipped with a Supplemental Inflatable Restraint (SIR) System. Failure to follow the correct procedure could cause the following conditions:

       • Air bag deployment
       • Personal injury
       • Unnecessary SIR system repairs
    In order to avoid the above conditions, observe the following guidelines:
       • Refer to SIR Component Views in order to determine if you are performing service on or near the SIR components or the SIR wiring.
       • If you are performing service on or near the SIR components or the SIR wiring, disable the SIR system. Refer to Disabling the SIR System.

  3. Disable the SIR system. Refer to Disabling the SIR System in SIR.
  4. Remove the upper trim pad. Refer to Instrument Panel Upper Trim Pad Replacement .
  5. Remove the steering column opening bracket. Refer to Knee Bolster Replacement .
  6. Remove the instrument panel cluster. Refer to Instrument Cluster Replacement .
  7. Remove the front dash speaker. Refer to Radio Front Speaker Replacement in Entertainment.
  8. Remove the right sound insulator. Refer to Instrument Panel Insulator Panel Replacement - Right Side .
  9. Remove the storage compartment. Refer to Instrument Panel Storage Compartment Replacement .
  10. Remove the PSIR module. Refer to Inflatable Restraint Instrument Panel Module Replacement in SIR.
  11. Remove the IP trim plates. Refer to both of the following procedures:
  12. •  Instrument Panel Trim Panel Replacement - Left Side
    •  Instrument Panel Trim Panel Replacement - Right Side
  13. Remove the radio. Refer to Radio Replacement in Entertainment.
  14. Release the ashtray lock tab and remove the ashtray carrier from the bracket.
  15. Disconnect the electrical connector.

  16. Remove the headlamp switch. Refer to Headlamp Switch Replacement in Lighting Systems.
  17. Remove the steering column. Refer to Steering Column Replacement in Steering Wheel and Column-Tilt.
  18. Remove the hood latch release handle. Refer to Hood Primary Latch Release Cable Handle Replacement in Body Front End.

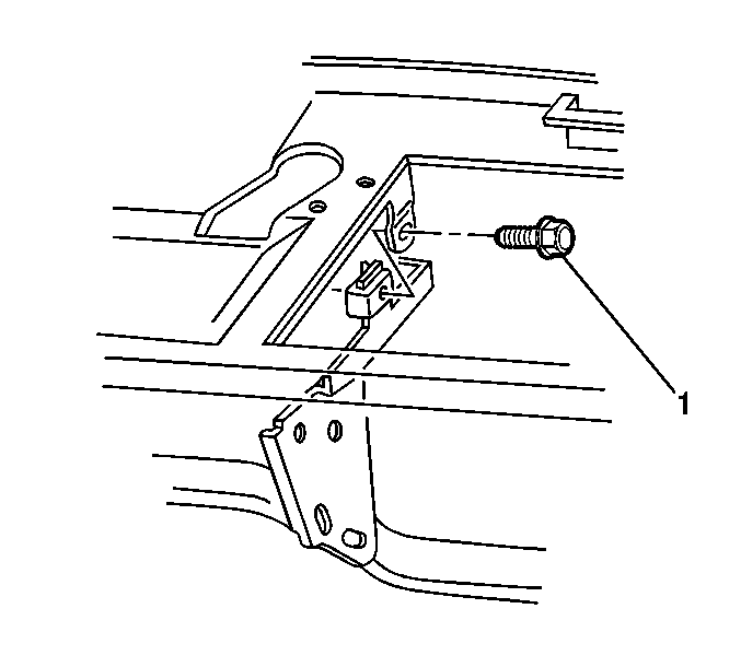
  19. Object Number: 493857  Size: SH
  20. Remove the right IP to tie bar fastener (1).

  21. Object Number: 493872  Size: MH
  22. Remove the IP to tie bar fasteners (2).
  23. Remove the lower IP to bracket fasteners (1).
  24. Remove the IP to dash panel fastener (4).
  25. Remove the instrument panel to dash panel fasteners (3).
  26. Partially remove the IP.
  27. Disconnect the electrical connectors.

    Guide shifter cable through IP.

  28. Remove the instrument panel with aid of a helper.

Installation Procedure

    Important: Ensure that the shims at the bottom edge of the instrument panel are intact and fit properly.

  1. Partially install the instrument panel.
  2. Guide shifter cable through IP.

    Connect the electrical connectors.

  3. Align the IP to the mounting brackets.

  4. Object Number: 493872  Size: MH

    Notice: Use the correct fastener in the correct location. Replacement fasteners must be the correct part number for that application. Fasteners requiring replacement or fasteners requiring the use of thread locking compound or sealant are identified in the service procedure. Do not use paints, lubricants, or corrosion inhibitors on fasteners or fastener joint surfaces unless specified. These coatings affect fastener torque and joint clamping force and may damage the fastener. Use the correct tightening sequence and specifications when installing fasteners in order to avoid damage to parts and systems.

  5. Install the instrument panel fasteners (3).
  6. Tighten
    Tighten the fasteners to 2 N·m (18 lb in).

  7. Install the IP to dash panel fastener (4).
  8. Tighten
    Tighten the fastener to 9 N·m (80 lb in).

  9. Install the lower IP to bracket fasteners (1).
  10. Tighten
    Tighten the fasteners to 11 N·m (97 lb in).

  11. Install the IP to tie bar fasteners (2).
  12. Tighten
    Tighten the fasteners to 2 N·m (18 lb in).


    Object Number: 493857  Size: SH
  13. Install the right IP to tie bar fastener (1).
  14. Tighten
    Tighten the fastener to 2 N·m (18 lb in).

  15. Install the hood latch release handle. Refer to Hood Primary Latch Release Cable Handle Replacement in Body Front End.
  16. Install the steering column. Refer to Steering Column Replacement in Steering Wheel and Column-Tilt.
  17. Install the headlamp switch module. Refer to Headlamp Switch Replacement in Lighting Systems.
  18. Partially install the ashtray connect the electrical connector.
  19. Install the ashtray carrier to the bracket.

  20. Install the radio. Refer to Radio Replacement in Entertainment.
  21. Install the IP trim panels. Refer to both of the following procedures:
  22. •  Instrument Panel Trim Panel Replacement - Left Side
    •  Instrument Panel Trim Panel Replacement - Right Side
  23. Install the PSIR module. Refer to Inflatable Restraint Instrument Panel Module Replacement in SIR.
  24. Install the storage compartment. Refer to Instrument Panel Storage Compartment Replacement .
  25. Install the right sound insulator. Refer to Instrument Panel Insulator Panel Replacement - Right Side .
  26. Install the front dash speaker. Refer to Radio Front Speaker Replacement in Entertainment.
  27. Install the instrument panel cluster. Refer to Instrument Cluster Replacement .
  28. Install the steering column opening bracket. Refer to Knee Bolster Replacement .
  29. Install the upper trim pad. Refer to Instrument Panel Upper Trim Pad Replacement .
  30. Enable the SIR system. Refer to Enabling the SIR System in SIR.
  31. Connect the negative battery cable.

Instrument Panel Assembly Removal Eldorado

Removal Procedure

    Caution: Unless directed otherwise, the ignition and start switch must be in the OFF or LOCK position, and all electrical loads must be OFF before servicing any electrical component. Disconnect the negative battery cable to prevent an electrical spark should a tool or equipment come in contact with an exposed electrical terminal. Failure to follow these precautions may result in personal injury and/or damage to the vehicle or its components.

  1. Disconnect the negative battery cable.
  2. Caution: This vehicle is equipped with a Supplemental Inflatable Restraint (SIR) System. Failure to follow the correct procedure could cause the following conditions:

       • Air bag deployment
       • Personal injury
       • Unnecessary SIR system repairs
    In order to avoid the above conditions, observe the following guidelines:
       • Refer to SIR Component Views in order to determine if you are performing service on or near the SIR components or the SIR wiring.
       • If you are performing service on or near the SIR components or the SIR wiring, disable the SIR system. Refer to Disabling the SIR System.

  3. Disable the SIR system. Refer to Disabling the SIR System in SIR.
  4. Remove the center console . Refer to Console Replacement .
  5. Remove the steering column opening bracket. Refer to Knee Bolster Replacement .
  6. Remove the instrument panel cluster. Refer to Instrument Cluster Replacement .
  7. Remove the right sound insulator. Refer to Instrument Panel Insulator Panel Replacement - Right Side
  8. Remove the storage compartment. Refer to Instrument Panel Storage Compartment Replacement .
  9. Remove the PSIR module. Refer to Inflatable Restraint Instrument Panel Module Replacement in SIR.
  10. Remove the IP trim panels. Refer to both of the following procedures:
  11. •  Instrument Panel Trim Panel Replacement - Left Side
    •  Instrument Panel Trim Panel Replacement - Right Side
  12. Remove the headlamp switch. Refer to Headlamp Switch Replacement in Lighting Systems.
  13. Remove the steering column. Refer to Steering Column Replacement in Steering Wheel and Column-Tilt.
  14. Remove the hood latch release handle. Refer to Hood Primary Latch Release Cable Handle Replacement in Body Front End.

  15. Object Number: 493857  Size: SH
  16. Remove the right instrument panel to tie bar fastener (1).

  17. Object Number: 493859  Size: MH
  18. Remove the instrument panel to tie bar fasteners (2).
  19. Remove the lower IP to bracket fasteners (1).
  20. Remove the IP to dash panel fastener (4).
  21. Remove the IP to dash panel fasteners (3).
  22. Partially remove the IP.
  23. Disconnect the electrical connectors.

  24. Remove the instrument panel with aid of a helper.

Installation Procedure

    Important: Ensure that the shims at the bottom edge of the instrument panel are intact and fit properly.

  1. Partially install the instrument panel.
  2. Connect the electrical connectors.

  3. Align the IP to the mounting brackets.

  4. Object Number: 493859  Size: MH

    Notice: Use the correct fastener in the correct location. Replacement fasteners must be the correct part number for that application. Fasteners requiring replacement or fasteners requiring the use of thread locking compound or sealant are identified in the service procedure. Do not use paints, lubricants, or corrosion inhibitors on fasteners or fastener joint surfaces unless specified. These coatings affect fastener torque and joint clamping force and may damage the fastener. Use the correct tightening sequence and specifications when installing fasteners in order to avoid damage to parts and systems.

  5. Install the instrument panel fasteners (3).
  6. Tighten
    Tighten the fasteners to 2 N·m (18 lb in).

  7. Install the IP to dash panel fastener (4).
  8. Tighten
    Tighten the fastener to 9 N·m (80 lb in).

  9. Install the lower IP to bracket fasteners (1).
  10. Tighten
    Tighten the fasteners to 11 N·m (97 lb in).

  11. Install the IP to tie bar fasteners (2).
  12. Tighten
    Tighten the fasteners to 2 N·m (18 lb in).


    Object Number: 493857  Size: SH
  13. Install the right IP to tie bar fastener (1).
  14. Tighten
    Tighten the fastener to 2 N·m (18 lb in).

  15. Install the hood latch release handle. Refer to Hood Primary Latch Release Cable Handle Replacement in Body Front End.
  16. Install the steering column. Refer to Steering Column Replacement in Steering Wheel and Column-Tilt.
  17. Install the headlamp switch module. Refer to Headlamp Switch Replacement in Lighting Systems.
  18. Install the IP trim plates. Refer to both of the following procedures:
  19. •  Instrument Panel Trim Panel Replacement - Left Side
    •  Instrument Panel Trim Panel Replacement - Right Side
  20. Install the PSIR module. Refer to Inflatable Restraint Instrument Panel Module Replacement in SIR.
  21. Install the IP storage compartment. Refer to Instrument Panel Storage Compartment Replacement .
  22. Install the right sound insulator. Refer to Instrument Panel Insulator Panel Replacement - Right Side
  23. Install the instrument panel cluster. Refer to Instrument Cluster Replacement .
  24. Install the steering column opening bracket. Refer to Knee Bolster Replacement .
  25. Install the center console. Refer to Console Replacement .
  26. Enable the SIR system. Refer to Enabling the SIR System in SIR.
  27. Connect the negative battery cable.

Instrument Panel Assembly Removal Concours

Removal Procedure

    Caution: Unless directed otherwise, the ignition and start switch must be in the OFF or LOCK position, and all electrical loads must be OFF before servicing any electrical component. Disconnect the negative battery cable to prevent an electrical spark should a tool or equipment come in contact with an exposed electrical terminal. Failure to follow these precautions may result in personal injury and/or damage to the vehicle or its components.

  1. Disconnect the negative battery cable.
  2. Caution: This vehicle is equipped with a Supplemental Inflatable Restraint (SIR) System. Failure to follow the correct procedure could cause the following conditions:

       • Air bag deployment
       • Personal injury
       • Unnecessary SIR system repairs
    In order to avoid the above conditions, observe the following guidelines:
       • Refer to SIR Component Views in order to determine if you are performing service on or near the SIR components or the SIR wiring.
       • If you are performing service on or near the SIR components or the SIR wiring, disable the SIR system. Refer to Disabling the SIR System.

  3. Disable the SIR system. Refer to Disabling the SIR System in SIR.
  4. Remove the center console . Refer to Console Replacement Ashtray Replacement (Eldorado and Deville with D55).
  5. Remove the steering column opening bracket. Refer to Knee Bolster Replacement .
  6. Remove the instrument panel cluster. Refer to Instrument Cluster Replacement .
  7. Remove the front dash speaker. Refer to Radio Front Speaker Replacement in Entertainment.
  8. Remove the right sound insulator. Refer to Instrument Panel Insulator Panel Replacement - Right Side .
  9. Remove the storage compartment. Refer to Instrument Panel Storage Compartment Replacement .
  10. Remove the PSIR module. Refer to Inflatable Restraint Instrument Panel Module Replacement in SIR.
  11. Remove the IP trim plates. Refer to both of the following procedures:
  12. •  Instrument Panel Trim Panel Replacement - Left Side
    •  Instrument Panel Trim Panel Replacement - Right Side
  13. Remove the headlamp switch. Refer to Headlamp Switch Replacement in Lighting Systems.
  14. Remove the steering column. Refer to Steering Column Replacement in Steering Wheel and Column-Tilt.
  15. Remove the hood latch release handle. Refer to Hood Primary Latch Release Cable Handle Replacement in Body Front End.

  16. Object Number: 493857  Size: SH
  17. Remove the right IP to tie bar fastener (1).

  18. Object Number: 493872  Size: MH
  19. Remove the IP to tie bar fasteners (2).
  20. Remove the lower IP to bracket fasteners (1).
  21. Remove the IP to dash panel fastener (4).
  22. Remove the instrument panel to dash panel fasteners (3).
  23. Partially remove the IP.
  24. Disconnect the electrical connectors.

  25. Remove the instrument panel with aid of a helper.

Installation Procedure

    Important: Ensure that the shims at the bottom edge of the instrument panel are intact and fit properly.

  1. Partially install the instrument panel.
  2. Connect the electrical connectors.

  3. Align the IP to the mounting brackets.

  4. Object Number: 493872  Size: MH

    Notice: Use the correct fastener in the correct location. Replacement fasteners must be the correct part number for that application. Fasteners requiring replacement or fasteners requiring the use of thread locking compound or sealant are identified in the service procedure. Do not use paints, lubricants, or corrosion inhibitors on fasteners or fastener joint surfaces unless specified. These coatings affect fastener torque and joint clamping force and may damage the fastener. Use the correct tightening sequence and specifications when installing fasteners in order to avoid damage to parts and systems.

  5. Install the instrument panel fasteners (3).
  6. Tighten
    Tighten the fasteners to 2 N·m (18 lb in).

  7. Install the IP to dash panel fastener (4).
  8. Tighten
    Tighten the fastener to 9 N·m (80 lb in).

  9. Install the lower IP to bracket fasteners (1).
  10. Tighten
    Tighten the fasteners to 11 N·m (97 lb in).

  11. Install the IP to tie bar fasteners (2).
  12. Tighten
    Tighten the fasteners to 2 N·m (18 lb in).


    Object Number: 493857  Size: SH
  13. Install the right IP to tie bar fastener (1).
  14. Tighten
    Tighten the fastener to 2 N·m (18 lb in).

  15. Install the hood latch release handle. Refer to Hood Primary Latch Release Cable Handle Replacement in Body Front End.
  16. Install the steering column. Refer to Steering Column Replacement in Steering Wheel and Column-Tilt.
  17. Install the headlamp switch. Refer to Headlamp Switch Replacement in Lighting Systems.
  18. Install the IP trim panels. Refer to both of the following procedures:
  19. •  Instrument Panel Trim Panel Replacement - Left Side
    •  Instrument Panel Trim Panel Replacement - Right Side
  20. Install the PSIR module. Refer to Inflatable Restraint Instrument Panel Module Replacement in SIR.
  21. Install the storage compartment. Refer to Instrument Panel Storage Compartment Replacement .
  22. Install the right sound insulator. Refer to Instrument Panel Insulator Panel Replacement - Right Side .
  23. Install the front dash speaker. Refer to Radio Front Speaker Replacement in Entertainment.
  24. Install the instrument panel cluster. Refer to Instrument Cluster Replacement .
  25. Install the steering column opening bracket. Refer to Knee Bolster Replacement .
  26. Install the center console. Refer to Console Replacement Ashtray Replacement (Eldorado and Deville with D55).
  27. Enable the SIR system. Refer to Enabling the SIR System in SIR.
  28. Connect the negative battery cable.