GM Service Manual Online
For 1990-2009 cars only

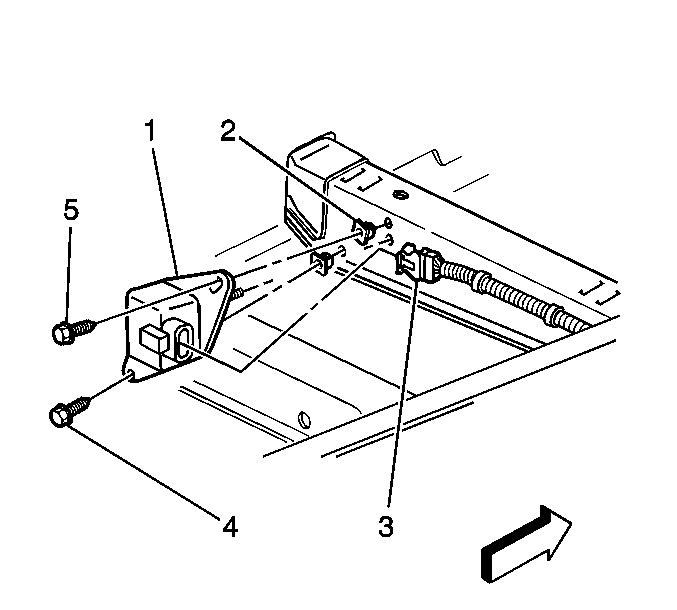
Removal Procedure


    Object Number: 446553  Size: SH
  1. Turn OFF the ignition.
  2. Remove the right front seat. Refer to Seat Replacement in Seats.
  3. Lift up the carpet and insulation in order to access the lateral accelerometer (1). Refer to Carpet Retainer Replacement in Interior Trim.
  4. Remove the 2 lateral accelerometer screws (4) and (5).
  5. Disconnect the lateral accelerometer electrical connector (3).
  6. Remove the lateral accelerometer sensor (1).

Installation Procedure


    Object Number: 446553  Size: SH
  1. Install the lateral accelerometer sensor (1) over the push nuts (2).
  2. Important: Do not tighten the srew.

  3. Install the bottom lateral accelerometer screw (4).
  4. Important: Do not tighten the srew.

  5. Install the top lateral accelerometer screw (5).
  6. Notice: Use the correct fastener in the correct location. Replacement fasteners must be the correct part number for that application. Fasteners requiring replacement or fasteners requiring the use of thread locking compound or sealant are identified in the service procedure. Do not use paints, lubricants, or corrosion inhibitors on fasteners or fastener joint surfaces unless specified. These coatings affect fastener torque and joint clamping force and may damage the fastener. Use the correct tightening sequence and specifications when installing fasteners in order to avoid damage to parts and systems.

  7. Complete the installation ot the 2 lateral accelerometer screws.
  8. Tighten
    Tighten the 2 lateral accelerometer screws to 2.4 N·m (21.2 lb in).

  9. Install the lateral accelerometer electrical connector (3).
  10. Install the carpet and insulation. Refer to Carpet Retainer Replacement in Interior Trim.
  11. Install the right front seat. Refer to Seat Replacement in Seats.
  12. Perform the ABS Diagnostic System Check. Refer to Diagnostic System Check .