GM Service Manual Online
For 1990-2009 cars only
Makes
🢒
Cadillac
🢒
1998
🢒
Eldorado
🢒
Steering
🢒
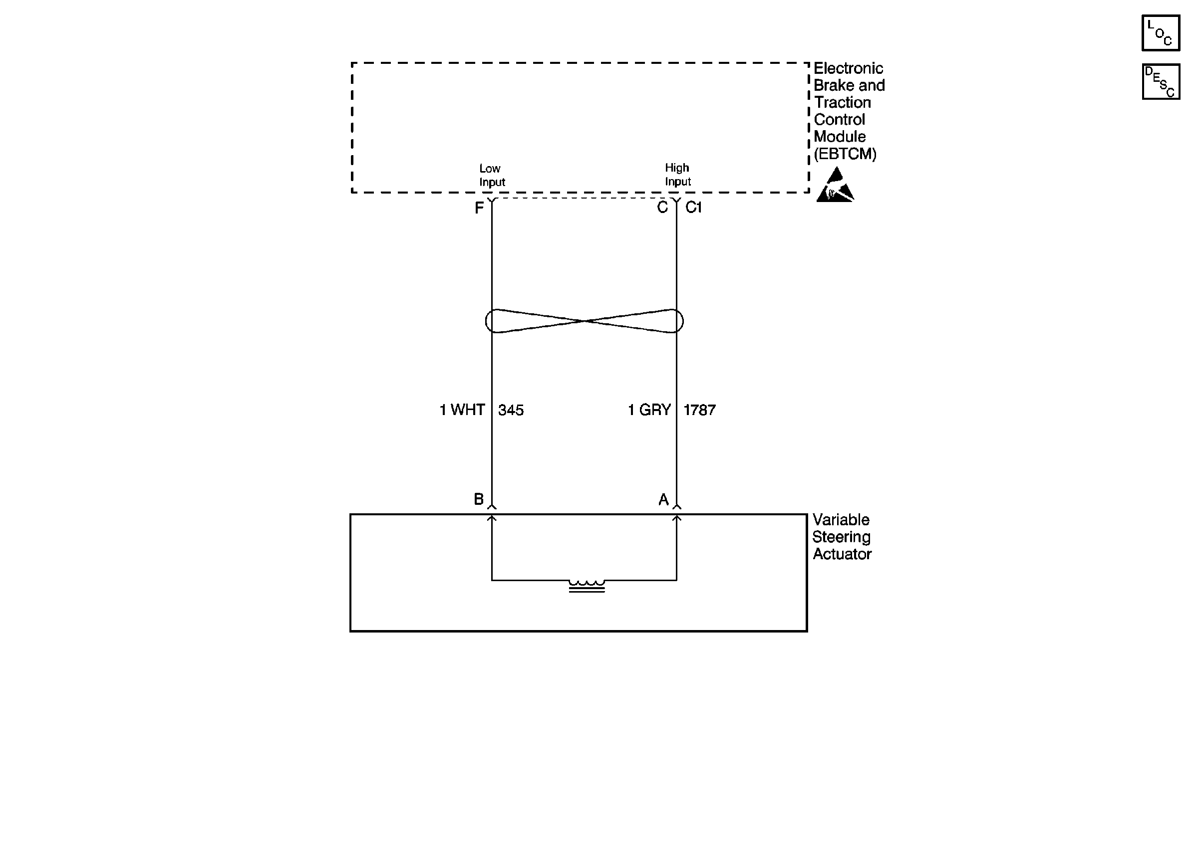
Variable Effort Steering
🢒 Steering Assist Schematics
Cell 45
Steering Controls Components
Variable Effort Steering Description
Handling ESD Sensitive Parts Notice