GM Service Manual Online
For 1990-2009 cars only

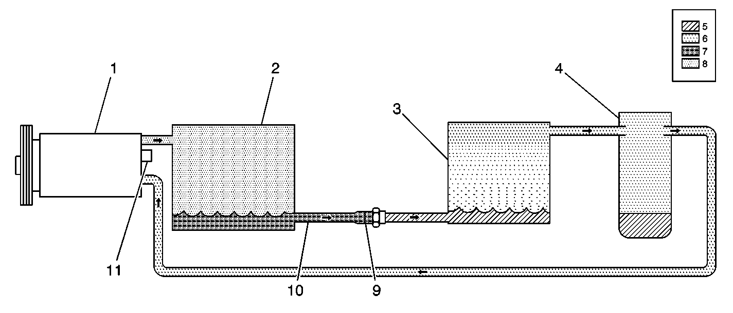
Object Number: 640596  Size: SF
(1)Compressor
(2)Condenser
(3)Evaporator
(4)Accumulator
(5)Low Pressure Liquid
(6)Low Pressure Vapor
(7)High Pressure Liquid
(8)High Pressure Vapor
(9)Expansion (Orifice) Tube
(10)Liquid Line
(11)Pressure Relief Valve

Caution: Avoid breathing the A/C Refrigerant 134a (R-134a) and the lubricant vapor or the mist. Exposure may irritate the eyes, nose, and throat. Work in a well ventilated area. In order to remove R-134a from the A/C system, use service equipment that is certified to meet the requirements of SAE J 2210 (R-134a recycling equipment). If an accidental system discharge occurs, ventilate the work area before continuing service. Additional health and safety information may be obtained from the refrigerant and lubricant manufacturers.

The refrigeration system contains the following major components:

    • A compressor (1)
    • A condenser (2)
    • An evaporator (3)
    • An expansion (orifice) tube (5)
    • An accumulator (4)

The components are interconnected by the hose and tubing connections. This system incorporates the cycling clutch expansion (orifice) tube (CCOT) refrigeration system.

The following components control the refrigeration system :

    • The heater and A/C programmer
    • The powertrain control module (PCM)
    • A low-side refrigerant temperature thermistor

The thermistor turns the compressor ON and OFF as required in order to prevent evaporator condensation freeze. The compressor runs only as much as necessary.

During the cooling operating conditions, you may notice slight increases and decreases of the engine speed/power. This characteristic is normal as the system is designed to cycle the compressor on and off in order to maintain the desired cooling.

The compressor low-pressure switch protects the compressor from operating if a low-charge condition exists. Additional compressor protection comes from the operating characteristics of the CCOT system. The low-side pressure may be too low (cold) in order to allow the heater and A/C programmer to turn on the compressor clutch for a normal cycle if one of the following conditions exist:

    • A partial low-charge condition exists.
    • The expansion (orifice) tube becomes partially blocked.

Important: If the following conditions occur, repair the system before compressor damage occurs. If the charge drops to 1/4 of the full charge, the compressor disengages.

This will be evidenced by the following symptoms:

    • The compressor clutch cycling rapidly.
    • Relatively warm air being discharged from the A/C outlets.

When you turn OFF the ignition while the air conditioning is running, the system refrigerant continues flowing until the pressure is equalized. This may result in a faint sound of liquid flowing for 30-60 seconds. This condition is normal.

An anti-slugging feature is incorporated which removes the liquid refrigerant that may collect at the compressor. This operation normally occurs once a day after a prolonged soak of several hours. On the initial crank, the heater and A/C programmer searches for indications of this condition. If this condition is found, the A/C clutch engages. Shortly after the engine starts, the clutch disengages and waits until the normal calibrations and parameters are met before signaling the engagement of the clutch.

Refrigeration Cycle

The compressor (1) discharges high-temperature, high-pressure vapor that contains heat absorbed in the evaporator (3) and heat from the compressor. This vapor flows through the tubes in the condenser (2) where the vapor releases heat to the air flow and changes to a medium-temperature, high-pressure liquid. This liquid flows through the liquid line to the orifice tube (5) where the liquid undergoes rapid expansion and changes from a medium-temperature, high-pressure liquid to a low-temperature, low-pressure liquid/vapor mixture. This cold, foamy refrigerant mixture enters the evaporator core at the bottom and flows through the parallel tubes upward through the U-flow core. Heat from the warm air flow passing through the core is transferred to the refrigerant, vaporizing the liquid and cooling the air. Under high-load conditions, all of the liquid is vaporized in the evaporator (3). Only heat-laden vapor flows to the accumulator (4) and through the suction line to the compressor (1), where the cycle is repeated. Under lighter load conditions, the liquid and the vapor are separated in the accumulator (4) so that only the vapor is drawn into the compressor (1).