GM Service Manual Online
For 1990-2009 cars only

Removal Procedure

    Caution: Unless directed otherwise, the ignition and start switch must be in the OFF or LOCK position, and all electrical loads must be OFF before servicing any electrical component. Disconnect the negative battery cable to prevent an electrical spark should a tool or equipment come in contact with an exposed electrical terminal. Failure to follow these precautions may result in personal injury and/or damage to the vehicle or its components.

  1. Disconnect the negative battery cable.
  2. Remove the right sound insulator. Refer to Instrument Panel Insulator Panel Replacement - Right Side in Instrument Panel, Gauges and Console.
  3. Remove the instrument panel compartment. Refer to Instrument Panel Storage Compartment Replacement in Instrument Panel, Gauges and Console.
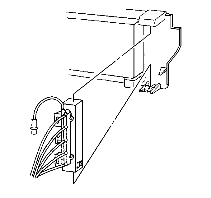
  4. Disconnect the connector.

  5. Object Number: 305027  Size: SH
  6. Remove the vacuum and electric solenoid from the vehicle.

Installation Procedure


    Object Number: 305027  Size: SH
  1. Install the vacuum and electric solenoid to the vehicle.
  2. Connect the connectors.
  3. Install the instrument panel compartment. Refer to Instrument Panel Storage Compartment Replacement in Instrument Panel, Gauges and Console.
  4. Install the right sound insulator. Refer to Instrument Panel Insulator Panel Replacement - Right Side in Instrument Panel, Gauges and Console.
  5. Connect the negative battery cable.