GM Service Manual Online
For 1990-2009 cars only

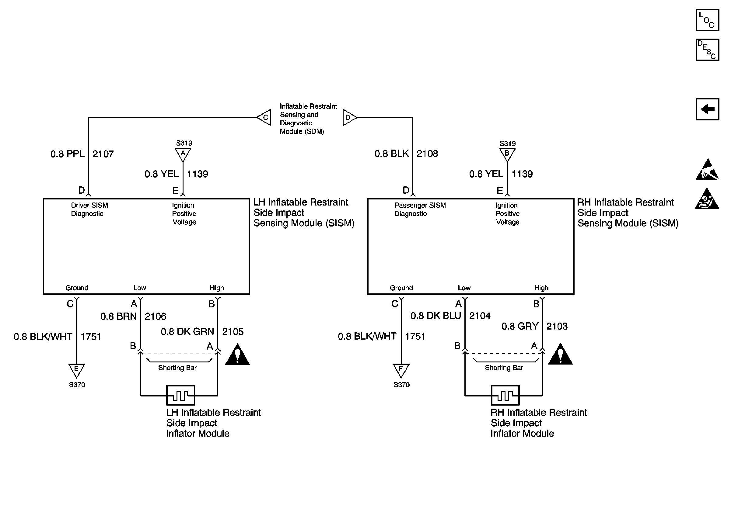
SIR Schematics DeVille

Figure 1:

Cell 47: SDM


Object Number: 239646  Size: FS
SIR Components
SIR System Component Description and Definitions
Cell 47: Side Impact
SIR Schematic Icons
SIR Schematic Icons
SIR Schematic References
SIR Schematic References
Cell 47: Side Impact
Cell 47: Side Impact
Cell 47: Side Impact
Cell 47: Side Impact
Cell 47: Side Impact
Cell 47: Side Impact
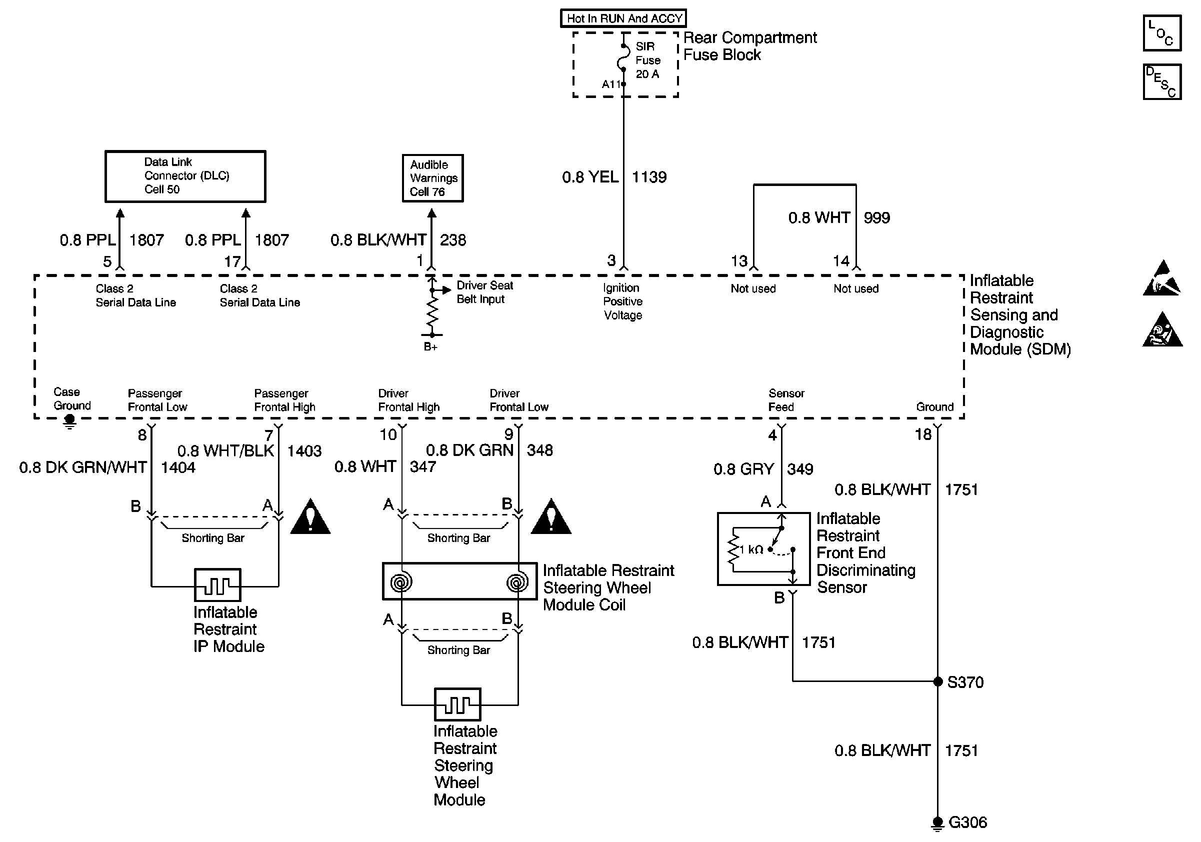
Figure 2:

Cell 47: Side Impact


Object Number: 239649  Size: FS
SIR Components
SIR System Component Description and Definitions
Cell 47: SDM
SIR Schematic Icons
SIR Schematic Icons
Cell 47: SDM
Cell 47: SDM
Cell 47: SDM
Cell 47: SDM
Cell 47: SDM
Cell 47: SDM

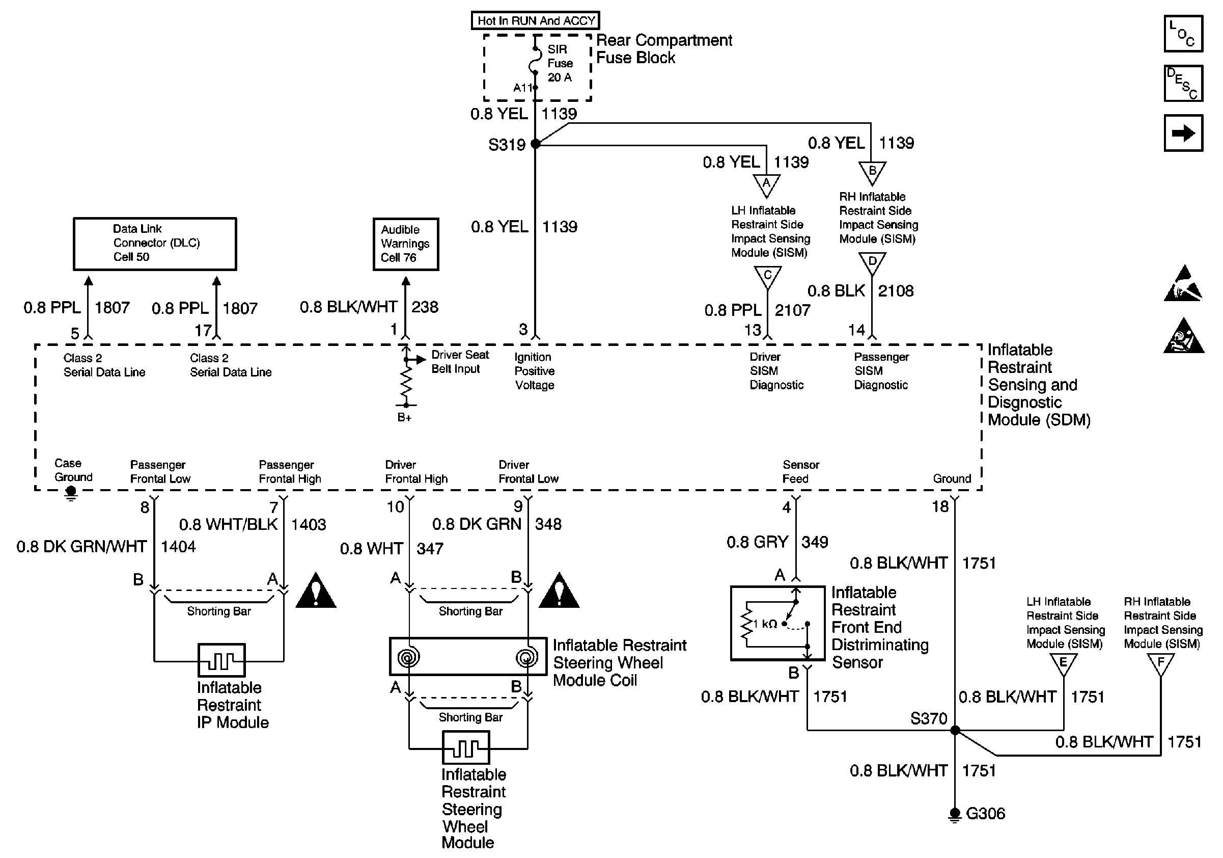
SIR Schematics Eldorado

Cell 47


Object Number: 239639  Size: FS
SIR Components
SIR System Component Description and Definitions
SIR Schematic Icons
SIR Schematic Icons
SIR Schematic References
SIR Schematic References