GM Service Manual Online
For 1990-2009 cars only

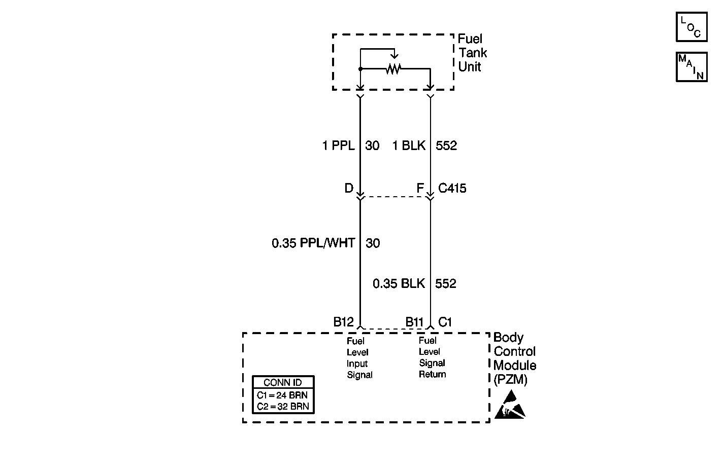
Object Number: 502365  Size: MF
Cell 51: Body Control Module (PZM) Power and Ground (2 of 2)
Body Control Module Components
Body Control System Connector End Views
Handling ESD Sensitive Parts Notice

Circuit Description

The body control module (PZM) determines the fuel level by calculating the resistance of the fuel level sender circuit. The PZM then sends the fuel level over the class 2 serial data line to the modules that require the data.

Conditions for Setting the DTC

    • DTC B0532 does not set if DTCs B1982 or B1983 are current.
    • The resistance across connector C1 terminals B12 and B11 is out of range.

Action Taken When the DTC Sets

    • The PZM sends a class 2 message to the PCM that the fuel level is too low.
    • The PZM sets B0532 as current.

Conditions for Clearing the DTC

    • The resistance across connector C1 terminals B12 and B11 is within range. The DTC changes to history.
    • The DTC clears after 50 consecutive ignition cycles if the condition no longer is present.

Step

Action

Value(s)

Yes

No

1

Was the Body Control Module Diagnostic System Check performed?

--

Go to Step 2

Go to Diagnostic System Check - Body Control System

2

  1. Turn ON the ignition switch.
  2. Clear any DTCs.
  3. Turn OFF the ignition switch.
  4. Turn ON the ignition switch.

Is the DTC still present?

--

Go to Step 3

Go to Diagnostic System Check - Body Control System

3

  1. Disconnect the body control module (PZM) connector C1.
  2. Measure the resistance between connector C1 terminals B12 and B11.

Is resistance within the specified range?

40-250 ohms

Go to Step 4

Go to Step 5

4

Replace the PZM. Refer to Body Control Module Replacement .

Is the repair complete?

--

Go to Step 10

--

5

  1. Disconnect C415.
  2. Connect a fused jumper across C415 terminals F and D (harness side).
  3. Measure the resistance between the PZM connector C1 terminals B12 and B11 using the DMM.

Is the resistance within the specified range?

5 ohms

Go to Step 6

Go to Step 7

6

Measure the resistance from the PZM connector C1 terminal B12 to ground.

Is the resistance the specified value?

Infinite

Go to Step 9

Go to Step 8

7

Repair the open in CKT 30 (PPL/WHT) or CKT 651 (BLK). Refer to Wiring Repairs in Wiring Systems.

Is the repair complete?

--

Go to Step 10

--

8

Repair the short to ground in CKT 30 (PPL/WHT) or CKT 552 (BLK). Refer to Wiring Repairs in Wiring Systems.

Is the repair complete?

--

Go to Step 10

--

9

Replace the fuel tank unit.

Is the repair complete?

--

Go to Step 10

--

10

  1. Turn OFF the ignition switch.
  2. Reconnect or install any connectors or components that were disconnected or removed.
  3. Turn ON the ignition switch.
  4. Clear any DTCs.

Is the repair complete?

--

Go to Diagnostic System Check - Body Control System

--