GM Service Manual Online
For 1990-2009 cars only

Outside Moisture Sensor Replacement Rain Sensor

Removal Procedure

Important: A GM service kit is included with a new rain sensor module.


    Object Number: 259368  Size: SH
  1. Use tape (1) in order to mark the rain sensor module (2) location on the outside of the windshield.

  2. Object Number: 309346  Size: SH
  3. Disconnect the connector (1) from the rain sensor module (2).

  4. Object Number: 259368  Size: SH

    Important: Do not apply direct heat to the area around the outside moisture sensor module. Continuous exposure to heat can damage the sensor module or the windshield.

  5. Apply heat to the sensor (2) area of the windshield. Use a heat gun with a maximum of 740 watts.

  6. Object Number: 259369  Size: SH
  7. In order to remove the rain sensor (2) from the windshield, twist the sensor back and forth.
  8. Remove the rain sensor module from the windshield.

  9. Cover the instrument panel below the sensor with a protective cloth.
  10. Remove the tape residue from the windshield.
  11. Caution: If broken glass falls into the defroster outlets, it can be blown into the passenger compartment and cause personal injury.

  12. Use a sharp plastic scraper in order to remove the optical tape from the windshield.
  13. Wipe the windshield until the remaining tape residue is completely removed. Use a cloth and cleaning solution.

Installation Procedure

Important: The temperature of the windshield must be 13-38°C (55-100°F) for proper adhesion.

  1. Remove the red backing from the optical tape.
  2. Install the sensor on the windshield.

  3. Firmly push the sensor against the windshield. Hold the sensor for 10 to 15 seconds.
  4. Inspect the sensor for air bubbles between the tape and the windshield. Repeat the previous step, if incomplete adhesion or bubbles are present.

  5. Object Number: 309346  Size: SH
  6. Attach the rain sensor (2) to the windshield.
  7. Important: Do not move or shift the sensor on the windshield after installation.

  8. Connect the wiring connector (1) to the sensor (2).

  9. Object Number: 259368  Size: SH
  10. Remove the tape (1) from the windshield.
  11. Inspect the operation of the rain sensor wiping system.

Outside Moisture Sensor Replacement Rain Sensor - New Windshield

Removal Procedure

Important: A GM service kit is available for the removal and the reinstallation of the rain sensor.


    Object Number: 259370  Size: SH
  1. Disconnect the connector from the rain sensor module (3).
  2. Important: Do not apply direct heat to the area around the outside moisture sensor module. Continuous exposure to heat may damage the sensor module or the windshield.

  3. Complete the following steps in order to remove the rain sensor module (3) from the windshield:
  4. 2.1. Apply heat to the sensor area of the windshield. Use a maximum 740 watt heat gun.
    2.2. In order to remove the rain sensor from the windshield, twist the sensor back and forth.
  5. Remove the optical tape residue from the rain sensor module (3):
  6. 3.1. Place an aluminum plate (2) on the tape residue. Ensure that the plate covers the entire rain sensor module.
    3.2. Use a maximum 740 watt heat gun. Apply the heat directly to the plate for approximately 60 seconds in order to soften the tape residue.

    Use pliers in order to remove the HOT plate from the rain sensor module.

    3.3. Using your fingers or thumb, roll the tape residue down the length of the rain sensor module optical area. Repeat this step as needed in order to remove the majority of tape residue from the optical area.

            Important: Do not apply direct heat to the area around the outside moisture sensor module. Continuous exposure to heat may damage the sensor module or the windshield.

    3.4. Fill the tray to the bottom of the cut-out notch with cleaning solution. The cleaning solution is included in the service kit.

    Object Number: 259373  Size: SH
  7. Place the rain sensor module (1) in a tray (3). Allow the tape residue to soak for 15 minutes. Perform Step 1 of the installation procedure while the sensor is soaking.
  8. Important: Do not allow the cleaning solution to enter the outside moisture sensor module. The cleaning solution will damage the sensor module. If damage occurs, replace the sensor module.

  9. Using a lint free cloth and a cleaning solution, wipe the remaining tape residue off from the optical area. Repeat the previous step as needed.
  10. Less soaking time is required as the amount of tape residue becomes less.

  11. Clean the tray of all tape residue and solution.

Installation Procedure


    Object Number: 309372  Size: MH
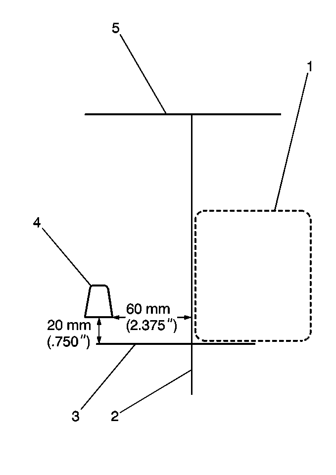
  1. Mark the location of the sensor (1) on the outside of the windshield.
  2. Use a water soluble marker or tape in order to mark the sensor locations in the following manner:

    1.1. Draw a line (2) perpendicular to the top of the windshield (5) 6 cm (2.375 in) to the right of the passenger side edge of the rear view mirror mount (4).
    1.2. Draw a line (3) parallel to the top of the windshield (5) 2 cm (.750 in) from the bottom of the rear view mirror mount (4). This line should cross the vertical line.

    Object Number: 259371  Size: SH
  3. Install the optical tape (2) to the rain sensor module (1):
  4.         Important: Do not touch the optical tape adhesive. Replace the optical tape (2) if the tape is touched or contaminated.

    2.1. Pull the blue release tab in order to remove the white backing from the optical tape (2).
    2.2. Carefully place the optical tape in a tray with the exposed adhesive in the up position.

    The red tab should rest in the cut-out notch of the tray.

    2.3. Apply primer B to the sensor using the applicator supplied in the kit. Follow the directions on the primer B applicator.

    Remove the excess adhesive using the clean cloth that is included in the service kit.

    2.4. Place the rain sensor module onto the optical tape in the tray. Firmly press down for 10-15 seconds.

            Important: Do NOT move the optical tape on the rain sensor module.

    2.5. Remove the rain sensor module from the tray. Remove the air bubbles under the tape with finger pressure.
  5. Clean the area of the windshield where the sensor is to be installed. Use a cloth and the cleaning solution included in the service kit.
  6. Important: 

       • The temperature of the windshield must be 13-38°C (55-100°F) for proper adhesion.
       • Position the rain sensor module properly prior to attaching the sensor to the windshield. The sensor may not be moved once the sensor is in contact with the windshield.

  7. Remove the red backing from the optical tape. Immediately install the rain sensor module on the windshield.
  8. Firmly push the rain sensor module against the windshield.
  9. Hold the sensor for 10-15 seconds.

  10. Inspect the sensor for air bubbles between the tape and the windshield. When incomplete adhesion or bubbles are present, repeat the previous step.
  11. Install the windshield into the vehicle.
  12. Important: Do NOT move the rain sensor module on the windshield.

  13. Connect the connector to the rain sensor module.
  14. Remove the tape or the marked lines from the windshield.
  15. Inspect the operation of the outside moisture sensing wiper system.