GM Service Manual Online
For 1990-2009 cars only

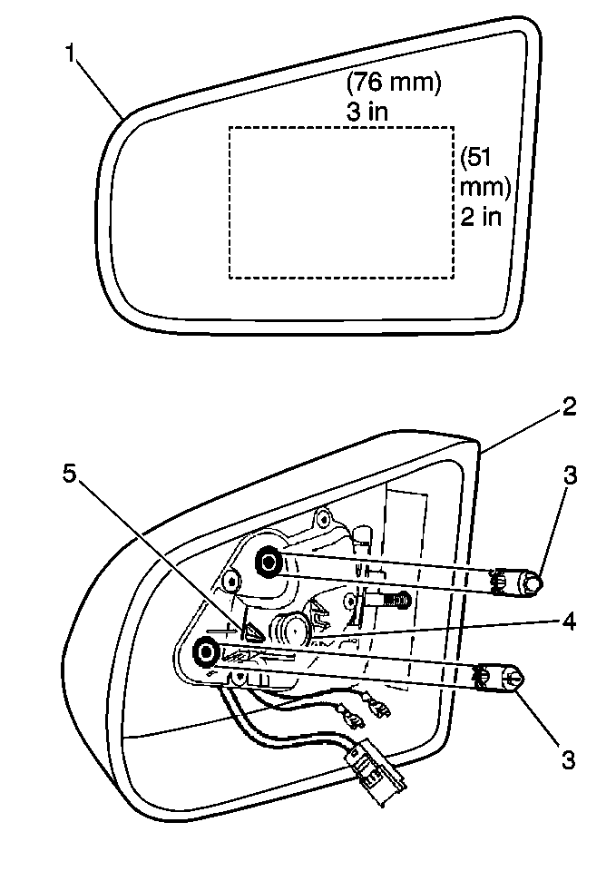
Removal Procedure


    Object Number: 320095  Size: MH
  1. Remove the mirror and the plastic backing plate by pulling the assembly out of the mirror housing (2).
  2. Disconnect the electrical connectors.
  3. Remove the actuator shafts (3) snapped into the mirror head backing.

Installation Procedure


    Object Number: 320095  Size: MH
  1. Snap the actuator shafts into the power drive unit.
  2. Connect the electrical connectors.
  3. Rotate the actuator shafts (3) in order to align the ears with the corresponding slots in the back side of the mirror face.
  4. Align the swivel (4) on the power drive unit (5) to the pivot points on the mirror backing plate.
  5. Using the block, perform the following steps:
  6. 5.1. Push in the block until a snap is heard.
    5.2. Tilt the mirror toward the upper actuator shaft (3).
    5.3. Apply pressure on the block until the ratchet sound stops.
    5.4. Tilt the mirror toward the outside actuator shaft (3).
    5.5. Apply pressure on the block until the ratchet sound stops.
  7. Cycle the mirror for proper operation. If the system is not operating properly, inspect the actuator shaft alignments.