GM Service Manual Online
For 1990-2009 cars only
Makes
🢒
Cadillac
🢒
1998
🢒
Eldorado
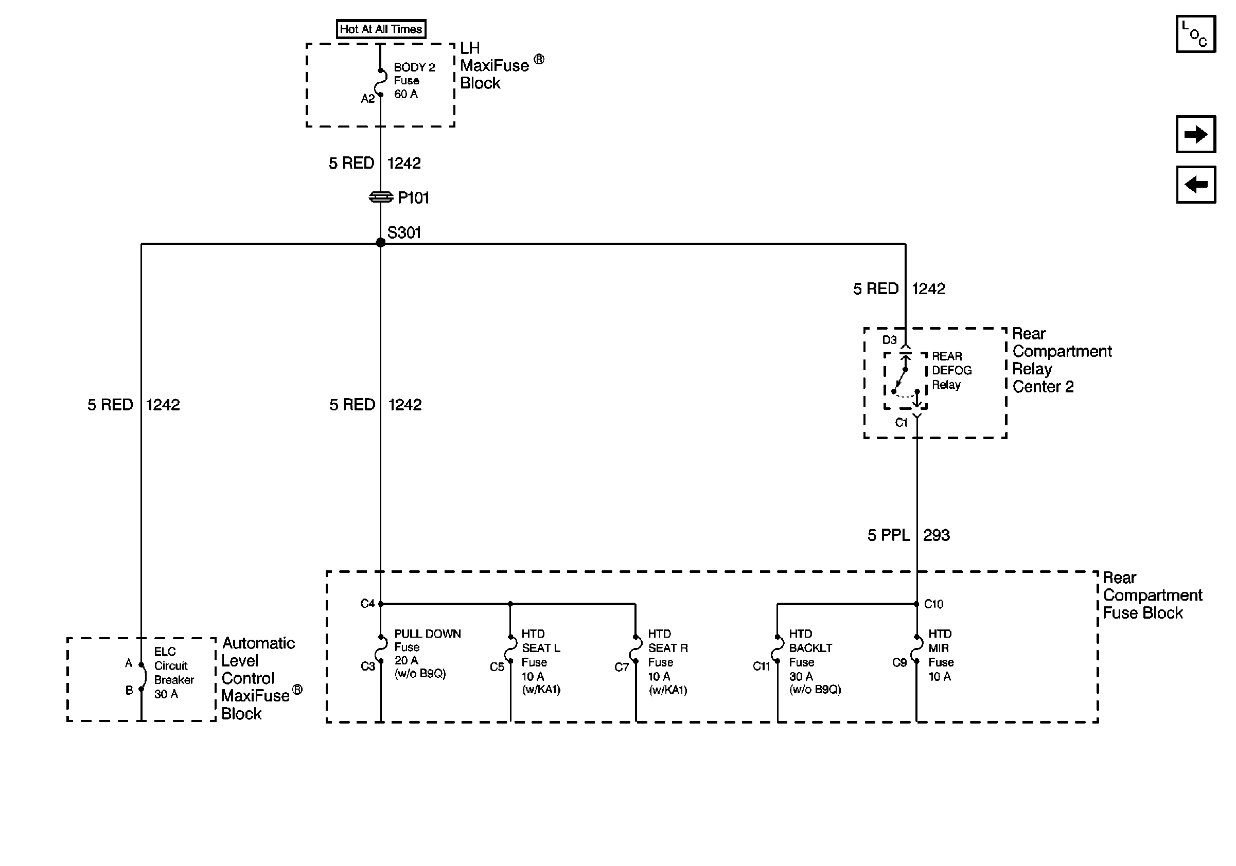
🢒 Cell 10: BODY 2 Fuse
Cell 10: BODY 2 Fuse
Cell 10: BODY 2 Fuse
Power and Grounding Components
Cell 10: BODY 3 Fuse
Cell 10: BODY 1 Fuse