GM Service Manual Online
For 1990-2009 cars only
Makes
🢒
Cadillac
🢒
1998
🢒
Eldorado
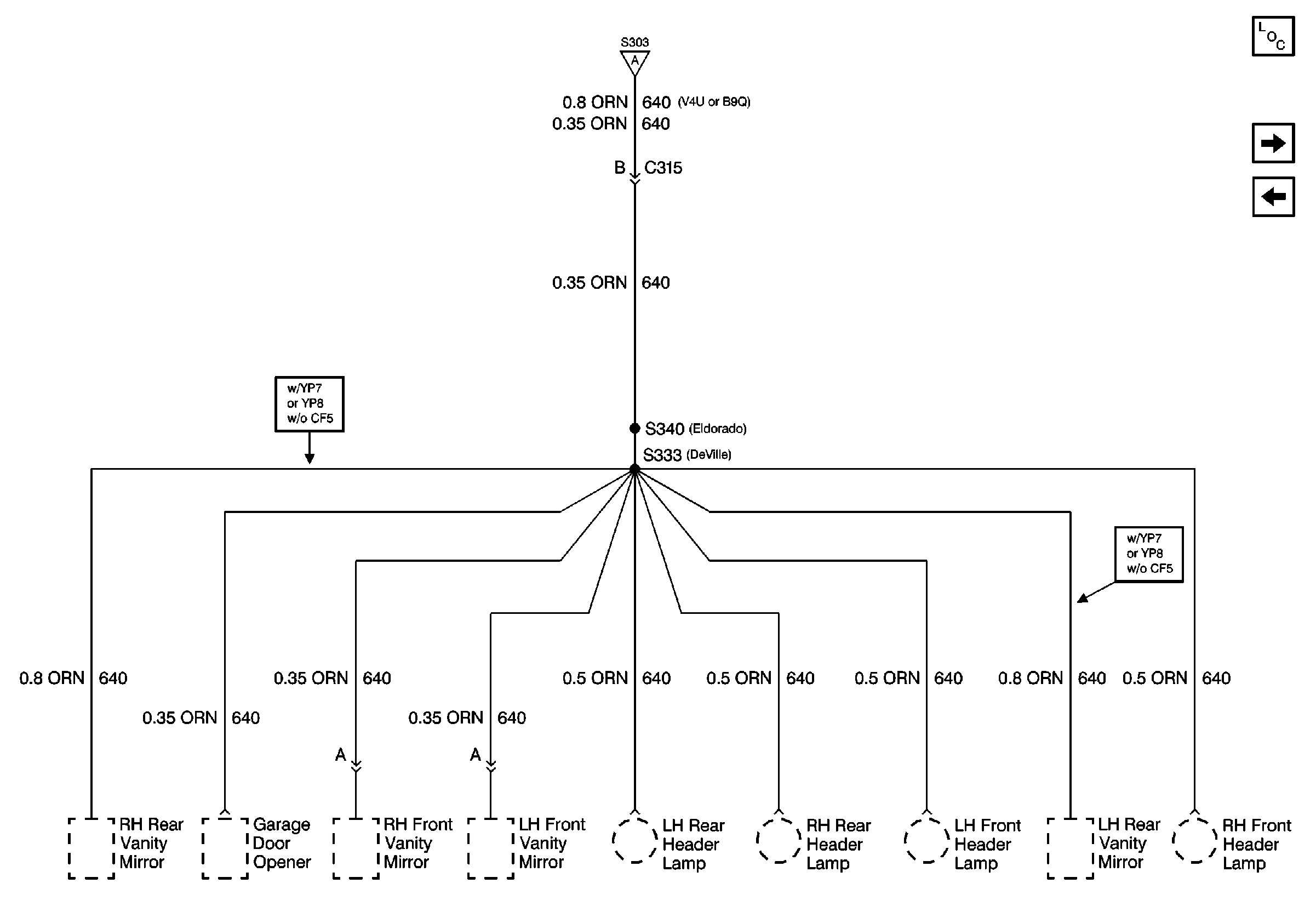
🢒 Cell 10: INT LPS Fuse (1 of 2)
Cell 10: INT LPS Fuse (1 of 2)
Cell 10: INT LPS Fuse (1 of 2)
Cell 10: INT LPS Fuse (1 of 2)
Power and Grounding Components
Cell 10: CIG LTR 1 and CIG LTR 2 Fuses
Cell 10: INT LPS Fuse (1 of 2)