GM Service Manual Online
For 1990-2009 cars only
Makes
🢒
Cadillac
🢒
1998
🢒
Eldorado
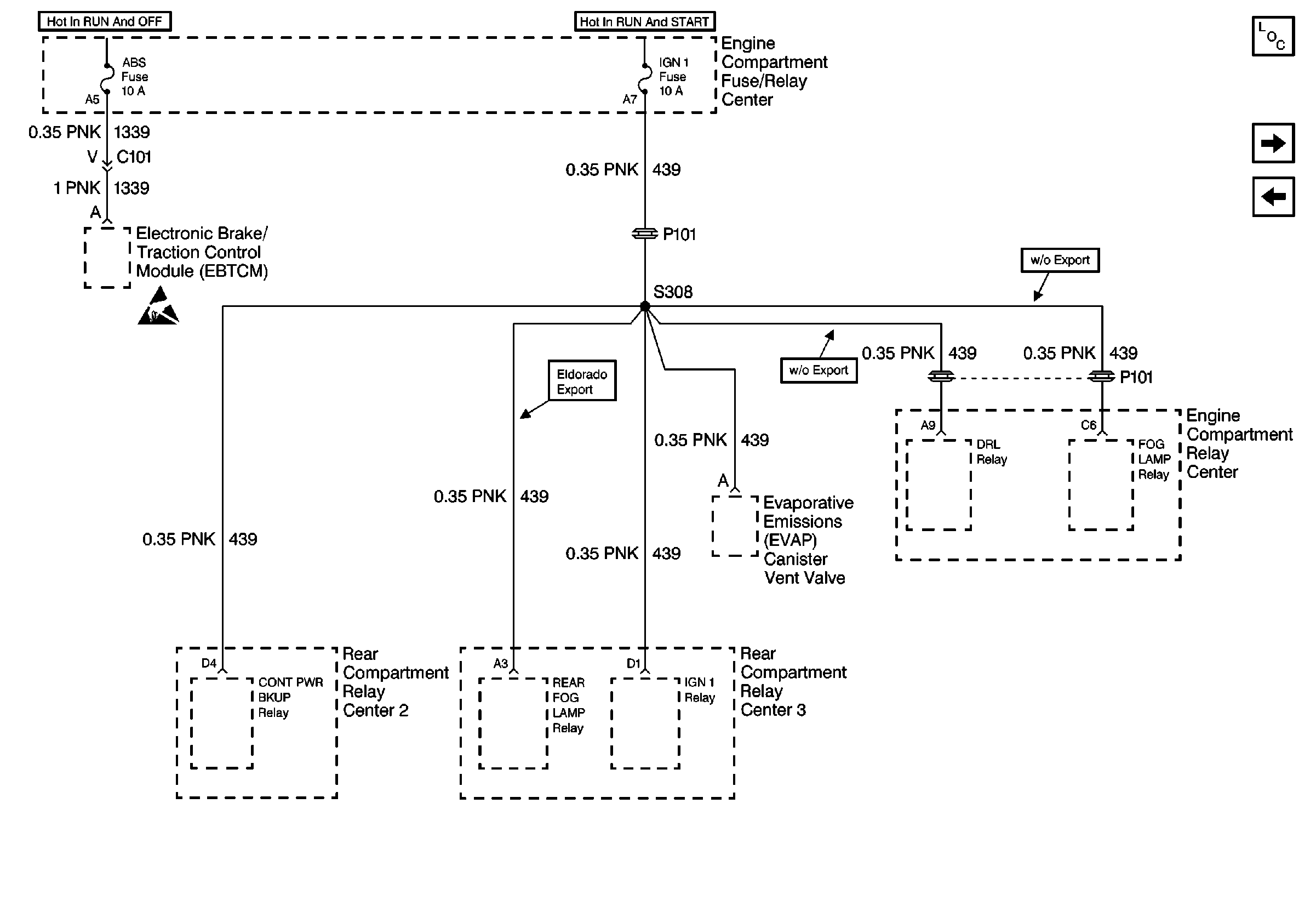
🢒 Cell 10: ABS and IGN 1 Fuses
Cell 10: ABS and IGN 1 Fuses
Cell 10: ABS and IGN 1 Fuses
Power and Grounding Components
Cell 10: ECS Fuse
Cell 10: FUEL PUMP, OXY SEN 1, and OXY SEN 2 Fuses
Handling ESD Sensitive Parts Notice