GM Service Manual Online
For 1990-2009 cars only
Makes
🢒
Cadillac
🢒
1998
🢒
Eldorado
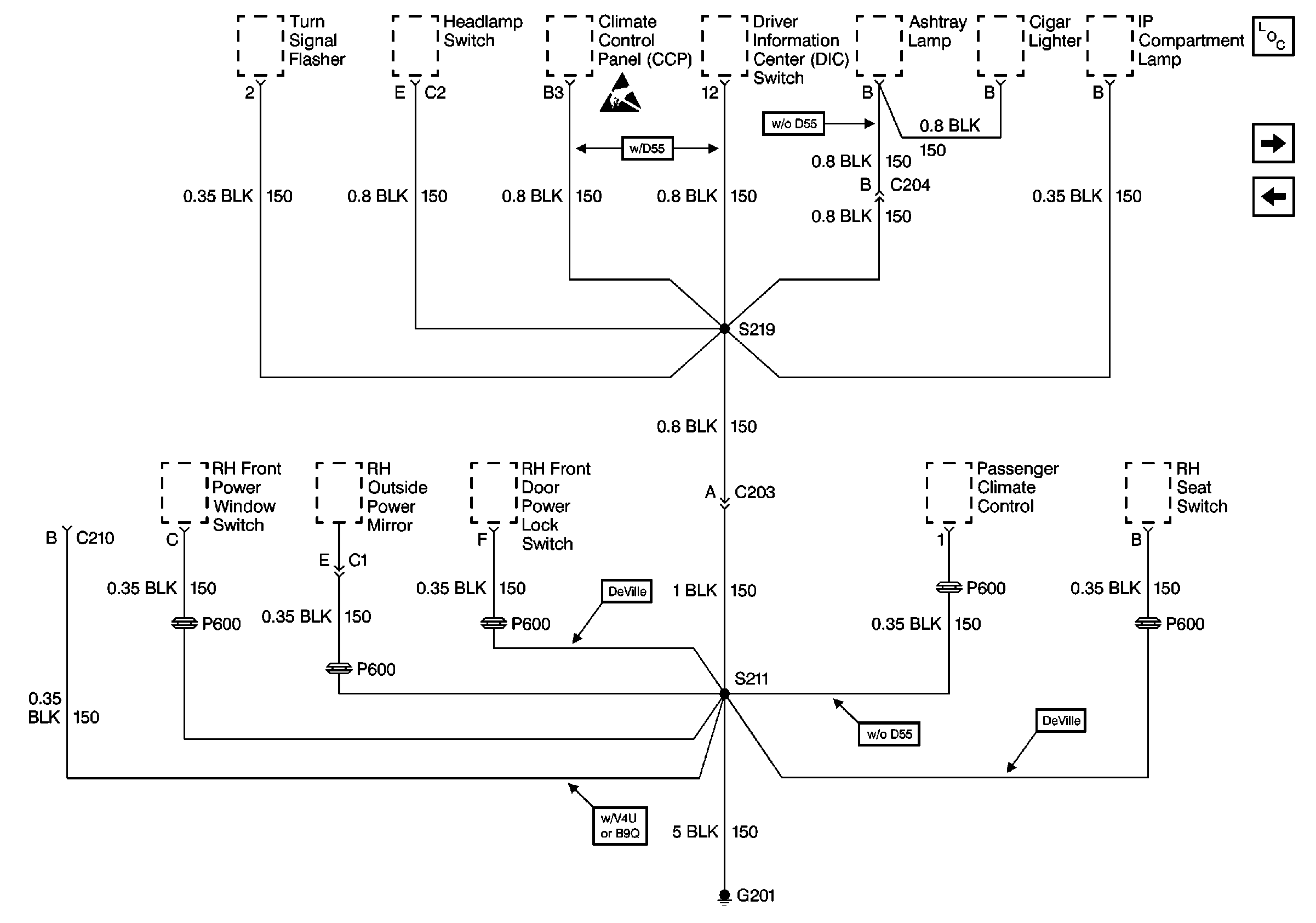
🢒 Cell 14: G201
Cell 14: G201
Cell 14: G201
Power and Grounding Components
Cell 14: G203
Cell 14: G107, G110
Handling ESD Sensitive Parts Notice