GM Service Manual Online
For 1990-2009 cars only

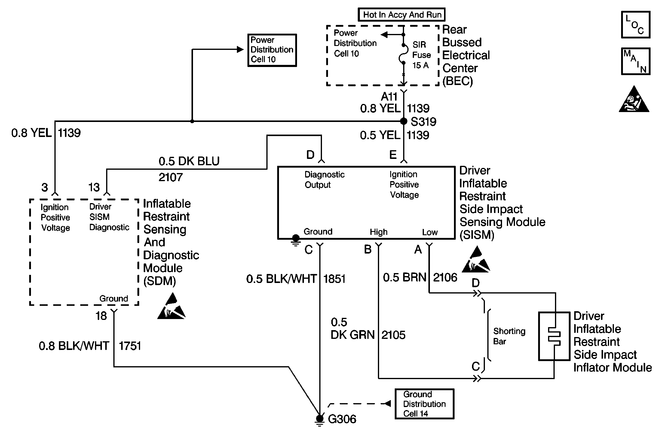
Object Number: 236655  Size: MF

Circuit Description

When you turn the ignition switch to the RUN position, the inflatable restraint Side Impact Sensing Module (SISM) performs tests to diagnose critical malfunctions within itself. The SISM then tests for the following conditions:

    • Deployment loop open.
    • Deployment loop short to ground
    • Deployment loop short to ignition
    • Deployment loop resistance high
    • Deployment loop resistance low
    • Deployment reserve energy failure

The inflatable restraint Side Impact Sensing Module (SISM) transmits a pulse width modulated signal to the inflatable restraint Sensing and Diagnostic Module (SDM) over CKT 2107. A 300 millisecond pulse width with a 50 percent duty cycle is the Normal mode and indicates that the SISM is operating normally and no faults exist. The SISM communicates that it is turning OFF (ignition OFF) by sending a 20 millisecond pulse width modulated signal with a 50 percent duty cycle.

Conditions for Setting the DTC

The SDM receives a pulse width signal other than the Normal signal, or no signal at all. The SISM performs tests during POWER-ON tests, CONTINUOUS MONITORING tests, and Asynchronously.

Action Taken When the DTC Sets

    • The SDM sets DTC B1147.
    • The SDM commands the instrument panel cluster (IPC) to turn ON the AIR BAG warning lamp.

Conditions for Clearing the DTC

    • Current DTC
       - The SDM receives a Normal signal from the SISM.
       - The ignition switch is cycled.
    • History DTC:
       - You issue a scan tool CLEAR CODES command.
       - 250 malfunction-free ignition cycles occur.

If a side impact deployment occurs the SISM must be replaced. Follow the instructions in the diagnostic table.

Diagnostic Aids

A poor connection can cause an intermittent condition. Check the following for a poor connection:

    • The SISM.
    • The inflatable restraint side impact inflator module.
    • The SDM terminal 13.
    • The wire to terminal connections of all circuits going to the SISM.

If you suspect that the SISM may be the cause of the malfunction, you can switch the SISMs in order to verify an internal SISM malfunction.

When measurements are requested in this table, use the J 39200 DMM with the correct terminal adapter from the J 35616 Connector Test Adapter Kit. When an inspection for proper connection is requested, refer to Testing for Electrical Intermittents in Wiring Systems. When a wire, connector or terminal repair is requested, use the J-38125 Terminal Repair Kit and refer to Wiring Repairs in Wiring Systems.

Test Description

The numbers below refer to step numbers on the diagnostic table.

  1. If the driver inflatable restraint side impact inflator deployed, B1147 will set.

  2. Components require inspection and possibly replacement after a side impact accident, whether deployment occurred or not.

  3. This test determines if the malfunction is in the inflatable restraint side impact inflator module.

  4. This test checks for an open in CKT 1751.

  5. This test checks for an open in CKT 1139.

  6. This test checks for a short-to-ground in CKT 2106.

  7. This test checks for an open in CKT 2106.

  8. This test checks for a short-to-voltage in CKT 2106.

  9. This test checks for a short-to-voltage in CKT 2105.

  10. This test checks for a short-to-voltage in CKT 2105.

  11. This test checks for high resistance or open in CKT 2105.

  12. This test checks for a short-to-ground in CKT 2107.

  13. This test checks for a short to voltage in CKT 2107.

  14. This test checks for an open in CKT 2107.

  15. If all wiring and connections are OK, then and only then should the inflatable restraint Side Impact Sensing Module (SISM) be replaced.

DTC B1147 Driver Side Air Bag System Malfunction

Step

Action

Value(s)

Yes

No

1

Was the SIR Diagnostic System Check performed?

--

Go to Step 2

Go to SIR Diagnostic System Check

2

Turn the ignition switch to the OFF position.

Has the driver inflatable restraint side impact inflator module deployed?

--

Go to Step 4

Go to Step 3

3

Inspect the driver side of the vehicle and the undercarriage for signs of a side impact.

Are there signs of a side impact?

--

Go to Step 4

Go to Step 5

4

Replace the components and perform the inspections as directed in Repairs and Inspections Required After a Collision .

Has all the repairs and inspections been completed?

--

Go to Step 43

--

5

  1. Remove the SIR Fuse from the trunk compartment fuse block.
  2. Remove the LH front door panel. Refer to Door Trim Panels in Doors.
  3. Disconnect the driver side air bag yellow 2-way connector located 15 cm (6 in ) below the inflatable restraint side impact inflator module.
  4. Inspect the 2-way harness connector for damage and corrosion.

Is the harness connector damaged or corroded?

--

Go to Step 6

Go to Step 7

6

Replace the driver side air bag yellow 2-way harness connector. Refer to Wiring Repair .

Is the repair complete?

--

Go to Step 42

--

7

Inspect the 2-way the driver side air bag yellow 2-way connector for damage and corrosion.

Is the connector damaged or corroded?

--

Go to Step 10

Go to Step 8

8

  1. Reconnect the driver side air bag yellow 2-way connector.
  2. Install the SIR Fuse.
  3. Turn the ignition switch to the RUN position.

Is DTC B1147 current?

--

Go to Step 9

Go to Step 43

9

  1. Remove the SIR Fuse from the trunk compartment fuse block.
  2. Disconnect the driver side air bag yellow 2-way connector. Connect the J 38715-A SIR Driver/Passenger Load Tool and the appropriate adapter to the 2-way harness connector.
  3. Install the SIR Fuse.
  4. Turn the ignition switch to the RUN position.

Is DTC B1147 current?

--

Go to Step 11

Go to Step 10

10

  1. Turn the ignition switch to the OFF position.
  2. Replace the inflatable restraint side impact inflator module. Refer to Inflatable Restraint Side Impact Module Replacement - Left Side .

Has the inflatable restraint side impact inflator module been replaced?

--

Go to Step 43

--

11

  1. Turn the ignition switch to the OFF position.
  2. Remove the SIR Fuse.
  3. Disconnect the inflatable restraint Side Impact Sensing Module (SISM).
  4. Check for proper connection at the SISM at all terminals of the SISM harness connector.

Are any of the SISM harness connector terminals damaged or corroded?

--

Go to Step 12

Go to Step 13

12

Replace the SISM harness connector. Refer to Wiring Repair .

Is the repair complete?

--

Go to Step 43

--

13

Carefully inspect the SISM connector terminals for damage or corrosion.

Are any of the SISM connector terminals damaged or corroded?

--

Go to Step 14

Go to Step 15

14

Replace the SISM harness connector. Refer to Wiring Repair .

Has the SISM been replaced?

--

Go to Step 43

--

15

Measure the resistance from the SISM harness connector terminal C to ground.

Is the resistance within the specified values?

0 - 0.5 ohms

Go to Step 17

Go to Step 16

16

Repair an open condition in CKT 1751 between the SISM and splice S370.

Is the circuit repair complete?

--

Go to Step 43

--

17

Measure the resistance from the SISM terminal E to each terminal of the SIR Fuse fuseholder.

Is the resistance within the specified values?

0 - 0.5 ohms

Go to Step 19

Go to Step 18

18

Repair an open condition in CKT 1139 between the SISM and splice S319.

Is the circuit repair complete?

--

Go to Step 43

--

19

  1. Disconnect the J 38715-A and the adapter from the inflatable restraint side impact inflator module harness connector.
  2. Measure the resistance from the SISM harness connector terminal A to ground.

Is the resistance within the specified values?

0 - 0.5 ohms

Go to Step 20

Go to Step 21

20

Repair a short-to-ground condition in CKT 2106.

Is the circuit repair complete?

--

Go to Step 43

--

21

  1. Zero the J 39200 Digital Multimeter (DMM).
  2. Measure the resistance from the SISM terminal A to the inflatable restraint side impact inflator module terminal B.

Is the resistance within the specified values?

0 - 0.5 ohms

Go to Step 23

Go to Step 22

22

Repair a high resistance condition in CKT 2106.

Is the circuit repair complete?

--

Go to Step 43

--

23

  1. Make sure the SISM and the inflatable restraint side impact inflator module are disconnected.
  2. Install the SIR Fuse.
  3. Turn the ignition switch to the RUN position.
  4. Measure the voltage from the SISM harness connector terminal A to ground.

Is the voltage more than the specified value?

1  V

Go to Step 24

Go to Step 25

24

  1. Turn the ignition switch to the OFF position.
  2. Repair a short-to-voltage condition in CKT 2106.

Is the circuit repair complete?

--

Go to Step 43

--

25

Measure the voltage from the SISM harness connector terminal B to ground.

Is the voltage more than the specified value?

1  V

Go to Step 26

Go to Step 27

26

  1. Turn the ignition switch to the OFF position.
  2. Repair a short-to-voltage condition in CKT 2105.

Is the circuit repair complete?

--

Go to Step 43

--

27

  1. Turn the ignition switch to the OFF position.
  2. Measure the resistance from the SISM terminal B to ground.

Is the resistance within the specified values?

0 - 0.5 ohms

Go to Step 28

Go to Step 29

28

Repair a short-to-ground condition in CKT 2105.

Is the circuit repair complete?

--

Go to Step 43

--

29

  1. Zero the J 39200 .
  2. Measure the resistance from the SISM harness connector terminal B to the inflatable restraint side impact inflator module harness connector terminal A.

Is the resistance within the specified values?

0 - 0.5 ohms

Go to Step 31

Go to Step 30

30

Repair a high resistance or open condition in CKT 2105.

Is the circuit repair complete?

Is the circuit repair complete?

--

Go to Step 43

--

31

Measure the resistance from the SISM harness connector terminal D to ground.

Is the resistance more than the specified value?

0 - 0.5 ohms

Go to Step 32

Go to Step 33

32

Repair a short to-ground condition in CKT 2107.

Is the circuit repair complete?

--

Go to Step 43

--

33

  1. Make sure the SISM and the inflatable restraint side impact inflator module are disconnected.
  2. Turn the ignition switch to the RUN position.
  3. Measure the voltage from the SISM harness connector terminal D to ground.

Is the voltage more than the specified value?

1  V

Go to Step 34

Go to Step 35

34

  1. Turn the ignition switch to the OFF position.
  2. Repair a short-to-voltage condition in CKT 2107.

Is the circuit repair complete?

--

Go to Step 43

--

35

  1. Turn the ignition switch to the OFF position.
  2. Disable the Frontal SIR system. Refer to Disabling the SIR System .
  3. Disconnect the inflatable restraint sensing and diagnostic module (SDM).
  4. Check for proper connection of terminal 13 of the SDM harness connector.

Is terminal 13 of the SDM harness connector damaged or corroded?

Go to Step 36

Go to Step 37

36

Replace the SDM harness connector. Refer to Wiring Repair .

Is the circuit repair complete?

--

Go to Step 43

--

37

Carefully inspect SDM terminal 13 for damage or corrosion.

Is terminal 13 of the SDM harness connector damaged or corroded?

Go to Step 38

Go to Step 39

38

Replace the SDM. Refer to Inflatable Restraint Sensing and Diagnostic Module Replacement .

Has the SDM been replaced?

--

Go to Step 43

--

39

Measure the resistance from the SDM terminal 13 to the SISM harness connector terminal D.

Is the resistance within the specified values?

0 - 0.5 ohms

Go to Step 41

Go to Step 40

40

Repair a high resistance or open condition in CKT 2107.

Is the circuit repair complete?

--

Go to Step 43

--

41

Replace the SISM Refer to Inflatable Restraint Side Impact Sensing and Diagnostic Module Replacement - Left Side .

Has the SISM been replaced?

--

Go to Step 42

--

42

  1. Reconnect all the SIR System components. make sure all the components are properly mounted.
  2. Install the SIR Fuse.
  3. Staying well away from all of the inflator modules, turn the ignition switch to the RUN position.

Is B1147 current?

--

Go to Sensing and Diagnostic Module Integrity Check

Go to SIR Diagnostic System Check

43

Reconnect all the SIR System components. Make sure all the components are properly mounted.

Have all the SIR System components been properly mounted?

--

Go to SIR Diagnostic System Check

--