GM Service Manual Online
For 1990-2009 cars only

Removal Procedure


    Object Number: 446556  Size: MH
  1. Turn OFF the ignition.
  2. Remove the rear shelf trim panel. Refer to Rear Window Shelf Trim Panel Replacement in Interior Trim.
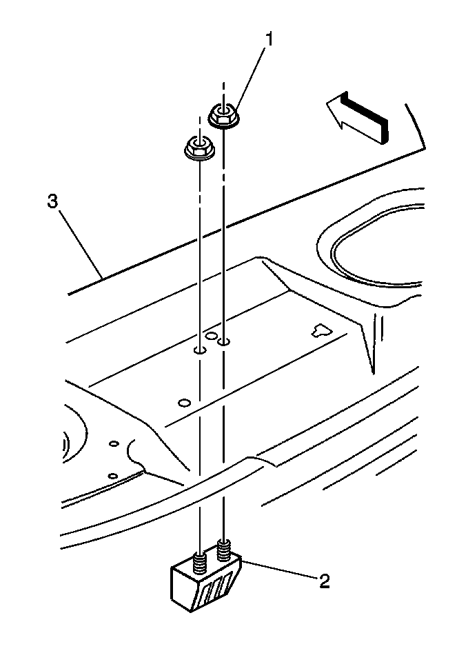
  3. Remove the 2 yaw rate sensor mounting nuts (1).
  4. Remove the rear compartment front trim panel. Refer to Rear Compartment Front Trim Panel Replacement in Body Rear End.
  5. Disconnect the yaw rate sensor electrical connector.
  6. Remove the yaw rate sensor (2) from the rear package shelf (3).

Installation Procedure


    Object Number: 446556  Size: MH
  1. Install the yaw rate sensor (2) into the rear package shelf.
  2. Notice: Use the correct fastener in the correct location. Replacement fasteners must be the correct part number for that application. Fasteners requiring replacement or fasteners requiring the use of thread locking compound or sealant are identified in the service procedure. Do not use paints, lubricants, or corrosion inhibitors on fasteners or fastener joint surfaces unless specified. These coatings affect fastener torque and joint clamping force and may damage the fastener. Use the correct tightening sequence and specifications when installing fasteners in order to avoid damage to parts and systems.

  3. Install the 2 yaw rate sensor nuts (1).
  4. Tighten
    Tighten the 2 yaw rate sensor nuts to 6 N·m (51.3 lb in).

  5. Install the yaw rate sensor electrical connector.
  6. Install the rear shelf trim panel. Refer to Rear Window Shelf Trim Panel Replacement in Interior Trim.
  7. Install the rear compartment front trim panel. Refer to Rear Compartment Front Trim Panel Replacement in Body Rear End.
  8. Perform the ABS Diagnostic System Check. Refer to Diagnostic System Check - ABS .