GM Service Manual Online
For 1990-2009 cars only
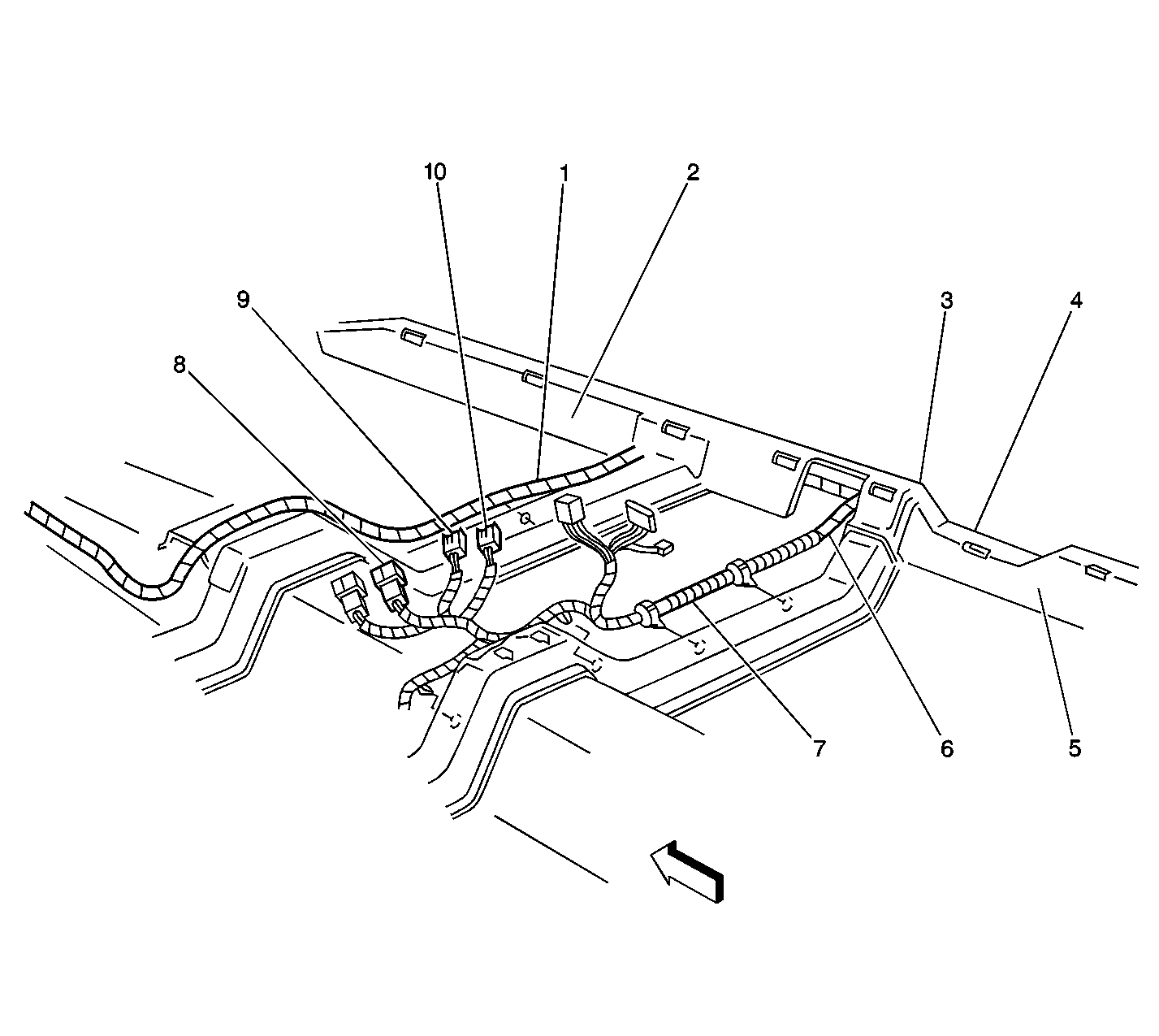
Figure 1:

Left Front of the Vehicle, Right Side Similar (Eldorado)


Object Number: 321217  Size: LF
(1)C103 (RH), C104 (LH)
(2)S132 (RH), S133 (LH)
(3)S134 (RH), S131 (LH)
Figure 2:

Left Front of the Vehicle, Right Side Similar (DeVille)


Object Number: 321308  Size: LF
(1)S147 (RH), S148 (LH)
(2)S132 and S134(RH), S133 and S131(LH)
(3)C103 (RH), C104 (LH)
Figure 3:

Engine Compartment, Front


Object Number: 321313  Size: LF
(1)RH Cooling Fan Motor
(2)S117
(3)Engine Cooling Fan Relay 3
(4)Engine Cooling Fan Relay 2
(5)Engine Cooling Fan Relay 1
(6)S130
(7)S129
(8)LH Cooling Fan Motor
Figure 4:

Engine Compartment, Left Front


Object Number: 321315  Size: LF
(1)G101
(2)G110
(3)S106
Figure 5:

Engine Compartment, on the Left Side


Object Number: 321318  Size: LF
(1)Underhood Fuse/Relay Center
(2)Inadvertant Power Relay
(3)S112
(4)Underhood Relay Center
(5)Theft Deterrent Relay
(6)Ignition 1 Relay
(7)RH Underhood Fuse Block
(8)S121
(9)S119
(10)LH Underhood Fuse Block
(11)S154
(12)S122
(13)C101
(14)Underhood Fuse Block
(15)S104 and S105
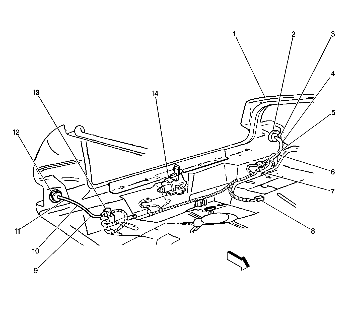
Figure 6:

Engine Compartment, Left Rear Corner


Object Number: 321319  Size: LF
(1)S102
(2)Harness to the Brake Fluid Level Sensor
(3)S101
(4)P106 (RH), P105 (LH Similar)
(5)P101
(6)Harness to the Wiper Motor
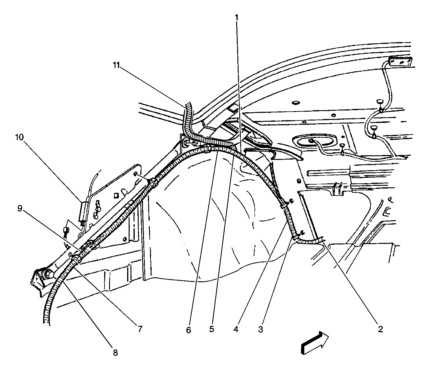
(7)S100
Figure 7:

Right Front of the Vehicle, Behind the Front Fascia


Object Number: 321325  Size: LF
(1)C103
(2)Impact Bar
(3)RH Horn
(4)RH Horn
(5)S108
(6)S109
Figure 8:

Right Front Fender


Object Number: 321332  Size: LF
(1)C122 (RH), C120 (LH Similar)
(2)RH Repeater Lamp (LH Repeater Lamp Similar)
Figure 9:

Engine, Lower Right Front


Object Number: 321338  Size: LF
(1)A/C High Pressure Switch
(2)S153
(3)A/C Clutch Diode
(4)S152
(5)A/C Clutch
Figure 10:

Engine, Top Left


Object Number: 321342  Size: LF
(1)Mass Air Flow (MAF) Sensor
(2)S126
(3)S125
(4)Throttle Postion (TP) Sensor
(5)Idle Air Control (IAC) Valve
Figure 11:

Engine, Left Side


Object Number: 321343  Size: LF
(1)C127
(2)S124
(3)Harness to the Powertrain Control Module (PCM)
(4)S123
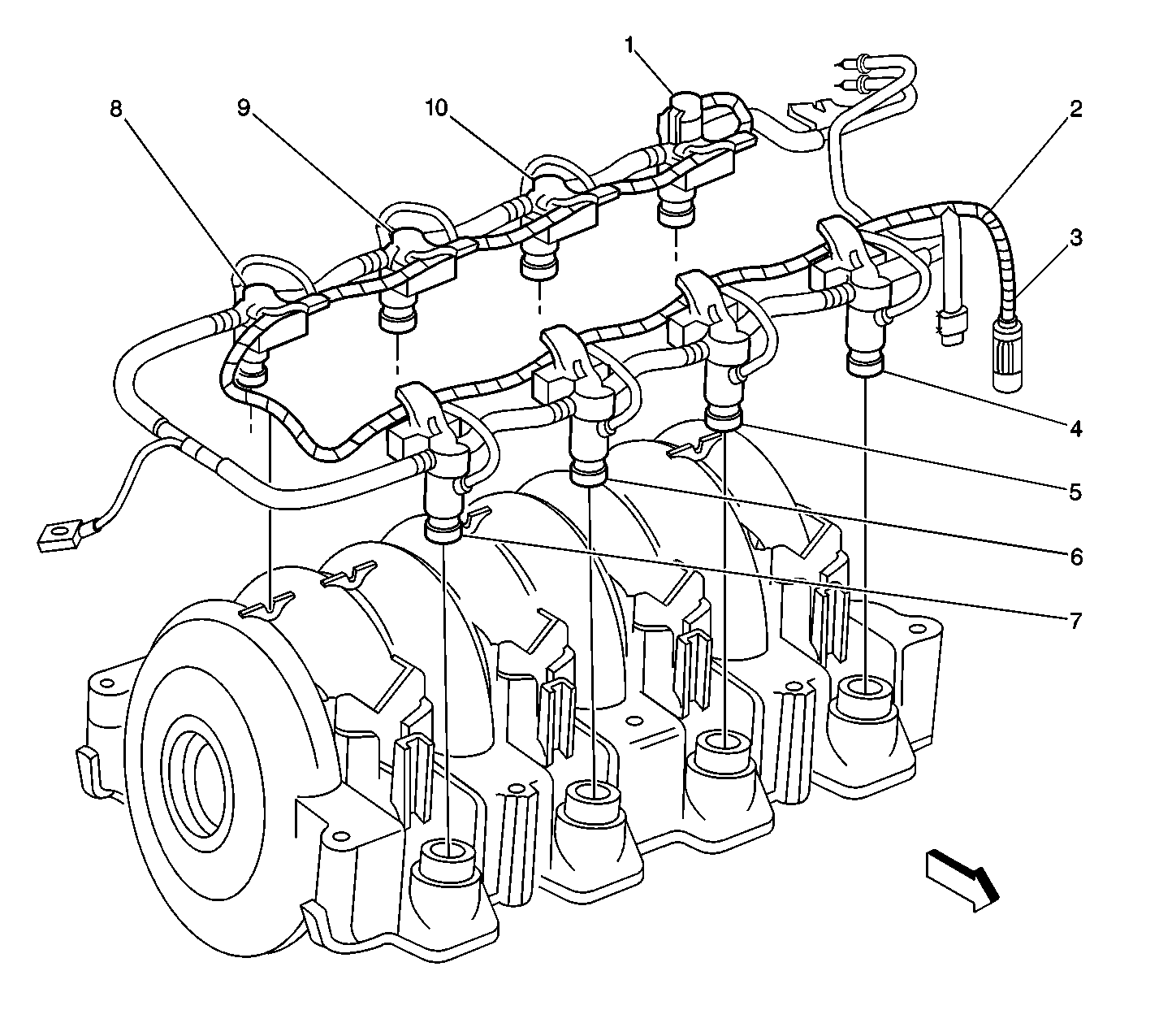
Figure 12:

Engine, Fuel Rail and Intake Area


Object Number: 321346  Size: LF
(1)Fuel Injector 7
(2)S110
(3)S111
(4)Fuel Injector 8
(5)Fuel Injector 6
(6)Fuel Injector4
(7)Fuel Injector 2
(8)Fuel injector 1
(9)Fuel Injector 3
(10)Fuel Injector 5
Figure 13:

Engine, on the Lower Left Front Corner


Object Number: 321347  Size: LF
(1)C100
(2)G107
(3)S118
Figure 14:

Engine, Near the Top of the Transmission


Object Number: 321349  Size: LF
(1)Park Netural Postion (PNP) Switch
(2)S149
Figure 15:

Engine, Left Rear


Object Number: 321351  Size: LF
(1)Engine Coolant Temperature (ECT) Sensor
(2)Variable Steering Actuator
(3)S127
Figure 16:

Engine, Right Rear


Object Number: 321354  Size: LF
(1)S223
(2)S222
(3)Power Steering Pressure Switch (PSP)
Figure 17:

Engine, Right Rear


Object Number: 321357  Size: LF
(1)C131
(2)Camshaft Position (CMP) Sensor
Figure 18:

Passenger Compartment, Behind the Instrument Panel


Object Number: 321363  Size: LF
(1)S218
(2)S217
(3)Inflatable Restraint IP Module
(4)C203
(5)S215
(6)S216
(7)S201
(8)Headlamp Switch
(9)S220
(10)S219
Figure 19:

Instrument Panel, Below the Upper Pad


Object Number: 321366  Size: LF
(1)S207
(2)S210
(3)S206
(4)Instrument Cluster
Figure 20:

Instrument Panel, Below the Left Side


Object Number: 321367  Size: LF
(1)G203 (Hidden)
(2)S200
(3)S202
(4)G204
(5)S201
(6)S205
Figure 21:

Instrument Panel, at the Base of the Steering Column


Object Number: 321371  Size: LF
(1)Steering Column
(2)P101
(3)Steering Wheel Postion Sensor (SWPS)
(4)C202
(5)C206
Figure 22:

Instrument Panel, Below the Steering Column


Object Number: 321377  Size: LF
(1)S225
(2)S226
(3)Brake Pedal
(4)Stoplamp/ BTSI Switch
(5)ABS/TCC Switch
(6)Steering Column Support Bracket
Figure 23:

Instrument Panel, Below the Right Side


Object Number: 321382  Size: LF
(1)C203
(2)S221
(3)C205
(4)Heater and A/C Programmer
Figure 24:

Instrument Panel, Above the Right Side Knee Bolster


Object Number: 321384  Size: LF
(1)P100
(2)Vacuum and Electric Solenoid
(3)S212
(4)S211
(5)C205
(6)C207
(7)S223
(8)S222
Figure 25:

IP, Below the Right Side


Object Number: 321386  Size: LF
(1)G201
(2)S323
(3)S203
(4)G205
Figure 26:

Headliner, Top


Object Number: 321387  Size: LF
(1)Headliner
(2)S336
(3)S335
(4)S341
(5)S342
(6)S338
(7)S339
(8)S332 (Concours/ d'Elegance
(9)S334 (Concours / d'Elegance
(10)S366
(11)S332 (DeVille)
(12)S333
(13)S334 (DeVille)
(14)S337
(15)S340
(16)S359 (Concours / d'Elegance)
Figure 27:

Passenger Compartment, in the Center Front of the Headliner


Object Number: 321390  Size: LF
(1)Sunroof Control Module
(2)Sunroof Actuator
(3)C360
Figure 28:

Passenger Compartment, Below the Center Console


Object Number: 321393  Size: LF
(1)S346
(2)S343
(3)S345
(4)S347
(5)S344
Figure 29:

Passenger Compartment, Behind the Lower Left Front Trim


Object Number: 321395  Size: LF
(1)Accessory Time Delay Relay
(2)S307
(3)S322
(4)S203
(5)S320
(6)Harness to the SDM
(7)S316
(8)S317
(9)S371
(10)S319
(11)S318
Figure 30:

Passenger Compartment, Below the Left Front Seat


Object Number: 321396  Size: LF
(1)S313
(2)G302
(3)S314
(4)S312
(5)S311
(6)C302
(7)C305
(8)C316 (left), C317 (right)
Figure 31:

Passenger Compartment, Below the RH Front Seat


Object Number: 321399  Size: LF
(1)Radio Connector Breakout Harness
(2)S324
(3)S325
(4)S326
(5)C307
(6)Cross Car Breakout Harness
(7)S315
(8)C309
(9)C301
(10)C308
Figure 32:

Passenger Compartment, Left Front Seat


Object Number: 321401  Size: LF
(1)LH Lumbar Horizontal Motor
(2)LH Lumbar Vertical Motor
(3)S321
(4)S331
Figure 33:

Passenger Compartment, Right Front Seat


Object Number: 321403  Size: LF
(1)S351 (Left), S356 (Right)
(2)S352 (Left), S357 (Right)
(3)Seat Harness
(4)C322 -- Hidden (Left)
(5)C320 -- Hidden (Left), C321 (Right)
(6)Seat Harness
(7)S349, S348
Figure 34:

Passenger Compartment, Under the Front Seat


Object Number: 321405  Size: LF
(1)C306 (Left), C304 (Right)
(2)C305 (Left), C303 (Right)
Figure 35:

Passenger Compartment, in the Right Rear


Object Number: 321408  Size: LF
(1)Rear Cross Car Breakout
(2)S327
(3)S360
(4)C402
(5)S432
(6)S434
(7)C401
(8)S328
(9)S329
Figure 36:

Passenger Compartment, on the Left Sail Panel


Object Number: 321409  Size: LF
(1)C315
(2)C313
Figure 37:

Passenger Compartment, on the Right Sail Panel


Object Number: 321411  Size: LF
(1)RH Seat Belt Retractor Actuator (LH Similar)
(2)C314
Figure 38:

Passenger Compartment, Behind the Rear Seat Back


Object Number: 321413  Size: LF
(1)S410
(2)S430
(3)P400
(4)S431
(5)G403
Figure 39:

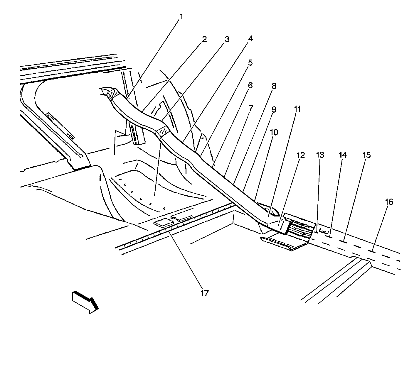
Passenger Compartment, Left Side Behind the Seats and Carpet


Object Number: 321414  Size: LF
(1)S300
(2)S301
(3)S302
(4)S303
(5)S304
(6)S305
(7)S365
(8)S306
(9)S354
(10)S307
(11)S373
(12)S372
(13)S308
(14)S309
(15)S406 (Eldorado)
(16)S310
(17)Rear Cross Car Breakout Harness
Figure 40:

Left Front Door


Object Number: 321416  Size: LF
(1)S505
(2)S502
(3)S506
(4)S501
(5)S500
(6)P500
(7)C502
(8)LH Front Window Motor
Figure 41:

Passenger Compartment, Below the Rear Seat


Object Number: 321417  Size: LF
(1)#4 Bar
(2)G400
(3)G401
(4)S402
(5)S405
(6)S401
(7)S407
(8)S406
(9)S404
(10)S408
(11)S409
Figure 42:

RH Front Door


Object Number: 321421  Size: LF
(1)C602
(2)RH Front Window Motor
(3)S600 (DeVille)
(4)S323
(5)S211
(6)S212
(7)P600
Figure 43:

Right Rear Door (DeVille)


Object Number: 321418  Size: LF
(1)Right Rear Window Motor (Left Similar)
(2)P700 (Left), P800 (Right)
Figure 44:

Rear Compartment, in the Left Side


Object Number: 321424  Size: LF
(1)S414
(2)S403
(3)S411
(4)S412
(5)S415
(6)S416
(7)S418
(8)S417
(9)C425 (Taped in the Harness) (DeVille)
(10)Fuel Door Release Actuator
(11)Harness to the Rear Compartment Lid
Figure 45:

Right Rear of the Vehicle (DeVille)


Object Number: 321429  Size: LF
(1)S480 (Right), S481 (Left)
(2)C422 (Right), C420 (Left)
(3)S423 (Left), S424 (Right)
(4)S457 (Left), S458 (Right)
Figure 46:

Rear Compartment, at the Rear


Object Number: 321431  Size: LF
(1)S457, S450, S423 (Hidden)
(2)P404
(3)S481
(4)S457
(5)C420
(6)S423
(7)G402
(8)C426
(9)S424
(10)S458
(11)S480
(12)P406
(13)C422
(14)Rear Compartment Lid Pull Down Motor
Figure 47:

Rear Compartment Lid, Behind the Trim (DeVille)


Object Number: 321433  Size: LF
(1)C408
Figure 48:

Rear Compartment Lid, Behind the Trim


Object Number: 321434  Size: LF
(1)C407
(2)S429
(3)S425
(4)C408
Figure 49:

Rear of the Vehicle, Below the Passenger Compartment


Object Number: 321436  Size: MF
(1)RH Rear Suspension Postion Sensor Connector
(2)RH Rear Strut Actuator Connector
(3)C412
(4)LH Rear Strut Actuator Connector
(5)LH Rear Suspension Postion Sensor Connector
Figure 50:

Below the Right Rear of the Vehicle


Object Number: 321440  Size: LF
(1)C415
(2)Automatic Level Control Compressor
(3)RH Rear Wheel Speed Sensor (LH Similar)