GM Service Manual Online
For 1990-2009 cars only

Object Number: 331248  Size: MF
Body Control Module Components
Body Control System Schematics

Circuit Description

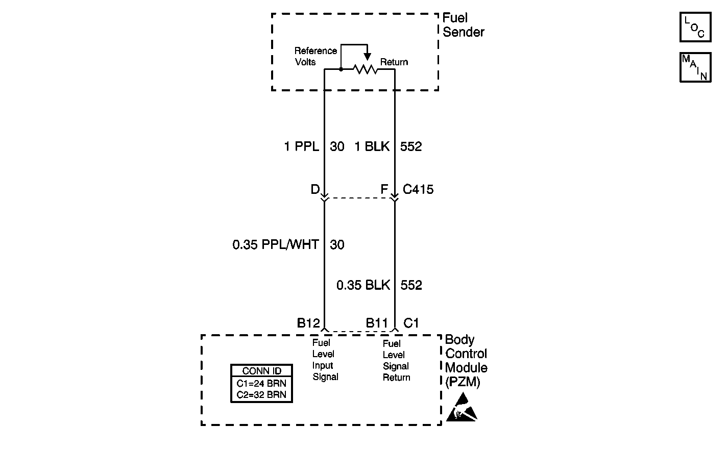
The PZM monitors the fuel level and transmits this information over Class 2 serial data to the instrument cluster to be displayed and to the PCM. While the ignition switch is in the RUN position, the PZM measures the voltage at connector C1 terminal B12 every 125 ms. Also, the PZM determines the position of the sensor by calculating the percentage of Ignition 1 that is present at the terminal.

Conditions for Setting the DTC

The percentage of Ignition 1 voltage at connector C1 terminal B12 is less than an acceptable level for at least 2 seconds.

Action Taken

The PZM will send a Class 2 message to the PCM that the percentage if Ignition 1 voltage is too low.

Conditions for Clearing the DTC

The percentage of Ignition 1 voltage at connector C1 terminal B12 meets or exceeds an acceptable level for at least 1 cycle.

Diagnostic Aids

    • This DTC will not be set but a Class 2 message will be sent to the PCM that the percentage of Ignition 1 voltage is too low if the following DTCs are current:
       - DTC B1982
       - DTC B1983
    • Inspect for a short to ground in CKT 30 (PPL). If OK, perform the following procedures:
       - If the DTC is still current, replace the PZM.
       - If the DTC is history, replace the fuel level sender.