GM Service Manual Online
For 1990-2009 cars only
Makes
🢒
Cadillac
🢒
1999
🢒
Eldorado
🢒
Body and Accessories
🢒
Keyless Entry
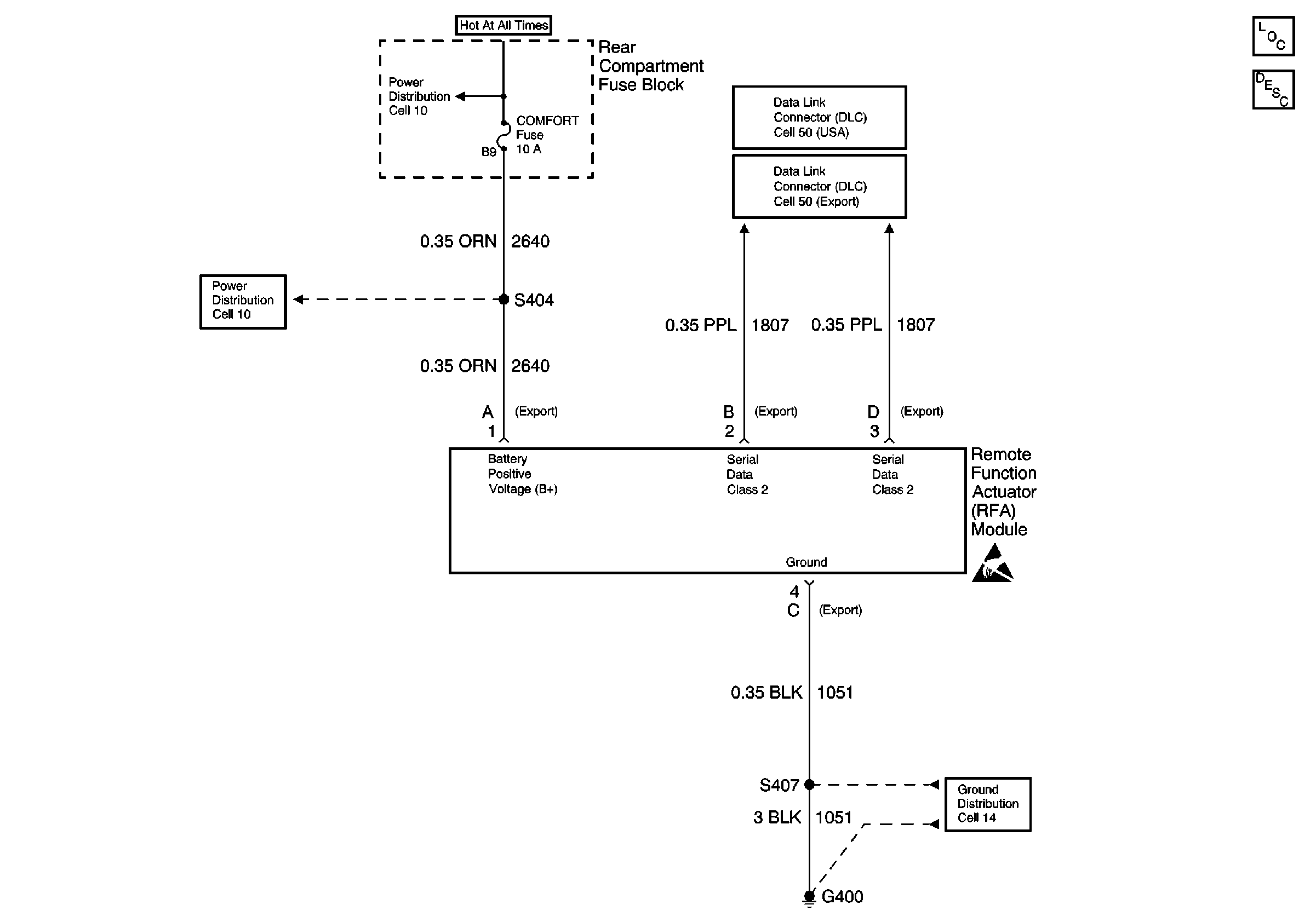
🢒 Keyless Entry Schematics
Cell 132
Keyless Entry Components
Keyless Entry System Circuit Description
Power Distribution Schematics
Power Distribution Schematics
Ground Distribution Schematics
Data Link Connector Schematics