GM Service Manual Online
For 1990-2009 cars only

Power Seats Schematics DeVille

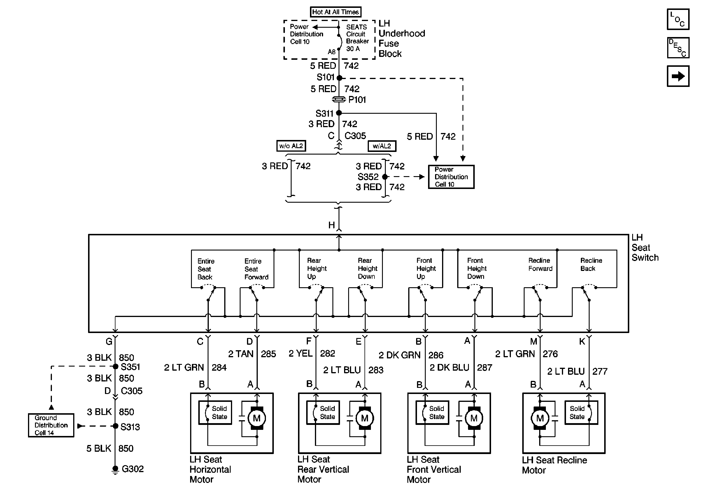
Cell 140: LH Seat Switch w/o A45


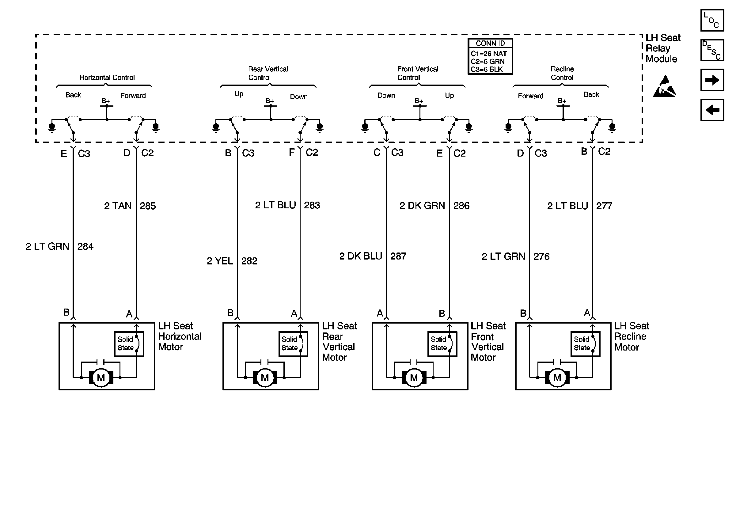
Object Number: 318360  Size: FS
Power Seat Systems Components
Power Seats Circuit Description
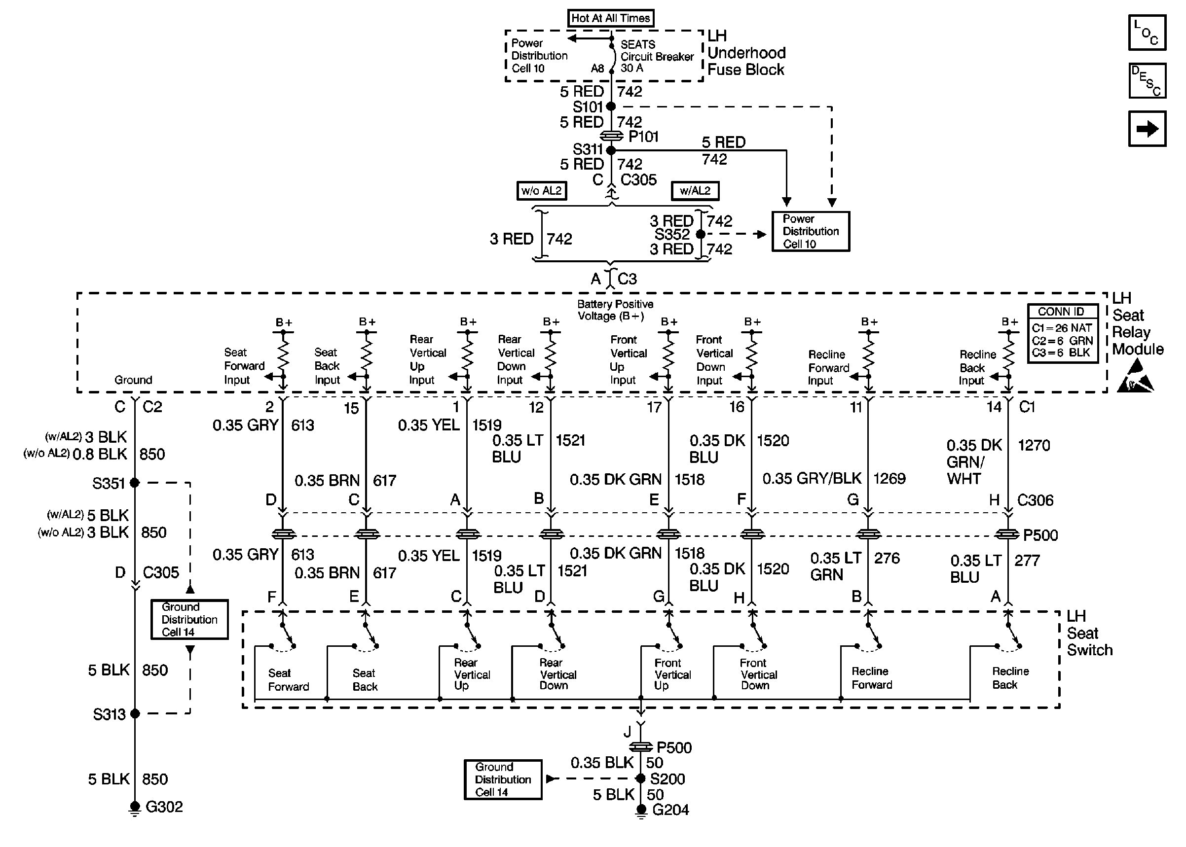
Cell 140: LH Seat Motors w/o A45
Power Distribution Schematics
Power Distribution Schematics
Power Seat Connector End Views
Handling ESD Sensitive Parts Notice
Ground Distribution Schematics
Ground Distribution Schematics

Cell 140: LH Seat Motors w/o A45


Object Number: 318363  Size: FS
Power Seat Systems Components
Power Seats Circuit Description
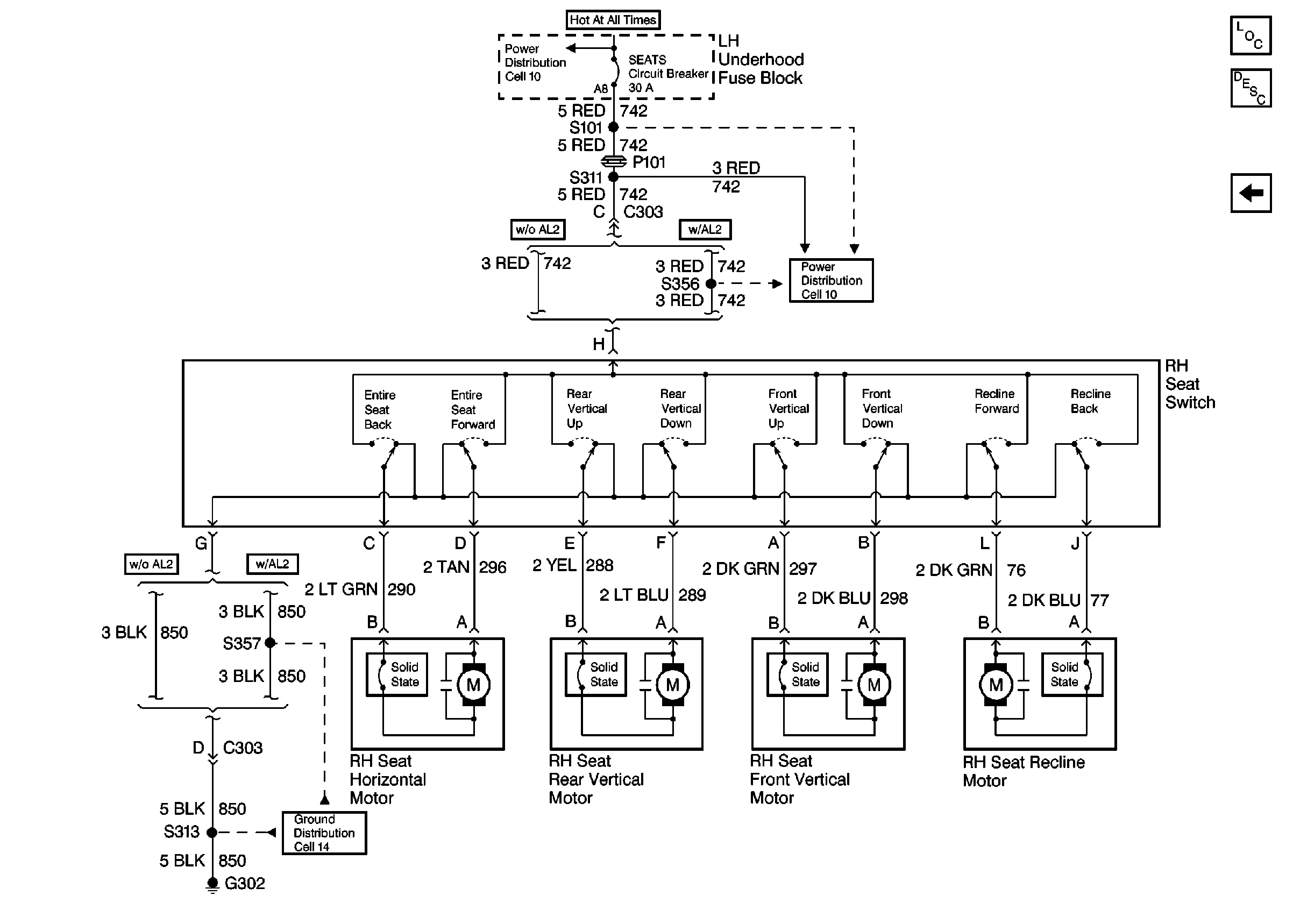
Cell 140: RH Seat Switch
Cell 140: LH Seat Switch w/o A45
Handling ESD Sensitive Parts Notice
Power Seat Connector End Views

Cell 140: RH Seat Switch


Object Number: 318365  Size: FS
Power Seat Systems Components
Power Seats Circuit Description
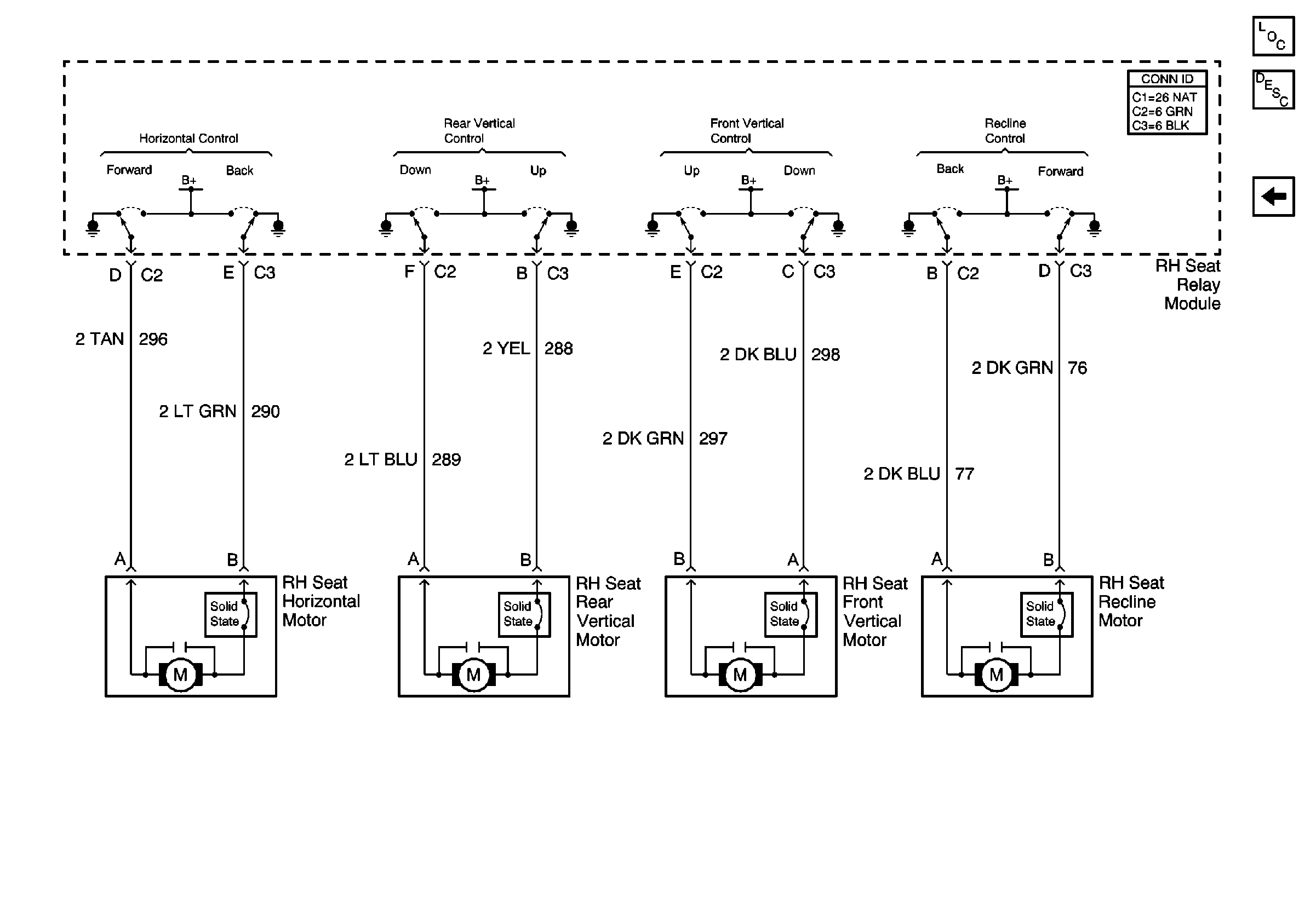
Cell 140: RH Seat Motors
Cell 140: LH Seat Motors w/o A45
Power Distribution Schematics
Power Distribution Schematics
Power Seat Connector End Views
Handling ESD Sensitive Parts Notice
Ground Distribution Schematics
Ground Distribution Schematics
Ground Distribution Schematics

Cell 140: RH Seat Motors


Object Number: 318367  Size: FS
Power Seat Systems Components
Power Seats Circuit Description
Power Seat Connector End Views
Cell 140: RH Seat Switch

Power Seats Schematics Eldorado

Cell 140: LH Power Seat w/o A45


Object Number: 318369  Size: FS
Power Seat Systems Components
Power Seats Circuit Description
Cell 140: RH Power Seat
Power Distribution Schematics
Power Distribution Schematics
Ground Distribution Schematics

Cell 140: RH Power Seat


Object Number: 318370  Size: FS
Power Seat Systems Components
Power Seats Circuit Description
Cell 140: LH Power Seat w/o A45
Power Distribution Schematics
Power Distribution Schematics
Ground Distribution Schematics