GM Service Manual Online
For 1990-2009 cars only

Headlining Trim Panel Replacement DeVille

Removal Procedure

    Important: Remove the rear vanity mirrors before you remove any other components in order to avoid damage to the vehicle.

  1. Remove the rear vanity mirror assemblies, if equipped. Refer to Vanity Mirror Replacement .
  2. Remove the rear quarter trim panels. Refer to Quarter Upper Trim Panel Replacement .
  3. Remove the windshield pillar garnish moldings. Refer to Windshield Pillar Garnish Molding Replacement .
  4. Remove the body lock pillar trim panel. Refer to Body Lock Pillar Trim Replacement .
  5. Disconnect the electrical connector at the rear quarters.
  6. Remove the 4 passenger assist straps. Refer to Assist Strap Replacement .
  7. Remove the rear courtesy/reading lamp assemblies. Refer to Roof Rail Rear Courtesy Lamp Replacement in Lighting Systems.

  8. Object Number: 401817  Size: SH
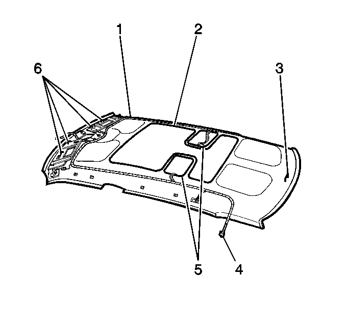
  9. Disengage the locator by pulling down on the locator behind the attachment point at the rear (3).
  10. Position the seats fully rearward.
  11. Recline the seats.
  12. Remove the sunshade assemblies. Sunshade Replacement .
  13. Remove the rearview mirror assembly. Refer to Inside Rearview Mirror Replacement in Stationary Windows.
  14. Remove the overhead roof console. Refer to Roof Console Replacement .
  15. Release the tabs (3) that attach the roof console to the support.
  16. Notice: If the vehicle is equipped with rear vanity mirrors, the rear vanity mirrors must be removed before the removal of the headliner or damage to the roof may result.

  17. Remove the rear vanity mirrors. Refer to Vanity Mirror Replacement .
  18. Important: Installation of a new cardboard roof insulator is necessary to ensure the acoustical integrity of the roof system. Use GM P/N 12378192 Adhesive available through General Motors Service Parts Operations.

  19. Pull the headliner down in order to release the headliner from the cardboard roof damper.
  20. Pull downward the front of the headliner (1) (without a sunroof) at the rear vanity mirror locations (5).

  21. Object Number: 401818  Size: SH
  22. Pull downward the front of the headliner  (1) (with a sunroof) at the auxiliary sunshade locations (5).
  23. Release the 2 clips from each sunshade.
  24. Release the hook and loop strips above the driver door and around the sunroof opening, if equipped.
  25. Notice: Use care when removing and installing the headliner. If reusing the headliner lay the headliner down flat on a clean surface. Excessive bending will damage the headliner.

  26. Remove the headliner through the right front door, with the aid from an assistant.

Installation Procedure


    Object Number: 401818  Size: SH
  1. Install the headliner through the right front door, with the aid from an assistant.
  2. Engage the rear locator clips (2).
  3. Install the rear vanity mirrors (if equipped). Refer to Vanity Mirror Replacement .
  4. Press the rear vanity mirror clips into place (5).
  5. Attach the hook and loop strips above the driver door and around the sunroof opening, if equipped.
  6. Install the rearview mirror assembly. Refer to Inside Rearview Mirror Replacement in Stationary Windows.
  7. Install the sunshade assemblies. Refer to Sunshade Replacement .
  8. Install the overhead console. Refer to Roof Console Replacement .

  9. Object Number: 401818  Size: SH
  10. Install the rear courtesy/reading lamp assemblies. Refer to Roof Rail Rear Courtesy Lamp Replacement in Lighting Systems.
  11. Install the passenger assist strips. Refer to Assist Strap Replacement .
  12. Connect the electrical connectors (3).
  13. Install the body lock pillar trim panel. Refer to Body Lock Pillar Trim Replacement .
  14. Install the windshield garnish moldings. Refer to Body Lock Pillar Trim Replacement .
  15. Install the rear view mirror. Refer to Inside Rearview Mirror Replacement .
  16. Install the rear quarter trim panels. Refer to Quarter Upper Trim Panel Replacement .

Headlining Trim Panel Replacement Eldorado

Removal Procedure


    Object Number: 401818  Size: SH
  1. Remove both of the quarter trim panels. Refer to Quarter Upper Trim Panel Replacement .
  2. Remove both of the windshield pillar garnish moldings. Refer to Windshield Pillar Garnish Molding Replacement .
  3. Remove both of the shoulder belts to headlining escutcheons. Refer to Seat Belt Replacement - Center in Restraints.
  4. Remove the electrical connectors (4) at the rear quarters.
  5. Remove the roof mounted lamps. Refer to Roof Rail Rear Courtesy Lamp Replacement in Lighting Systems.
  6. Remove the sunshades. Refer to Sunshade Replacement .
  7. Remove the overhead console. Refer to Roof Console Replacement .
  8. Remove the auxiliary sunshade supports.
  9. Pull down at the attachments in order to detach the hook and loop (4).
  10. Important: Installation of a new cardboard roof insulator is necessary to ensure the acoustical integrity of the roof system. Use GM P/N 12378192 Adhesive available through General Motors Service Parts Operations.

  11. For vehicles without a sunroof, separate the headliner from the cardboard roof dampener. The dampener is glued to the roof.
  12. Notice: Use care when removing and installing the headliner. If reusing the headliner lay the headliner down flat on a clean surface. Excessive bending will damage the headliner.

  13. Remove the headliner (1) through the right front door, with the aid from an assistant.

Installation Procedure

    Important: Do not pinch the vanity mirror wires when you install the sunshade support fasteners.

  1. Complete the following steps with the aid from of an assistant:
  2. 1.1. Install the headliner with the aid from an assistant.

    Object Number: 401818  Size: SH
    1.2. Engage the locator at the rear (2).
    1.3. Attach the sunshade supports (5). Refer to Vanity Mirror Replacement .
  3. Install the interior roof mounted lamps. Refer to Roof Rail Rear Courtesy Lamp Replacement in Lighting Systems.
  4. Install the sunshades. Refer to Sunshade Replacement .
  5. Install the overhead console. Refer to Roof Console Replacement .
  6. Connect the electrical connectors (3) at the rear quarters.
  7. Install both of the shoulder belt to headlining escutcheons. Refer to Seat Belt Replacement - Center in Restraints.
  8. Install both of the windshield pillar garnish moldings. Refer to Windshield Pillar Garnish Molding Replacement .
  9. Install the quarter trim panels. Refer to Quarter Upper Trim Panel Replacement .
  10. Important: It is not necessary to glue the headliner to the cardboard roof dampener.

  11. Press the headliner (1) firmly at the hook and loop locations (4).