GM Service Manual Online
For 1990-2009 cars only
Makes
🢒
Cadillac
🢒
1999
🢒
Eldorado
🢒 Cell 117: Headlamp Switch
Cell 117: Headlamp Switch
Cell 117: Headlamp Switch
Lighting Systems Components
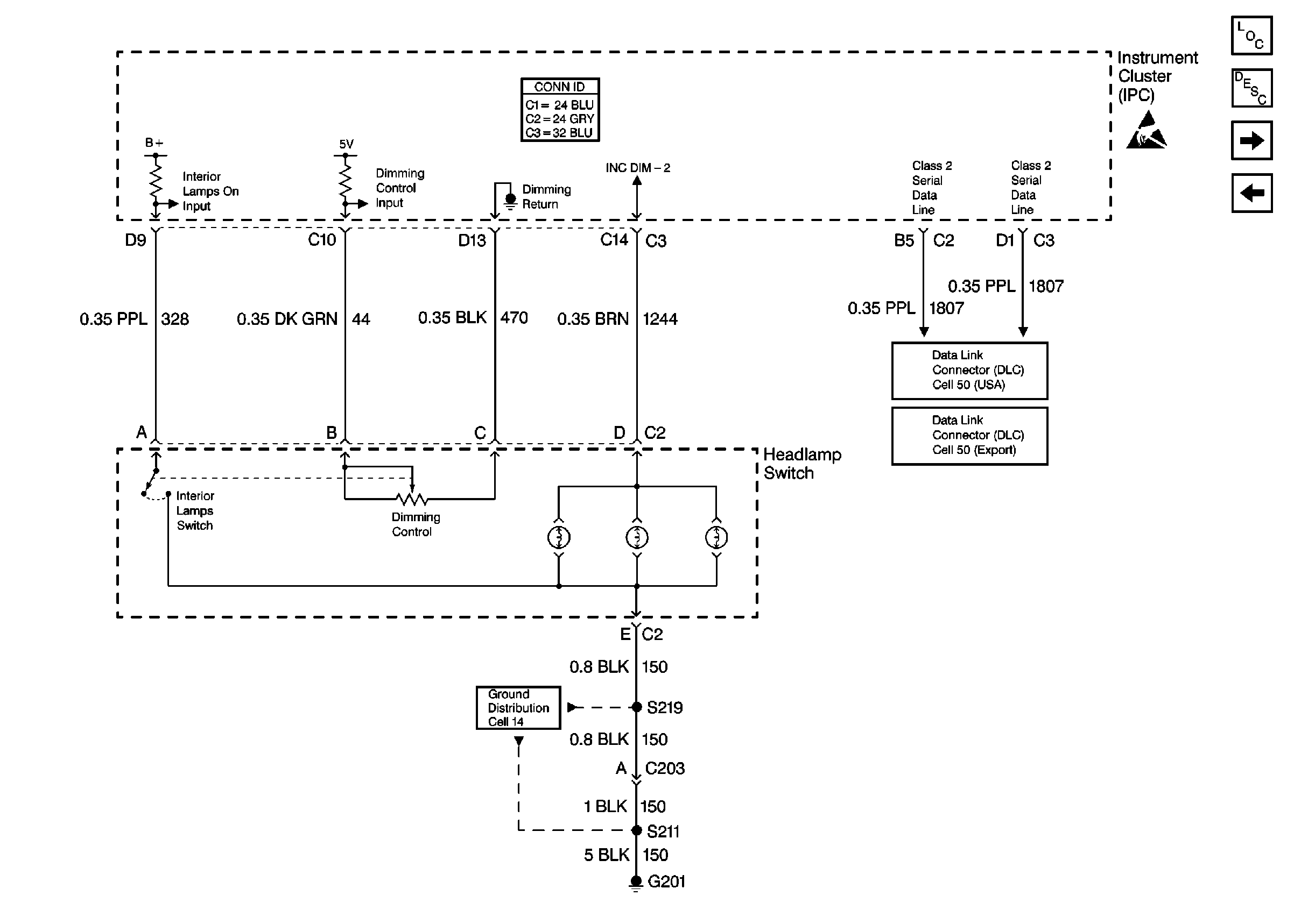
Interior Lights Dimming Circuit Description
Cell 117: Front Door Backlighting - DeVille
Cell 117: PWR, GND, and Ambient Light Sensor
Handling ESD Sensitive Parts Notice
Cell 50: Class 2
Cell 50: Class 2
Ground Distribution Schematics
Instrument Panel, Gages, and Console Connector End Views