GM Service Manual Online
For 1990-2009 cars only
Makes
🢒
Cadillac
🢒
1999
🢒
Eldorado
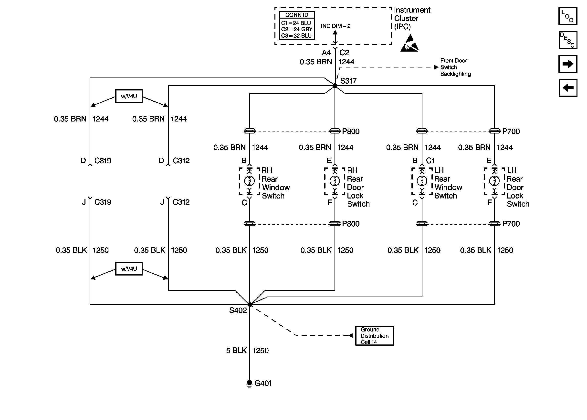
🢒 Cell 117: Rear Door Backlighting - DeVille
Cell 117: Rear Door Backlighting - DeVille
Cell 117: Rear Door Backlighting -- DeVille
Lighting Systems Components
Interior Lights Dimming Circuit Description
Cell 117: Front Door Backlighting - Eldorado
Cell 117: Front Door Backlighting - DeVille
Cell 117: Front Door Backlighting - DeVille
Ground Distribution Schematics
Handling ESD Sensitive Parts Notice
Instrument Panel, Gages, and Console Connector End Views