GM Service Manual Online
For 1990-2009 cars only
Makes
🢒
Cadillac
🢒
1999
🢒
Eldorado
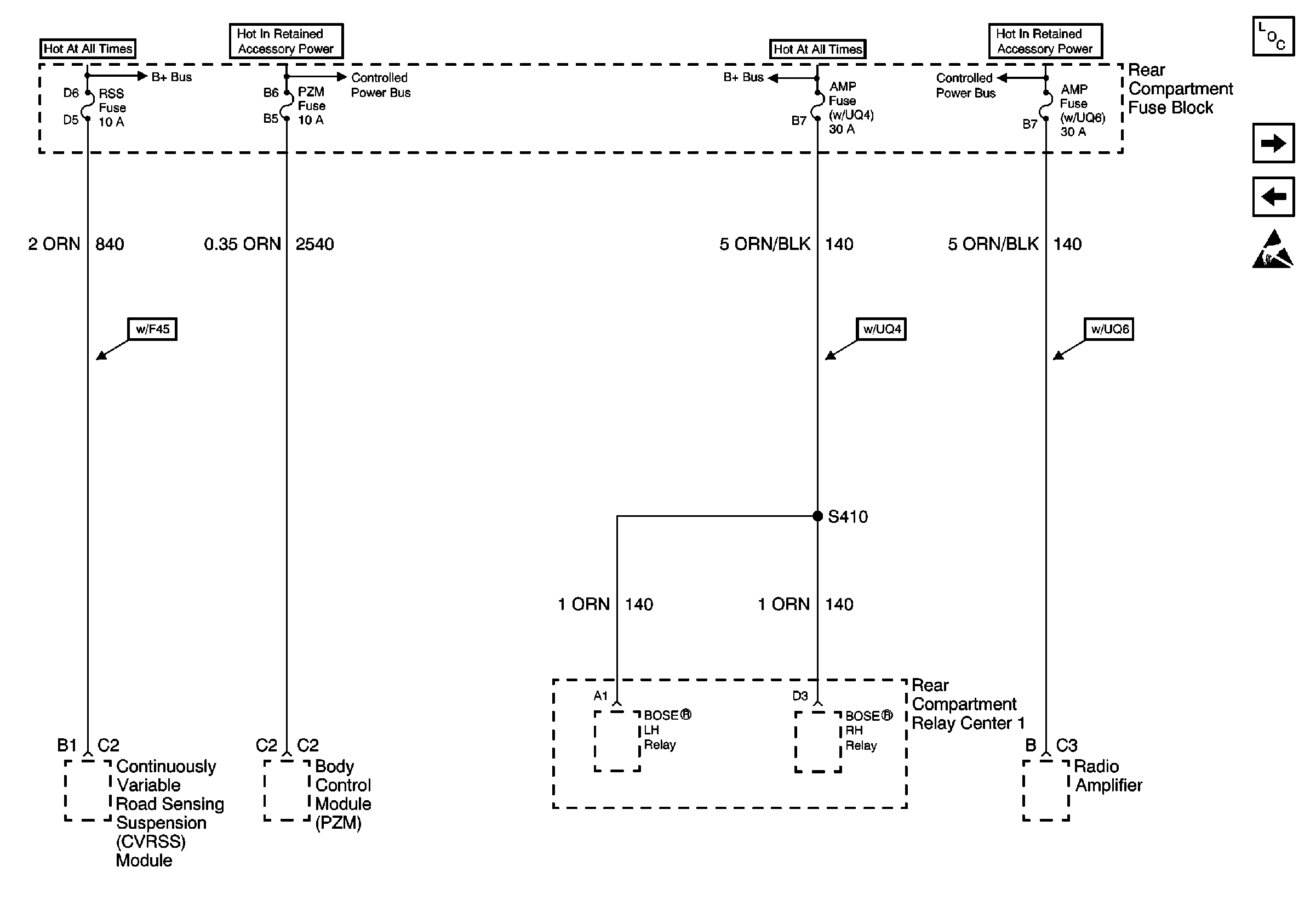
🢒 Cell 10: RSS, PZM, and AMP Fuses
Cell 10: RSS, PZM, and AMP Fuses
Cell 10: RSS, PZM, and AMP Fuses
Power and Grounding Components
Cell 10: RT PARK Fuse (DeVille)
Cell 10: ANTENNA, HTD MIR, RSS, and HTD BACKLIT Fuses
Handling ESD Sensitive Parts Notice
Cell 10: BODY 1 Fuse
Cell 10: BODY 3 Fuse
Cell 10: BODY 3 Fuse
Cell 10: BODY 3 Fuse