GM Service Manual Online
For 1990-2009 cars only

Object Number: 315451  Size: LF
HVAC Components
(Cell 67 (2 of 2))
Handling ESD Sensitive Parts Notice
Handling ESD Sensitive Parts Notice
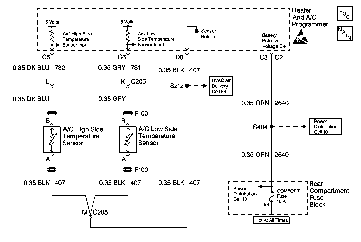
Cell 68: Temperature Sensors
Cell 10: COMFORT Fuse
Cell 10: COMFORT Fuse

Circuit Description

The high side temperature sensor is a thermistor that controls the signal voltage to the heater and A/C programmer. The heater and A/C programmer supplies voltage on CKT 732. When the sensor is cold, the following conditions exist:

    • The resistance is high.
    • The heater and A/C programmer reads a high signal voltage at pin C5.

When the sensor warms, the following actions occur:

    • The resistance is reduced
    • The signal voltage is pulled low through CKT 407.

The signal voltage varies from 5 V (open circuit) to 0 V (short circuit).

Conditions for Running the DTC

    • Turn the ignition to the ON position. The DTC B1310 is not set.
    • The ambient temperature is greater than -1°C (30°F).

Action Taken When the DTC Sets

    • The high cooling fans operate when the A/C compressor operation is possible.
    • A default value of 79°C (144°F) is substituted in order to continue the operation of the system.

Notes On Intermittents

In some vehicles this DTC may set intermittently if the sensor temperature falls below -1°C (30°F). The DTC will become history after the sensor temperature increases.

If an intermittent DTC B1311 is set, connect the Scan Tool . Select the following options:

    • Data list
    • Open/shorts data
    • Observe the reading

Manipulate the wiring while observing the Scan Tool . If a failure is induced, the reading will jump. Inspect for the following conditions:

    • A poor terminal contact
    • An obstructed or defective sensor

Test Description

  1. Perform the Diagnostic System Check before continuing with the diagnosis of this DTC.

  1. The Scan Tool displays the high side temperature. Jumping the harness connector determines if the wiring or the sensor is the cause.

Step

Action

Value(s)

Yes

No

1

Did you perform the diagnostic system check?

--

Go to Step 2

Go to Diagnostic System Check

2

  1. Turn the ignition to the ON position.
  2. Connect the Scan Tool .
  3. Disconnect the sensor and attach a jumper between the terminals.

Did the DTC change from B1312 to B1313?

--

Go to Step 4

Go to Step 3

3

Measure the voltage at terminal B.

Is the measured voltage approximately equal to the specified value?

5 V

Go to Step 6

Go to Step 5

4

  1. Replace the sensor. Refer to Temperature Sensor Replacement - High Side
  2. Using the Scan Tool clear the codes.

Is the repair complete?

--

System OK

--

5

Measure the voltage at terminal C5.

Is the measured voltage approximately equal to the specified value?

5 V

Go to Step 8

Go to Step 7

6

  1. Repair the open in CKT 407 between terminal A and connector 205.
  2. Using the Scan Tool clear the codes.

Is the repair complete?

--

Go to Diagnostic System Check

--

7

  1. Inspect the terminal contact.
  2. If OK, replace the heater and A/C programmer. Refer to Programmer Replacement
  3. Using the Scan Tool clear the codes.

Is the repair complete?

--

Go to Diagnostic System Check

--

8

  1. Repair the open in CKT 732.
  2. Using the Scan Tool clear the codes.

Is the repair complete?

--

Go to Diagnostic System Check

--