 
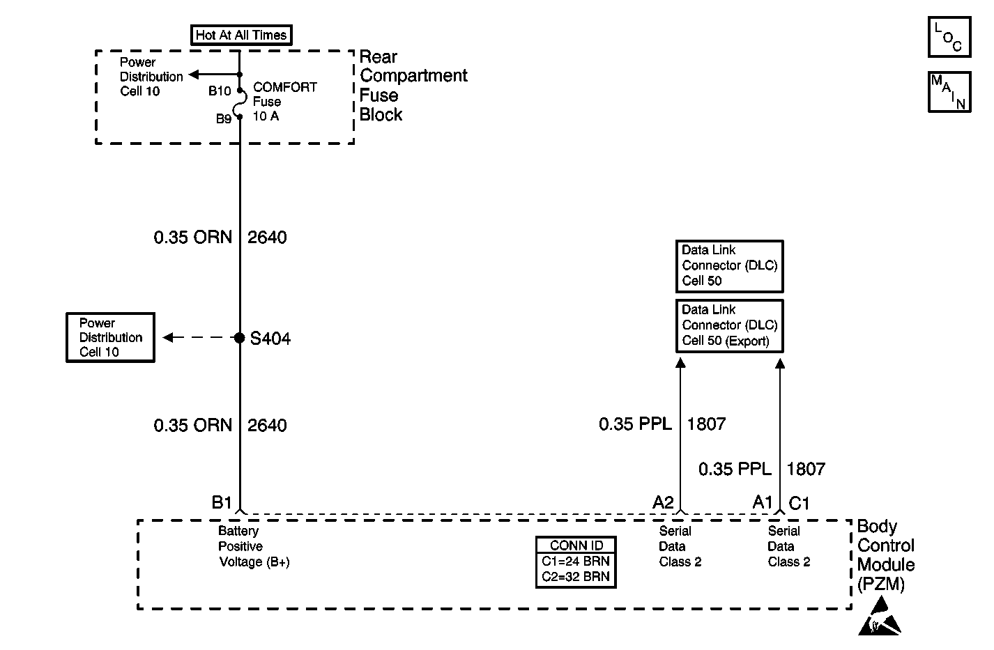
Battery voltage is supplied to the body control module (PZM) at connector C1 terminal B1. While the PZM is awake the battery voltage at connector C1 terminal B3 is measured every 300 ms.
The battery voltage measured at connector C1 terminal B1 is less than 9 volts for 4 monitoring cycles.
When DTC B1983 is current, class 2 loss of serial data DTCs will not be set.
| • | The battery voltage is more than 9.5 volts in the next monitoring cycle. | 
| • | A history code clears after 50 consecutive ignition cycles if the condition is no longer present. | 
Use a scan tool in order to monitor the battery voltage display of several modules. If the displayed battery voltage is 9 volts or less, refer to Charging System Check in Engine Electrical.
| Step | Action | Value(s) | Yes | No | 
|---|---|---|---|---|
| 1 | Was the Body Control Module Diagnostic System Check performed? | Go to Step 2 | ||
| 2 | 
 Retrieve the IPC DTCs? Is DTC B1983 current? | -- | Go to Charging System Check in Engine Electrical | Go to Step 3 | 
| 3 | 
 Is the voltage within the specified range? | 10-15 V | Go to Step 4 | Go to Step 5 | 
| 4 | Replace the PZM. Refer to Body Control Module Replacement . Is the repair complete? | -- | -- | |
| 5 | Repair the high resistance in CKT 2640 (ORN). Is the repair complete? | -- | -- |