GM Service Manual Online
For 1990-2009 cars only
Makes
🢒
Cadillac
🢒
2000
🢒
Eldorado
🢒
Body and Accessories
🢒
Body Control System
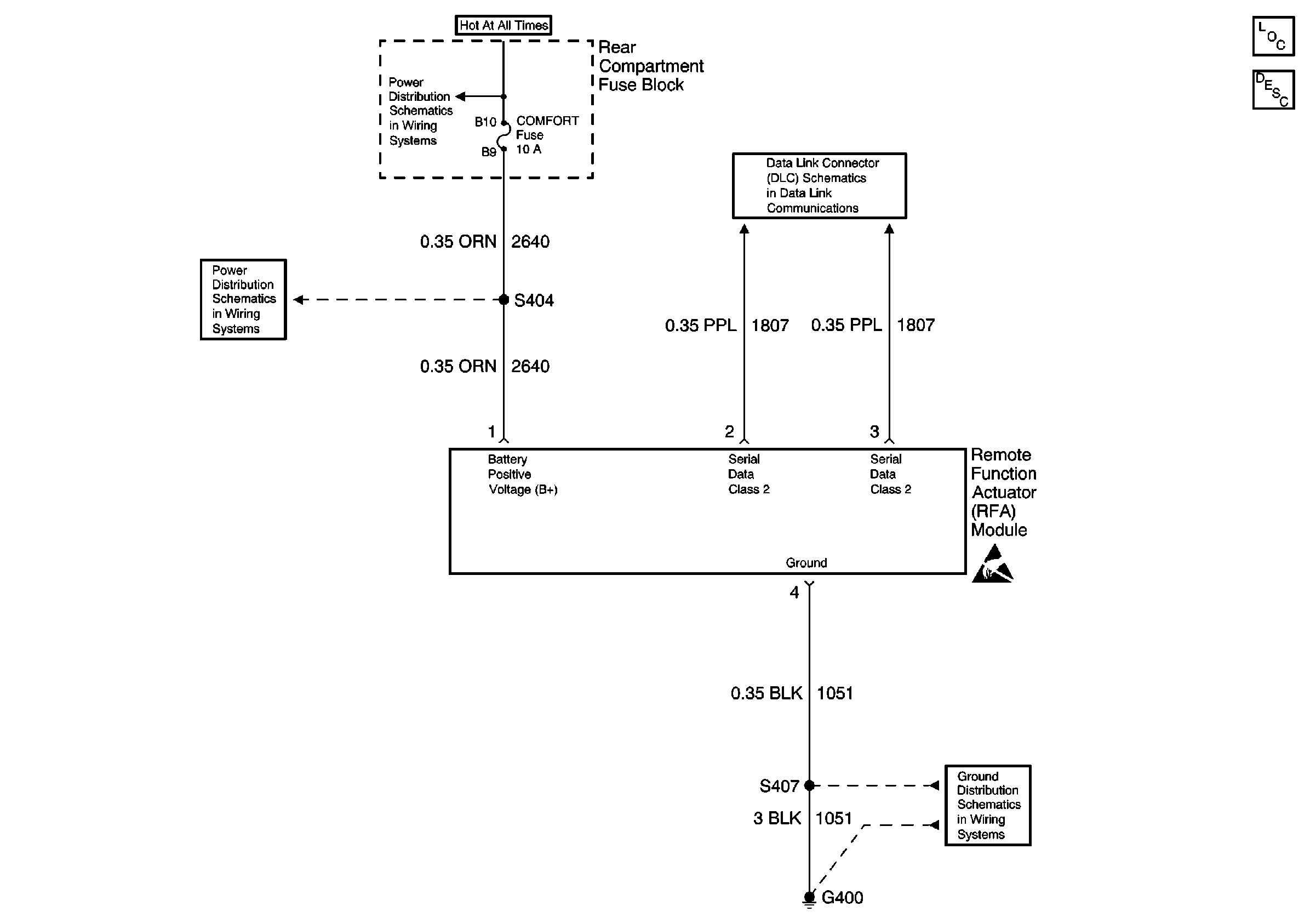
🢒 Keyless Entry Schematics
COMFORT Fuse
BODY 3 and INADVERT Fuses
G400
Handling ESD Sensitive Parts Notice
Keyless Entry Components
Keyless Entry System Description
Power, Ground, and Class 2 (1 of 2)