GM Service Manual Online
For 1990-2009 cars only
Makes
🢒
Cadillac
🢒
2000
🢒
Eldorado
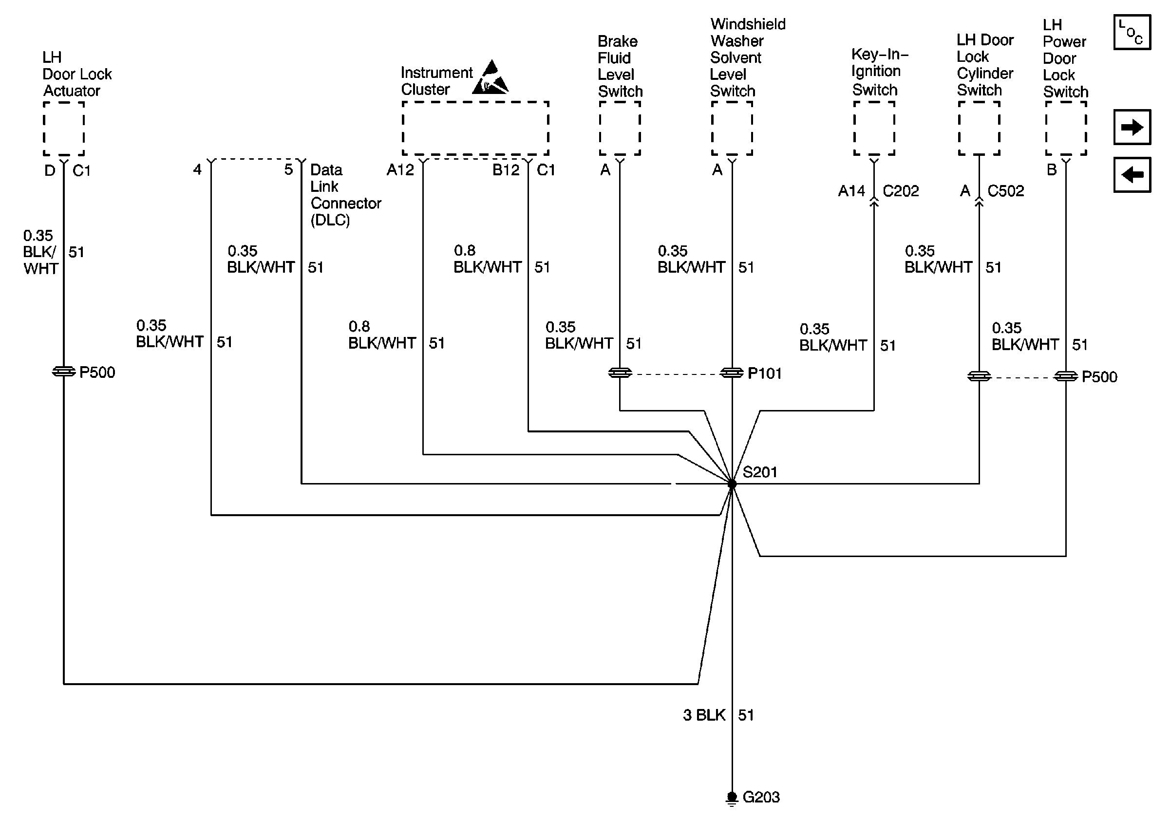
🢒 G203
G203
G203
Handling ESD Sensitive Parts Notice
Power and Grounding Components
G204
G201