GM Service Manual Online
For 1990-2009 cars only
Makes
🢒
Cadillac
🢒
2000
🢒
Eldorado
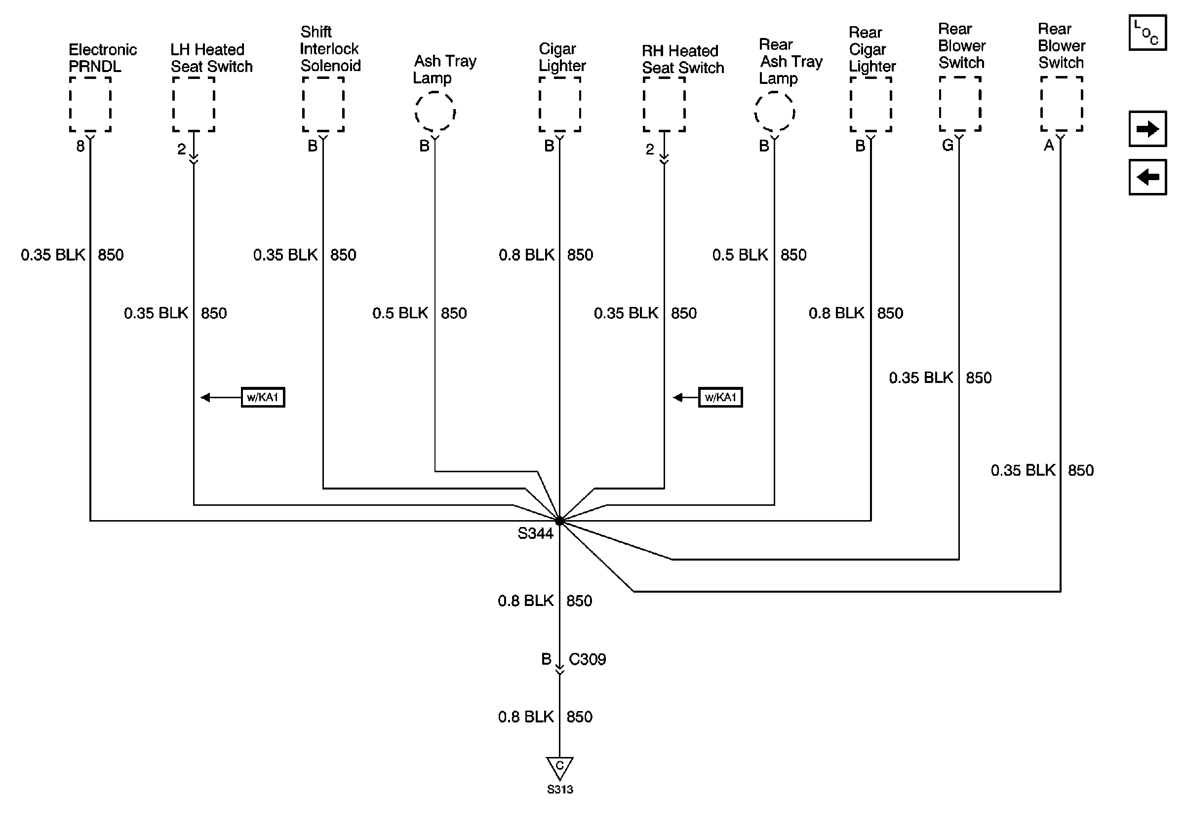
🢒 G302 (2 of 2)
G302 (2 of 2)
G302 (2 of 2)
Power and Grounding Components
G400
G302 (1 of 2)
G302 (1 of 2)